TOP
|
特許
|
意匠
|
商標
特許ウォッチ
Twitter
他の特許を見る
公開番号
2025144456
公報種別
公開特許公報(A)
公開日
2025-10-02
出願番号
2024044242
出願日
2024-03-19
発明の名称
腐食モニタリング装置の製造方法及び腐食モニタリング装置
出願人
日本製鉄株式会社
代理人
弁理士法人まこと国際特許事務所
主分類
G01N
27/04 20060101AFI20250925BHJP(測定;試験)
要約
【課題】土中に埋設される金属片の腐食量を高精度にモニタリング可能な腐食モニタリング装置の製造方法を提供する。
【解決手段】土中に埋設される金属片11を備えた、腐食モニタリング装置100の製造方法であって、土中に含まれる塩化物イオン濃度と、土中に埋設された金属片と同種の試料に発生した局部腐食の大きさ、個数との相関関係である第1相関関係及び第2相関関係を予め取得するステップST1と、金属片が埋設される土中に含まれる塩化物イオン濃度を測定するステップST2と、測定した塩化物イオン濃度と、第1相関関係及び第2相関関係とに基づき、金属片に発生する局部腐食の大きさ及び個数を予測するステップST3と、予測した局部腐食の大きさ及び個数を用いた数値解析を行うことで、金属片の電気抵抗値の計測誤差を低減し得る、金属片の幅、長さ及び初期の厚みを決定するステップST4と、金属片を作製するステップST5と、を有する。
【選択図】 図3
特許請求の範囲
【請求項1】
土中に埋設される金属片と、
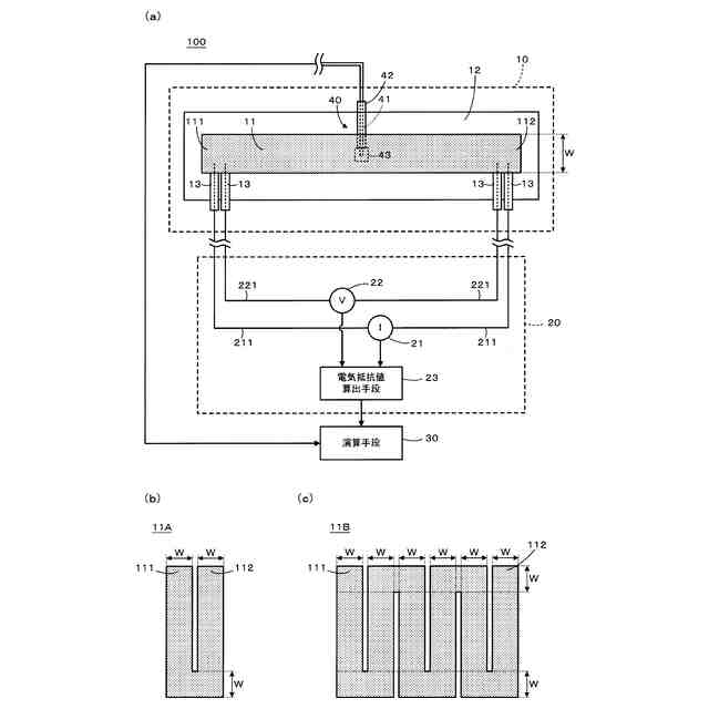
前記金属片に通電することで、前記金属片の電気抵抗値を計測する電気抵抗計測手段と、
前記電気抵抗計測手段によって計測された前記金属片の電気抵抗値に基づき、前記金属片の腐食量を算出する演算手段と、
を備えた、腐食モニタリング装置の製造方法であって、
土中に含まれる塩化物イオンの濃度Cと、前記土中に埋設された前記金属片と同種の試料に発生した局部腐食の大きさDとの相関関係である第1相関関係D=f
1
(C)、及び、前記土中に含まれる塩化物イオンの濃度Cと、前記土中に埋設された前記試料に発生した局部腐食の個数Nとの相関関係である第2相関関係N=f
2
(C)を予め取得する相関関係取得ステップと、
前記腐食モニタリング装置が備える前記金属片が埋設される土中に含まれる塩化物イオンの濃度C’を測定する濃度測定ステップと、
前記測定した塩化物イオンの濃度C’と、前記第1相関関係D=f
1
(C)及び前記第2相関関係N=f
2
(C)とに基づき、前記金属片に発生する局部腐食の大きさD’及び個数N’を予測する予測ステップと、
前記予測した前記金属片に発生する前記局部腐食の大きさD’及び個数N’を用いた数値解析を行うことで、前記電気抵抗計測手段によって計測される前記金属片の電気抵抗値の前記局部腐食に起因した計測誤差を低減し得る、前記金属片の幅W、長さL及び初期の厚みt
ini
を決定する数値解析ステップと、
前記決定した前記金属片の幅W、長さL及び初期の厚みt
ini
に従って、前記金属片を作製する金属片作製ステップと、を有する、
腐食モニタリング装置の製造方法。
続きを表示(約 570 文字)
【請求項2】
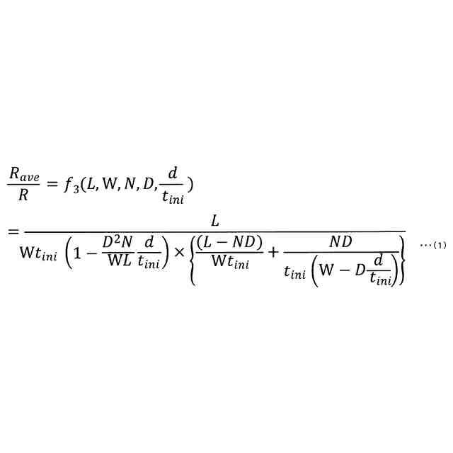
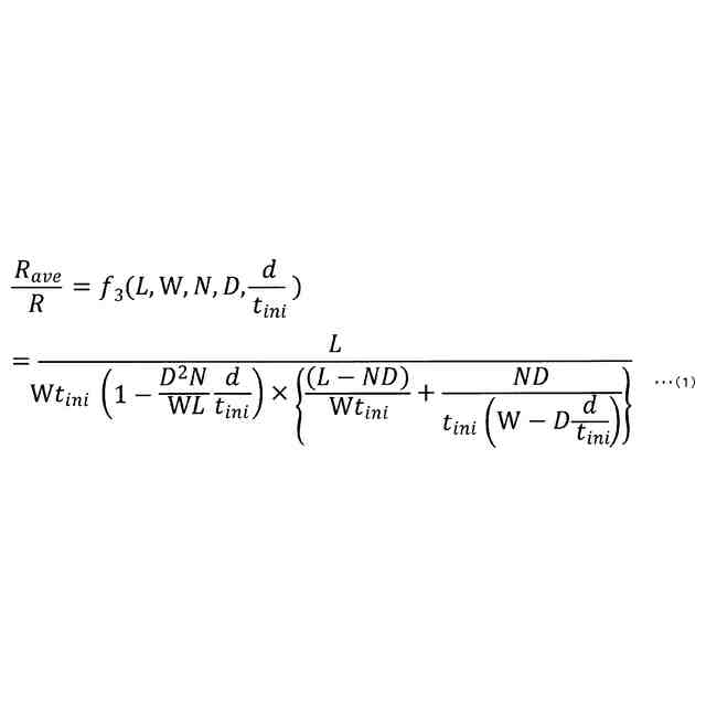
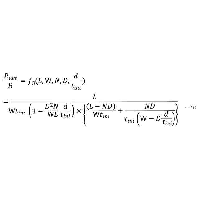
前記数値解析ステップにおいて、以下の式(1)のDに前記予測したD’を代入し、Nに前記予測したN’を代入し、dに発生し得る前記局部腐食の最大深さd
max
を代入することで算出されるR
ave
/Rの値が、所定のしきい値以上となるように、前記金属片の幅W、長さL及び初期の厚みt
ini
を決定する、
請求項1に記載の腐食モニタリング装置の製造方法。
TIFF
2025144456000004.tif
47
166
上記の式(1)において、dは、局部腐食を有する金属片の解析モデル(局部腐食解析モデル)に設定する局部腐食の深さを意味する。Rは、局部腐食解析モデルについて数値解析を行うことで算出される局部腐食解析モデルの電気抵抗値を意味する。R
ave
は、腐食が上面全体に均等に発生し、その腐食の総体積が局部腐食解析モデルと等しい金属片の解析モデル(全面腐食解析モデル)について数値解析を行うことで算出される全面腐食解析モデルの電気抵抗値を意味する。
【請求項3】
請求項1又は2に記載の製造方法によって製造され、塩化物イオンを含む土中に前記金属片が埋設される、
腐食モニタリング装置。
発明の詳細な説明
【技術分野】
【0001】
本発明は、土中に埋設される金属片の腐食量を高精度にモニタリング可能な腐食モニタリング装置の製造方法、及び、この製造方法によって製造される腐食モニタリング装置に関する。
続きを表示(約 3,400 文字)
【背景技術】
【0002】
土中環境で使用される金属製品(例えば、土中環境で使用される土木建材製品である鋼矢板や鋼管杭等)の寿命予測や維持管理、或いは、耐食性に優れた製品を開発する上で、土中に埋設される金属片の腐食量を高精度にモニタリングできる装置が望まれている。
【0003】
金属片の腐食量をモニタリング可能な手段の一つとして、特許文献1~3に記載のような電気抵抗式の腐食センサが挙げられる。電気抵抗式の腐食センサは、腐食センサを構成する金属片の腐食減肉に伴う電気抵抗値の増加に基づき、金属片の腐食量(腐食減肉量)を計測するものである。この腐食センサは、原理的に、金属片全体の平均的な電気抵抗値、ひいては金属片全体の平均的な腐食量を計測していることになる。
【0004】
しかしながら、特許文献1~3に記載の腐食センサは、大気環境での腐食量を計測することを想定しており、土中環境での腐食量を計測することは考慮されていない。本発明者らがこの腐食センサを土中環境で使用することを検討したところ、精度良く計測できない場合のあることが分かった。また、本発明らがこの腐食センサを土中環境で使用することを検討したところ、土中に含まれる塩化物イオンの濃度に応じて腐食の形態が異なることが分かった。
【先行技術文献】
【特許文献】
【0005】
特開2017-3376号公報
特開2016-197102号公報
国際公開第2021/235475号
【発明の概要】
【発明が解決しようとする課題】
【0006】
本発明は、上記のような従来技術の問題点を解決するためになされたものであり、土中に埋設される金属片の腐食量を高精度にモニタリング可能な腐食モニタリング装置の製造方法及び腐食モニタリング装置を提供することを課題とする。
【課題を解決するための手段】
【0007】
前記課題を解決するため、本発明者らは、土中に埋設された金属片の腐食状況を鋭意調査した。図1は、土中に埋設された金属片の腐食状況を調査した結果の一例を示す図である。図1の丸で囲った部分が局部的に腐食した部分である。なお、図1は、腐食性の厳しい実土壌中に、金属片として鋼管(材質:SS400、外径:約100mm)を埋設し、1年以上経過後の腐食状況を確認した結果(金属片を部分的に撮像した画像)である。
図1に示すように、土中に埋設された金属片の場合、金属片全体が均等に腐食するのではなく、局部的に腐食する状況になることが分かった。図1に示す例では、局部腐食の大きさは5mm×5mm程度であり、深さは最大で0.9mm程度であった。
ただし、土中に含まれる塩化物イオンの濃度に応じて、図1に示すような金属片に発生する局部腐食の形態が変化することが分かった。具体的には、本発明者らが鋭意検討した結果、局部腐食の大きさ及び個数が、それぞれ土中に含まれる塩化物イオンの濃度と相関を有することが分かった。
【0008】
一方、本発明者らは、数値解析(具体的には後述する)によって、腐食センサを土中環境で使用した場合に腐食量の計測精度(具体的には、金属片の平均的な電気抵抗値の計測精度)が悪化する原因が、上記のような局部腐食にあることを見出した。そして、本発明者らは、発生し得る局部腐食の大きさ及び個数を設定した数値解析を行うことで、腐食センサによる腐食量の計測誤差(具体的には、金属片の平均的な電気抵抗値の計測誤差)を低減し得る金属片の幅、長さ及び初期の厚みを決定できることを見出した。金属片に発生し得る局部腐食の大きさ及び個数は、前述のように、土中に含まれる塩化物イオンの濃度と相関を有するため、この相関関係を、金属片と同種(同じ材質)の試料を用いて予め取得しておくと共に、金属片が埋設される土中に含まれる塩化物イオンの濃度を測定すれば、この測定した塩化物イオンの濃度と、前記相関関係とから、金属片に発生する局部腐食の大きさ及び個数を予測でき、この予測値を設定した数値解析を行うことで、腐食センサによる腐食量の計測誤差(金属片の平均的な電気抵抗値の計測誤差)を低減し得る金属片の幅、長さ及び初期の厚みを決定できる。
【0009】
本発明は、本発明者らの上記の知見に基づき完成したものである。
すなわち、前記課題を解決するため、本発明は、土中に埋設される金属片と、前記金属片に通電することで、前記金属片の電気抵抗値を計測する電気抵抗計測手段と、前記電気抵抗計測手段によって計測された前記金属片の電気抵抗値に基づき、前記金属片の腐食量を算出する演算手段と、を備えた、腐食モニタリング装置の製造方法であって、土中に含まれる塩化物イオンの濃度Cと、前記土中に埋設された前記金属片と同種の試料に発生した局部腐食の大きさDとの相関関係である第1相関関係D=f
1
(C)、及び、前記土中に含まれる塩化物イオンの濃度Cと、前記土中に埋設された前記試料に発生した局部腐食の個数Nとの相関関係である第2相関関係N=f
2
(C)を予め取得する相関関係取得ステップと、前記腐食モニタリング装置が備える前記金属片が埋設される土中に含まれる塩化物イオンの濃度C’を測定する濃度測定ステップと、前記測定した塩化物イオンの濃度C’と、前記第1相関関係D=f
1
(C)及び前記第2相関関係N=f
2
(C)とに基づき、前記金属片に発生する局部腐食の大きさD’及び個数N’を予測する予測ステップと、前記予測した前記金属片に発生する前記局部腐食の大きさD’及び個数N’を用いた数値解析を行うことで、前記電気抵抗計測手段によって計測される前記金属片の電気抵抗値の前記局部腐食に起因した計測誤差を低減し得る、前記金属片の幅W、長さL及び初期の厚みt
ini
を決定する数値解析ステップと、前記決定した前記金属片の幅W、長さL及び初期の厚みt
ini
に従って、前記金属片を作製する金属片作製ステップと、を有する、腐食モニタリング装置の製造方法を提供する。
【0010】
本発明によれば、相関関係取得ステップにおいて、土中に含まれる塩化物イオンの濃度Cと、土中に埋設された金属片と同種の試料に発生した局部腐食の大きさDとの相関関係である第1相関関係D=f
1
(C)、及び、土中に含まれる塩化物イオンの濃度Cと、土中に埋設された金属片と同種の試料に発生した局部腐食の個数Nとの相関関係である第2相関関係N=f
2
(C)が予め取得される。
そして、濃度測定ステップにおいて、腐食モニタリング装置が備える金属片が埋設される土中に含まれる塩化物イオンの濃度C’を測定することで、予測ステップにおいて、測定した塩化物イオンの濃度C’と、第1相関関係D=f
1
(C)及び第2相関関係N=f
2
(C)とに基づき(第1相関関係及び第2相関関係が塩化物イオンの濃度Cの関数で表されるときには、各関数のCにC’を代入することで)、金属片に発生する局部腐食の大きさD’及び個数N’を予測可能である。
このため、数値解析ステップにおいて、予測した金属片に発生する局部腐食の大きさD’及び個数N’を用いた(設定した)数値解析を行うことで、電気抵抗計測手段によって計測される金属片の電気抵抗値の局部腐食に起因した計測誤差を低減し得る、金属片の幅W、長さL及び初期の厚みt
ini
を決定することができる。
最後に、金属片作製ステップにおいて、決定した金属片の幅W、長さL及び初期の厚みt
ini
に従って、金属片を作製すれば、この金属片が埋設される土中に含まれる塩化物イオンの濃度に関わらず、金属片の腐食量を高精度にモニタリング可能な腐食モニタリング装置を製造可能である。
(【0011】以降は省略されています)
この特許をJ-PlatPat(特許庁公式サイト)で参照する
関連特許
日本製鉄株式会社
鋼材
1か月前
日本製鉄株式会社
鋼材
1か月前
日本製鉄株式会社
車輪
1か月前
日本製鉄株式会社
鋼材
1か月前
日本製鉄株式会社
鋼材
1か月前
日本製鉄株式会社
床構造
7日前
日本製鉄株式会社
ボルト
7日前
日本製鉄株式会社
剪断機
7日前
日本製鉄株式会社
床構造
7日前
日本製鉄株式会社
ボルト
1か月前
日本製鉄株式会社
管理装置
28日前
日本製鉄株式会社
耐摩耗鋼
1か月前
日本製鉄株式会社
構造部材
17日前
日本製鉄株式会社
筒型構造
1か月前
日本製鉄株式会社
耐火構造物
19日前
日本製鉄株式会社
耐火構造物
19日前
日本製鉄株式会社
リクレーマ
28日前
日本製鉄株式会社
耐火構造物
19日前
日本製鉄株式会社
高Ni合金板
28日前
日本製鉄株式会社
転炉精錬方法
17日前
日本製鉄株式会社
鋼の製造方法
1か月前
日本製鉄株式会社
高炉操業方法
1か月前
日本製鉄株式会社
高炉の操業方法
27日前
日本製鉄株式会社
ステンレス鋼板
1か月前
日本製鉄株式会社
溶鉄の製造方法
1か月前
日本製鉄株式会社
高炉の冷却構造
1か月前
日本製鉄株式会社
高炉の操業方法
25日前
日本製鉄株式会社
焼結鉱の製造方法
17日前
日本製鉄株式会社
焼結鉱の製造方法
1か月前
日本製鉄株式会社
スポット溶接継手
25日前
日本製鉄株式会社
焼結鉱の製造方法
25日前
日本製鉄株式会社
合成梁及び床構造
17日前
日本製鉄株式会社
合成梁及び床構造
17日前
日本製鉄株式会社
鋼の連続鋳造方法
3日前
日本製鉄株式会社
金属材の製造方法
3日前
日本製鉄株式会社
鉄源の溶解精錬方法
1か月前
続きを見る
他の特許を見る