TOP
|
特許
|
意匠
|
商標
特許ウォッチ
Twitter
他の特許を見る
10個以上の画像は省略されています。
公開番号
2025144272
公報種別
公開特許公報(A)
公開日
2025-10-02
出願番号
2024043975
出願日
2024-03-19
発明の名称
情報管理システム、情報取得方法およびプログラム
出願人
グローリー株式会社
代理人
個人
,
個人
主分類
G06Q
30/0242 20230101AFI20250925BHJP(計算;計数)
要約
【課題】利用者が広告のどの部分を閲覧したかを示す情報と、その利用者が実店舗でどのような購買行動を行ったか示す情報とを取得可能なシステムを提供する。
【解決手段】ウェブページを表示可能な端末装置200においてこの端末装置200に表示されたウェブページの位置を特定する情報を含む閲覧情報を取得する閲覧情報取得システム10と、この端末装置200を所持する利用者の実店舗における購買行動を示す購買行動情報を店舗通信端末300および販売情報端末400により取得する購買行動情報取得システム20と、取得された閲覧情報および購買行動情報を記憶する情報管理サーバ100と、を備える。
【選択図】図1
特許請求の範囲
【請求項1】
ウェブページを表示可能な装置において当該装置に表示されたウェブページの位置を特定する情報を含む閲覧情報を取得する閲覧情報取得部と、
前記装置を所持する利用者の実店舗における購買行動を示す購買行動情報を取得する購買行動情報取得部と、
前記閲覧情報取得部により取得された前記閲覧情報および前記購買行動情報取得部により取得された前記購買行動情報を記憶する記憶部と、
を備える情報管理システム。
続きを表示(約 1,100 文字)
【請求項2】
前記閲覧情報取得部により取得された前記閲覧情報と前記購買行動情報取得部により取得された前記購買行動情報とを、前記利用者の識別情報に基づいて関連付ける処理部をさらに備え、
前記記憶部は、前記処理部により関連付けられた情報を記憶する、請求項1に記載の情報管理システム。
【請求項3】
前記購買行動情報には、前記実店舗を特定する情報が含まれ、
前記処理部は、前記閲覧情報および前記購買行動情報に基づき、前記閲覧情報において特定される前記ウェブページと前記購買行動情報において特定される前記実店舗とを関連付け、当該ウェブページに関連付けられた当該実店舗における前記利用者の購買行動情報を抽出する、請求項2に記載の情報管理システム。
【請求項4】
前記購買行動情報には、前記実店舗における購入履歴の情報が含まれる、請求項1から請求項3の何れか1項に記載の情報管理システム。
【請求項5】
前記購買行動情報には、前記実店舗における前記利用者の移動に関する情報が含まれる、請求項1から請求項3の何れか1項に記載の情報管理システム。
【請求項6】
前記閲覧情報は、画面に表示されたことが検知可能なチェックポイントが設定された前記ウェブページを前記装置にて表示した際に、当該装置に表示された当該チェックポイントが設定されている当該ウェブページの位置の情報を含む、請求項1に記載の情報管理システム。
【請求項7】
前記閲覧情報取得部は、前記装置において前記ウェブページの表示が終了した際に、最後に表示されていた前記チェックポイントを、当該装置に表示されたチェックポイントとして前記閲覧情報を取得する、請求項6に記載の情報管理システム。
【請求項8】
前記閲覧情報および前記購買行動情報に基づき、前記ウェブページを閲覧した利用者の閲覧状況と、購入しない場合を含む当該利用者の購買行動との関係を分析する分析部をさらに備える、請求項1に記載の情報管理システム。
【請求項9】
前記分析部は、前記分析の結果に基づき、前記実店舗における前記利用者の行動態様に応じて当該利用者の前記装置に情報を提供する、請求項8に記載の情報管理システム。
【請求項10】
前記分析部は、前記分析の結果に基づき、前記実店舗における前記利用者による購入履歴に応じて当該利用者の前記装置に情報を提供する、請求項8に記載の情報管理システム。
(【請求項11】以降は省略されています)
発明の詳細な説明
【技術分野】
【0001】
本発明は、情報管理システム、情報取得方法およびプログラムに関する。
続きを表示(約 3,700 文字)
【背景技術】
【0002】
電子チラシ等のデジタル広告の閲覧履歴と実際の店舗での決済履歴とを紐づけて、利用者がデジタル広告の閲覧後に広告の対象商品を購入したか、言い換えれば、デジタル広告の販売促進効果を分析する従来技術がある。特許文献1には、加盟店により登録された電子チラシを利用者に配信する電子チラシ配信部と、前記電子チラシを配信された利用者が、配信された前記電子チラシを閲覧した履歴である閲覧履歴を取得する閲覧履歴取得部と、前記電子チラシを配信された利用者が、前記加盟店で電子決済により決済を行った履歴である決済履歴を取得する決済履歴取得部と、前記加盟店で商品を購入した利用者について、その商品の購入前に前記電子チラシを閲覧していたか否かを前記閲覧履歴および前記決済履歴に基づいて判定する閲覧判定部と、前記利用者が前記電子チラシの閲覧後に前記加盟店で商品を購入したと判定された場合、前記加盟店に対して手数料を課金する手数料課金部と、を備えるサービス提供装置が開示されている。
【先行技術文献】
【特許文献】
【0003】
特開2023-145421号公報
【発明の概要】
【発明が解決しようとする課題】
【0004】
オンラインで得られる情報とオフラインで得られる情報とを組み合わせたマーケティング等において、広告のどの部分が実店舗における利用者の購買行動に寄与したか把握することが求められる場合がある。そこで、利用者が広告のどの部分を閲覧したかを示す情報と、その利用者が実店舗でどのような購買行動を行ったか示す情報とを取得することが望まれる。
【0005】
本発明は、利用者が広告のどの部分を閲覧したかを示す情報と、その利用者が実店舗でどのような購買行動を行ったか示す情報とを取得可能なシステムを提供することを目的とする。
【課題を解決するための手段】
【0006】
上記の目的を達成する本発明は、ウェブページを表示可能な装置においてこの装置に表示されたウェブページの位置を特定する情報を含む閲覧情報を取得する閲覧情報取得部と、この装置を所持する利用者の実店舗における購買行動を示す購買行動情報を取得する購買行動情報取得部と、閲覧情報取得部により取得された閲覧情報および購買行動情報取得部により取得された購買行動情報を記憶する記憶部と、を備える情報管理システムである。
ここで、閲覧情報取得部により取得された閲覧情報と購買行動情報取得部により取得された購買行動情報とを、利用者の識別情報に基づいて関連付ける処理部をさらに備え、記憶部は、処理部により関連付けられた情報を記憶する構成としても良い。
また、購買行動情報には、実店舗を特定する情報が含まれ、処理部は、閲覧情報および購買行動情報に基づき、閲覧情報において特定されるウェブページと購買行動情報において特定される実店舗とを関連付け、ウェブページに関連付けられた実店舗における利用者の購買行動情報を抽出する構成としても良い。
より詳細には、購買行動情報には、実店舗における購入履歴の情報が含まれることとしても良い。
また、購買行動情報には、実店舗における利用者の移動に関する情報が含まれることとしても良い。
また、閲覧情報は、画面に表示されたことが検知可能なチェックポイントが設定されたウェブページを装置にて表示した際に、この装置に表示されたチェックポイントが設定されているウェブページの位置の情報を含むこととしても良い。
また、閲覧情報取得部は、装置においてウェブページの表示が終了した際に、最後に表示されていたチェックポイントを、この装置に表示されたチェックポイントとして閲覧情報を取得する構成としても良い。
ここで、情報管理システムは、閲覧情報および購買行動情報に基づき、ウェブページを閲覧した利用者の閲覧状況と、購入しない場合を含む利用者の購買行動との関係を分析する分析部をさらに備える構成としても良い。
より詳細には、分析部は、分析の結果に基づき、実店舗における利用者の行動態様に応じて利用者の装置に情報を提供する構成としても良い。
また、分析部は、分析の結果に基づき、実店舗における利用者による購入履歴に応じて利用者の装置に情報を提供する構成としても良い。
さらに、上記の目的を達成する他の本発明は、コンピュータが、ウェブページを表示可能な装置においてこの装置に表示されたウェブページの位置を特定する情報を含む閲覧情報を取得し、コンピュータが、この装置を所持する利用者の実店舗における購買行動を示す購買行動情報を取得し、コンピュータが、取得された閲覧情報および購買行動情報を記憶装置に記憶させること、を含む情報取得方法である。
さらに、上記の目的を達成する他の本発明は、コンピュータに、ウェブページを表示可能な装置においてこの装置に表示されたウェブページの位置を特定する情報を含む閲覧情報を取得する機能と、装置を所持する利用者の実店舗における購買行動を示す購買行動情報を取得する機能と、取得された閲覧情報および購買行動情報を記憶装置に記憶させる機能と、を実現させる、プログラムである。
【発明の効果】
【0007】
本発明によれば、利用者が広告のどの部分を閲覧したかを示す情報と、その利用者が実店舗でどのような購買行動を行ったか示す情報とを取得可能なシステムを実現することができる。
【図面の簡単な説明】
【0008】
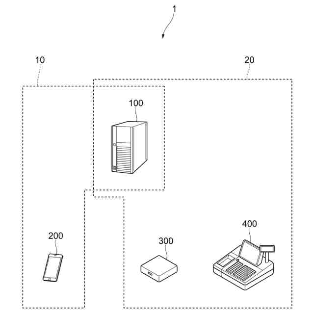
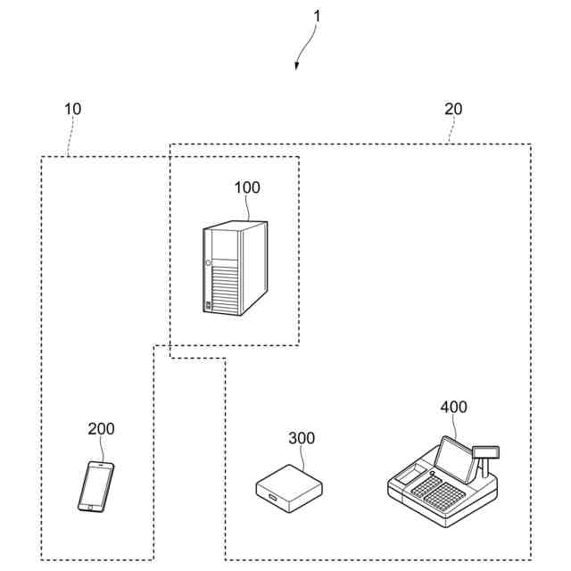
本実施形態による情報取得システムの全体構成を示す図である。
情報管理サーバの機能構成を示す図である。
情報管理サーバのハードウェア構成例を示す図である。
端末装置の機能構成を示す図である。
端末装置のハードウェア構成例を示す図である。
店舗通信端末および販売情報端末が設置された店舗の様子を示す図である。
店舗通信端末の機能構成を示す図である。
店舗通信端末のハードウェア構成例を示す図である。
販売情報端末の機能構成を示す図である。
販売情報端末のハードウェア構成例を示す図である。
情報取得システムにおける情報取得の流れを示す図であり、図11(A)は閲覧情報が取得される状況を示す図、図11(B)は行動情報が取得される状況を示す図、図11(C)は購買情報が取得される状況を示す図である。
ランディングページの構成例を示す図である。
ランディングページのHTMLによる構造の例を示す図である。
閲覧情報の例を示す図である。
行動情報の例を示す図である。
購買情報の例を示す図である。
陳列領域情報の例を示す図である。
【発明を実施するための形態】
【0009】
以下、添付図面を参照して、本発明の実施形態について詳細に説明する。
<システム構成>
図1は、本実施形態による情報取得システムの全体構成を示す図である。情報取得システム1は、閲覧情報取得システム10と、購買行動情報取得システム20とを含む。閲覧情報取得システム10は、システムの利用者(以下、単に「利用者」と記す)による商品やサービスに関する広告情報の閲覧状況を示す情報(以下、「閲覧情報」と呼ぶ)を取得するシステムである。閲覧情報取得システム10は、情報管理サーバ100と、利用者の端末装置200とを含む。購買行動情報取得システム20は、利用者の購買行動に関する情報(以下、「購買行動情報」と呼ぶ)を取得するシステムである。購買行動情報取得システム20は、情報管理サーバ100と、店舗通信端末300と、販売情報端末400とを含む。
【0010】
図1に示す構成例において、情報管理サーバ100は、閲覧情報取得システム10および購買行動情報取得システム20の両方で用いられる。情報管理サーバ100は、ネットワークを介して端末装置200、店舗通信端末300、販売情報端末400等と接続し、情報を取得する。情報管理サーバ100が取得する情報には、端末装置200から出力される閲覧情報と、店舗通信端末300および販売情報端末400から出力される購買行動情報とが含まれる。ネットワークは、各装置の間のデータ通信に用いられる通信ネットワークであれば特に限定されず、例えばLAN(Local Area Network)、WAN(Wide Area Network)、インターネット等を用いて良い。データ通信に用いられる通信回線は、有線か無線かを問わず、これらを併用しても良い。また、ゲートウェイ装置やルータ等の中継装置を用い、複数のネットワークや通信回線を介して各装置を接続するように構成しても良い。
(【0011】以降は省略されています)
この特許をJ-PlatPat(特許庁公式サイト)で参照する
関連特許
グローリー株式会社
貨幣処理装置及び貨幣情報出力方法
13日前
グローリー株式会社
情報管理システム、情報取得方法およびプログラム
今日
グローリー株式会社
金融店舗システム、及び、金融店舗システムが行う方法
今日
グローリー株式会社
収納システム、収納システムの制御方法およびプログラム
7日前
株式会社シンクアウト
診断装置、診断システムおよび診断方法
23日前
グローリー株式会社
不正検出装置、不正検出システム、不正検出方法及び不正検出プログラム
3日前
グローリー株式会社
検知装置およびプログラム
2日前
個人
裁判のAI化
2か月前
個人
地球保全システム
1日前
個人
工程設計支援装置
1か月前
個人
フラワーコートA
1か月前
個人
情報処理システム
2か月前
個人
検査システム
2か月前
個人
為替ポイント伊達夢貯
28日前
個人
冷凍食品輸出支援構造
28日前
個人
介護情報提供システム
2か月前
個人
携帯情報端末装置
1か月前
個人
表変換編集支援システム
21日前
個人
設計支援システム
2か月前
個人
設計支援システム
2か月前
個人
結婚相手紹介支援システム
1か月前
個人
知財出願支援AIシステム
28日前
キヤノン電子株式会社
携帯装置
2か月前
株式会社サタケ
籾摺・調製設備
2か月前
個人
不動産売買システム
3か月前
個人
パスワード管理支援システム
21日前
個人
AIによる情報の売買の仲介
1か月前
株式会社カクシン
支援装置
2か月前
個人
行動時間管理システム
23日前
個人
備蓄品の管理方法
2か月前
個人
食品レシピ生成システム
今日
個人
AIキャラクター制御システム
21日前
株式会社キーエンス
受発注システム
今日
個人
アンケート支援システム
1か月前
個人
システム及びプログラム
14日前
株式会社キーエンス
受発注システム
今日
続きを見る
他の特許を見る