TOP
|
特許
|
意匠
|
商標
特許ウォッチ
Twitter
他の特許を見る
公開番号
2025142263
公報種別
公開特許公報(A)
公開日
2025-09-30
出願番号
2025124598,2021039927
出願日
2025-07-25,2021-03-12
発明の名称
検知装置およびプログラム
出願人
グローリー株式会社
代理人
個人
主分類
G06T
7/00 20170101AFI20250919BHJP(計算;計数)
要約
【課題】人物に関する行動関連事象をより正確に検知することが可能な技術を提供する。
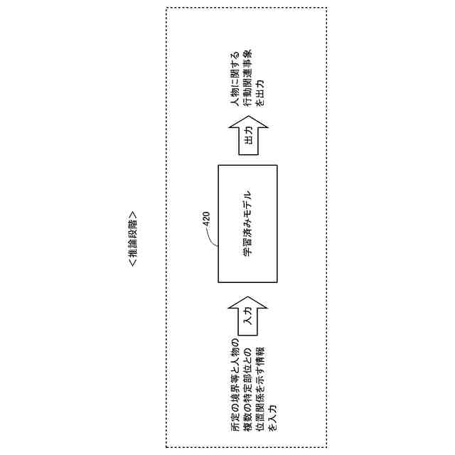
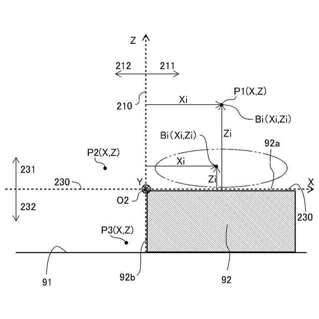
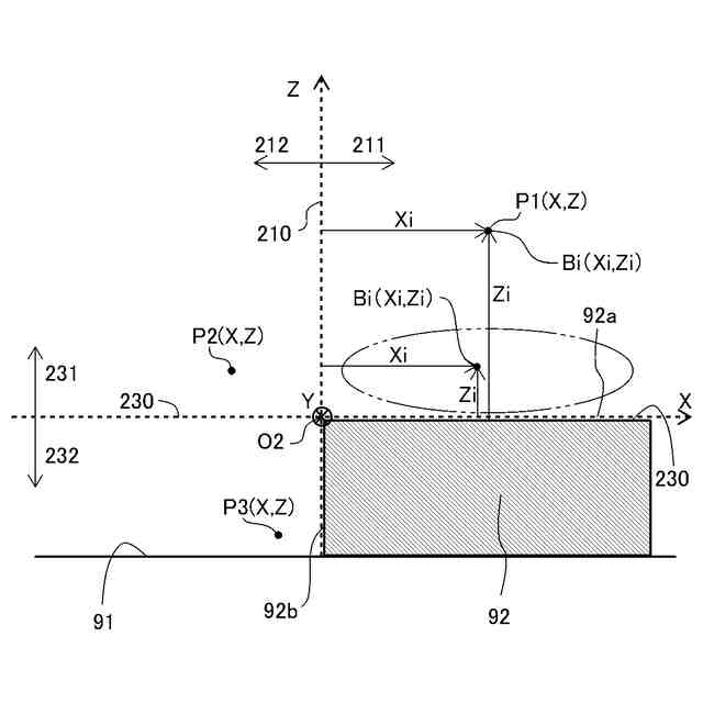
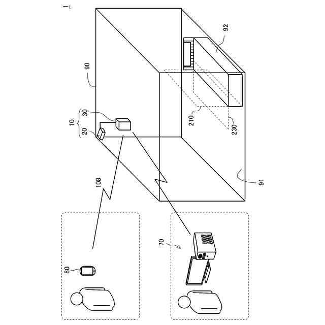
【解決手段】検知装置は、所定の境界と対象人物の複数の特定部位Biとの位置関係に基づき、対象人物の行動関連事象(たとえば、「通常臥位(正常臥位)」、「ベッド上での(上半身)起き上がり」、「境界位」等)を検知する。たとえば、検知装置は、境界面210と人物の複数の特定部位Biとの位置関係を示す情報を入力とし且つ人物に関する行動関連事象を出力とする複数の教師データを用いて機械学習された学習モデルを利用して、境界面210に対する対象人物の複数の特定部位Biの位置関係を示す情報に基づき、対象人物に関する行動関連事象を検知する。
【選択図】図4
特許請求の範囲
【請求項1】
対象人物の行動関連事象を検知する制御部、
を備え、
前記制御部は、所定の境界と前記対象人物の複数の特定部位との位置関係に基づき、前記対象人物の前記行動関連事象を検知することを特徴とする検知装置。
続きを表示(約 1,000 文字)
【請求項2】
前記制御部は、前記所定の境界と人物の前記複数の特定部位との位置関係を示す情報を入力とし且つ前記人物に関する前記行動関連事象を出力とする複数の教師データを用いて機械学習された学習モデルを利用して、前記所定の境界に対する前記対象人物の前記複数の特定部位の位置関係を示す情報に基づき、前記対象人物に関する前記行動関連事象を検知することを特徴とする、請求項1に記載の検知装置。
【請求項3】
前記所定の境界は、ベッドの境界であることを特徴とする、請求項1または請求項2に記載の検知装置。
【請求項4】
前記制御部は、前記対象人物がベッド端部に腰かけた状態である端座位状態と前記対象人物の上半身がベッド上にて起き上がった状態である上半身起き上がり状態とを区別して前記行動関連事象を検知することを特徴とする、請求項1から請求項3のいずれかに記載の検知装置。
【請求項5】
前記制御部は、撮影画像と前記撮影画像内の各画素の深度情報とに基づき、前記撮影画像内の人物候補領域内における前記対象人物の存否を判定することを特徴とする、請求項1から請求項4のいずれかに記載の検知装置。
【請求項6】
前記制御部は、対象空間を撮影した調整用画像を用いて設定されるベッド領域の長辺のうち、前記調整用画像内の中央に最も近い長辺を前記所定の境界として自動設定することを特徴とする、請求項1から請求項5のいずれかに記載の検知装置。
【請求項7】
前記制御部は、ベッド領域と前記対象人物の前記複数の特定部位との位置関係にも基づき、前記対象人物の前記行動関連事象を検知することを特徴とする、請求項1から請求項5のいずれかに記載の検知装置。
【請求項8】
前記制御部は、対象空間を撮影した調整用画像内における所定ポイントを基準に前記ベッド領域を設定することを特徴とする、請求項6または請求項7に記載の検知装置。
【請求項9】
前記所定ポイントは、ユーザによる前記調整用画像内での位置指定操作に応じて指定されることを特徴とする、請求項8に記載の検知装置。
【請求項10】
a)所定の境界と対象人物の複数の特定部位との位置関係を取得するステップと、
b)前記位置関係に基づき、前記対象人物に関する行動関連事象を検知するステップと、
を備えることを特徴とする検知方法。
(【請求項11】以降は省略されています)
発明の詳細な説明
【技術分野】
【0001】
本発明は、人物に関する行動関連事象を検知する検知装置およびそれに関連する技術に関する。
続きを表示(約 1,000 文字)
【背景技術】
【0002】
対象人物(見守り対象者等)に関する行動関連事象(「臥位」、「立位」、「起き上がり」、「境界位」等)を検知する技術が存在する。
【0003】
たとえば、特許文献1には、病院あるいは介護施設等において、人物(入院患者等)の行動を監視し、監視結果に基づいて当該人物の行動を予測する技術が記載されている。当該技術においては、監視対象者の存在するエリアと監視対象者のステータス(「臥位」、「立位」、「起き上がり」、「境界位」等)が検知されるとともに、当該エリアおよびステータスの変化等に基づいて監視対象者のイベントが判断される。
【先行技術文献】
【特許文献】
【0004】
国際公開第2019/030880号
【発明の概要】
【発明が解決しようとする課題】
【0005】
しかしながら、特許文献1の技術では、人物に関する行動関連事象(たとえば、監視対象者のステータス)を正確に検知できないことがある。
【0006】
たとえば、人物がベッドに寝ている場合において、人物がベッドの中央付近で正常に寝ている状態(正常臥位)と、人物がベッドの端部付近で寝ている状態(境界位)とが、正確に区別できないことがある。境界位は、ベッドからの転落の可能性が高い危険な状態であり、このような状態を正確に検知することが望まれる。
【0007】
そこで、この発明は、人物に関する行動関連事象をより正確に検知することが可能な技術を提供することを課題とする。
【課題を解決するための手段】
【0008】
上記課題を解決すべく、本発明に係る検知装置は、対象人物の行動関連事象を検知する制御部、を備え、前記制御部は、所定の境界と前記対象人物の複数の特定部位との位置関係に基づき、前記対象人物の前記行動関連事象を検知することを特徴とする。
【0009】
前記制御部は、前記所定の境界と人物の前記複数の特定部位との位置関係を示す情報を入力とし且つ前記人物に関する前記行動関連事象を出力とする複数の教師データを用いて機械学習された学習モデルを利用して、前記所定の境界に対する前記対象人物の前記複数の特定部位の位置関係を示す情報に基づき、前記対象人物に関する前記行動関連事象を検知してもよい。
【0010】
前記所定の境界は、ベッドの境界であってもよい。
(【0011】以降は省略されています)
特許ウォッチbot のツイートを見る
この特許をJ-PlatPat(特許庁公式サイト)で参照する
関連特許
グローリー株式会社
貨幣処理装置及び貨幣情報出力方法
13日前
グローリー株式会社
情報管理システム、情報取得方法およびプログラム
今日
グローリー株式会社
金融店舗システム、及び、金融店舗システムが行う方法
今日
グローリー株式会社
収納システム、収納システムの制御方法およびプログラム
7日前
株式会社シンクアウト
診断装置、診断システムおよび診断方法
23日前
グローリー株式会社
不正検出装置、不正検出システム、不正検出方法及び不正検出プログラム
3日前
グローリー株式会社
検知装置およびプログラム
2日前
個人
裁判のAI化
2か月前
個人
情報処理システム
2か月前
個人
工程設計支援装置
1か月前
個人
地球保全システム
1日前
個人
フラワーコートA
1か月前
個人
検査システム
2か月前
個人
為替ポイント伊達夢貯
28日前
個人
冷凍食品輸出支援構造
28日前
個人
介護情報提供システム
2か月前
個人
設計支援システム
2か月前
個人
設計支援システム
2か月前
個人
表変換編集支援システム
21日前
個人
携帯情報端末装置
1か月前
個人
知財出願支援AIシステム
28日前
キヤノン電子株式会社
携帯装置
2か月前
個人
結婚相手紹介支援システム
1か月前
株式会社サタケ
籾摺・調製設備
2か月前
個人
パスワード管理支援システム
21日前
株式会社カクシン
支援装置
2か月前
個人
AIによる情報の売買の仲介
1か月前
個人
行動時間管理システム
23日前
株式会社アジラ
進入判定装置
1か月前
株式会社キーエンス
受発注システム
今日
日本精機株式会社
施工管理システム
1か月前
個人
パスポートレス入出国システム
1か月前
個人
システム及びプログラム
14日前
個人
AIキャラクター制御システム
21日前
株式会社キーエンス
受発注システム
今日
株式会社キーエンス
受発注システム
今日
続きを見る
他の特許を見る