TOP
|
特許
|
意匠
|
商標
特許ウォッチ
Twitter
他の特許を見る
10個以上の画像は省略されています。
公開番号
2025143919
公報種別
公開特許公報(A)
公開日
2025-10-02
出願番号
2024043433
出願日
2024-03-19
発明の名称
メッシュネットワークに適した無線レピータ、制御装置、及びプログラム
出願人
KDDI株式会社
代理人
弁理士法人大塚国際特許事務所
主分類
H04W
16/26 20090101AFI20250925BHJP(電気通信技術)
要約
【課題】メッシュネットワークにおいて使用される無線レピータにおける回り込み干渉を抑制すること。
【解決手段】第1のアンテナを介して入力された電波を増幅して第2のアンテナから出力する無線レピータは、第1のアンテナにおいて設定される第1のビームを介して入力された信号の増幅および第2のアンテナによる出力が行われない状態で、第1のビームを介して入力された信号の第1の無線品質を測定し、第1のビームを介して入力された信号が増幅されて、第2のアンテナにおいて設定される第2のビームを介して出力される状態で、第1のビームを介して入力された信号の無線品質の第2の無線品質を測定し、第1の無線品質と第2の無線品質との変化量に基づいて、第1のアンテナと第2のアンテナとの少なくともいずれかにおいて、通信に使用されるべきビームを決定して設定する。
【選択図】 図4
特許請求の範囲
【請求項1】
第1のアンテナを介して入力された電波を増幅して第2のアンテナから出力する無線レピータであって、
前記第1のアンテナにおいて設定される第1のビームを介して入力された信号の増幅および前記第2のアンテナによる出力が行われない状態で、当該第1のビームを介して入力された信号の第1の無線品質を測定する第1の測定手段と、
前記第1のビームを介して入力された信号が増幅されて、前記第2のアンテナにおいて設定される第2のビームを介して出力される状態で、当該第1のビームを介して入力された信号の無線品質の第2の無線品質を測定する第2の測定手段と、
前記第1の無線品質と前記第2の無線品質との変化量に基づいて、前記第1のアンテナと前記第2のアンテナとの少なくともいずれかにおいて、通信に使用されるべきビームを決定して設定する設定手段と、
を有することを特徴とする無線レピータ。
続きを表示(約 1,500 文字)
【請求項2】
前記第2の測定手段は、複数の前記第2のビームを時分割で切り替えて使用して、前記第2の無線品質を測定し、
前記設定手段は、前記複数の前記第2のビームのうち、前記第1の無線品質と前記第2の無線品質との変化量が所定レベルを超えないビームを、前記第2のアンテナにおいて通信に使用されるべきビームとして決定する、
ことを特徴とする請求項1に記載の無線レピータ。
【請求項3】
前記第2の測定手段は、複数の前記第1のビームを時分割で切り替えて使用して、前記第2の無線品質を測定し、
前記設定手段は、前記複数の前記第1のビームのうち、前記第1の無線品質と前記第2の無線品質との変化量が所定レベルを超えないビームを、前記第1のアンテナにおいて通信に使用されるべきビームとして決定する、
ことを特徴とする請求項1に記載の無線レピータ。
【請求項4】
前記第2の測定手段は、前記第1のアンテナにおいて設定可能なビームのそれぞれにおける特定の装置から送信された所定の信号の受信レベルに応じて、前記設定可能なビームの中から、前記複数の前記第1のビームを特定する、ことを特徴とする請求項3に記載の無線レピータ。
【請求項5】
前記第2の測定手段は、複数の前記第1のビームのそれぞれと複数の前記第2のビームのそれぞれとからなる複数の組み合わせを時分割で切り替えて使用して、前記第2の無線品質を測定し、
前記設定手段は、前記複数の組み合わせのうち、前記第1の無線品質と前記第2の無線品質との変化量が所定レベルを超えない前記第1のビームと前記第2のビームとの組み合わせを、前記第1のアンテナおよび前記第2のアンテナにおいて通信に使用されるべきビームとして決定する、
ことを特徴とする請求項1に記載の無線レピータ。
【請求項6】
前記第2の測定手段は、前記第1のアンテナにおいて設定可能なビームのそれぞれにおける特定の装置から送信された所定の信号の受信レベルに応じて、前記設定可能なビームの中から、前記複数の前記第1のビームを特定する、ことを特徴とする請求項5に記載の無線レピータ。
【請求項7】
前記信号は、基地局装置から送信された同期信号(SS)/物理ブロードキャストチャネル(PBCH)ブロック(SSB)であり、前記第1の無線品質および前記第2の無線品質は、参照信号受信電力(RSRP)、信号対干渉及び雑音比(SINR)、又は、受信信号強度インジケータ(RSSI)のいずれかである、ことを特徴とする請求項1から5のいずれか1項に記載の無線レピータ。
【請求項8】
前記第1の測定手段および前記第2の測定手段は、Secondary SS(SSS)を用いて、前記第1の無線品質および前記第2の無線品質の測定を行う、ことを特徴とする請求項7に記載の無線レピータ。
【請求項9】
前記設定手段は、前記第1の無線品質と前記第2の無線品質との変化量が所定レベルを超える場合に、前記第2のビームにおける利得のピークの方向にヌルを向けたビームを、前記第2のアンテナにおいて通信に使用されるべきビームとして決定する、ことを特徴とする請求項1に記載の無線レピータ。
【請求項10】
前記第2のビームにおける利得のピークの方向にヌルが向けられたビームを事前に記憶する記憶手段をさらに有し、
前記設定手段は、前記記憶されているビームを読み出して、前記第2のアンテナにおいて当該ビームを設定する、ことを特徴とする請求項9に記載の無線レピータ。
(【請求項11】以降は省略されています)
発明の詳細な説明
【技術分野】
【0001】
本発明は、無線レピータの構成技術に関する。
続きを表示(約 3,200 文字)
【背景技術】
【0002】
セルラ通信ネットワークでは、増加し続けるトラフィックに対処するために、大きい容量を確保することが可能な高周波数帯を使用することが検討されている。使用される周波数帯が高くなるほど、電波の距離減衰が大きくなるため、広い範囲での無線サービスの提供のために多数の基地局を設置するとその設置コストが増大してしまう。これに対して、基地局装置と端末装置との間の信号を増幅して中継する無線レピータを用いたメッシュネットワークを構築することが検討されている。
【発明の概要】
【発明が解決しようとする課題】
【0003】
無線レピータは、受信した信号を増幅して出力するため、出力された信号が入力に回り込むと、その回り込んだ信号成分が入力信号に対して干渉してしまう。
【課題を解決するための手段】
【0004】
本発明は、メッシュネットワークにおいて使用される無線レピータにおける回り込み干渉の抑制技術を提供する。
【0005】
本発明の一態様による無線レピータは、第1のアンテナを介して入力された電波を増幅して第2のアンテナから出力する無線レピータであって、前記第1のアンテナにおいて設定される第1のビームを介して入力された信号の増幅および前記第2のアンテナによる出力が行われない状態で、当該第1のビームを介して入力された信号の第1の無線品質を測定する第1の測定手段と、前記第1のビームを介して入力された信号が増幅されて、前記第2のアンテナにおいて設定される第2のビームを介して出力される状態で、当該第1のビームを介して入力された信号の無線品質の第2の無線品質を測定する第2の測定手段と、前記第1の無線品質と前記第2の無線品質との変化量に基づいて、前記第1のアンテナと前記第2のアンテナとの少なくともいずれかにおいて、通信に使用されるべきビームを決定して設定する設定手段と、を有する。
【発明の効果】
【0006】
本発明によれば、メッシュネットワークにおいて使用される無線レピータにおける回り込み干渉を抑制することができる。
【図面の簡単な説明】
【0007】
無線通信システムの構成例を示す図である。
無線レピータにおけるアンテナ配置例を示す図である。
回り込み干渉波の影響を概略的に説明する図である。
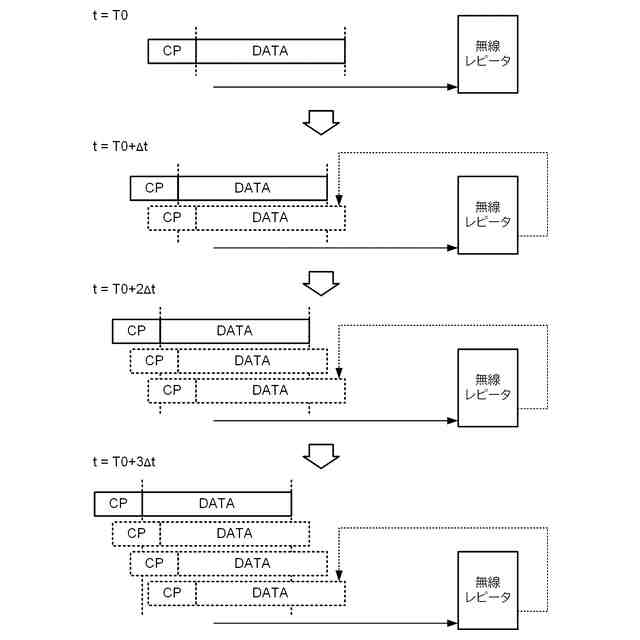
無線レピータによって実行される処理の流れの例を示す図である。
SSBの構成を説明する図である。
サービスビームの構成例を説明する図である。
無線レピータによって実行される処理の流れの例を示す図である。
無線レピータによって実行される処理の流れの例を示す図である。
無線レピータの構成例を示す図である。
【発明を実施するための形態】
【0008】
以下、添付図面を参照して実施形態を詳しく説明する。なお、以下の実施形態は特許請求の範囲に係る発明を限定するものではなく、また実施形態で説明されている特徴の組み合わせの全てが発明に必須のものとは限らない。実施形態で説明されている複数の特徴のうち二つ以上の特徴は任意に組み合わされてもよい。また、同一若しくは同様の構成には同一の参照番号を付し、重複した説明は省略する。
【0009】
(システム構成)
図1に、本実施形態に係る無線通信システムの構成例を示す。この無線通信システムは、無線レピータを用いたメッシュネットワークであり、基地局装置101と、無線レピータ111~無線レピータ119とを含んで構成される。基地局装置101は、例えば、第5世代(5G)のgNodeBや、それ以降の世代のセルラ通信規格に準拠した基地局機能を有するノードでありうる。無線レピータ111~無線レピータ119は、例えば、基地局装置101から送信された信号を広い範囲に到達させるように分散配置される。無線レピータ111~無線レピータ119は、特定の方向から到来した電波を増幅して、その到来方向と異なる方向へ出力するように構成される。例えば、無線レピータ111は、基地局装置101の方向へ向けられた受信ビームを用いて基地局装置101からの信号を受信し、その基地局装置101の方向とは異なる方向へ増幅した信号を出力するように構成される。なお、無線レピータ111は、基地局装置101の方向に向けられた受信ビームにおいて、自装置が中継する信号が所定レベル以上で受信されないような送信ビームを形成して、増幅した信号を出力する。そして、無線レピータ112は、無線レピータ111の方向に受信ビームを向けることにより、無線レピータ111から出力された信号を所定の無線品質以上の品質で受信することができる。そして、無線レピータ112は、受信した信号を増幅し、その無線レピータ111の方向とは異なる方向へ増幅した信号を出力するように構成される。一方で、無線レピータ114や無線レピータ115も、無線レピータ111の方向に受信ビームを向けることにより、無線レピータ111から出力された信号を所定の無線品質以上の品質で受信することができることが想定される。しかしながら、無線レピータ114及び無線レピータ115は、その受信ビームを、それぞれ基地局装置101及び無線レピータ114の方向に向けることにより、無線レピータ111から出力された信号を十分な電力で受信することはない。そして、無線レピータ114及び無線レピータ115は、それぞれ、基地局装置101及び無線レピータ114からの信号を十分な電力で受信することができる。このようにして、図1の矢印で表現されるように、中継通信経路の各区間が設定される。
【0010】
(無線レピータの構成)
図2(A)に、本実施形態にかかる無線レピータ111~無線レピータ119の構成例を示す。なお、以下では、無線レピータ111~無線レピータ119を特に区別する必要がない場合には、これらを総称して単に「無線レピータ」と呼ぶ。無線レピータは、それぞれ一定範囲内においてビームを形成可能な複数のアンテナ(アンテナパネル201~アンテナパネル204)を含んで構成される。複数のアンテナは、それぞれ一定の角度範囲にビームの指向方向を設定可能に構成される。なお、図2(A)及び以下の例では、無線レピータが4つのアンテナを有する場合の例について説明するが、無線レピータは、例えば5つ以上のアンテナを有してもよいし、例えば、2つまたは3つのアンテナを有してもよい。アンテナの数が多いほど、各アンテナが対応すべき角度範囲が狭くなる。例えばその角度範囲の全てをカバーするようなビームが形成される場合に、角度範囲が狭いほど、その範囲内での利得を向上させることができ、例えば、その角度範囲内に存在する他の装置からの信号を十分な電力で受信することが可能となる。また、各アンテナに供給される電力が同じ場合に、対応すべき角度範囲が狭いことにより、そのアンテナから送出された信号を遠方まで届かせることができるようになる。また、各アンテナは、幅の狭いビームを形成して通信を行うことができるが、その角度範囲の端付近など、特定の方向にビームを向ける場合に、そのビームが十分な利得を得ることができない場合がある。これに対して、対応すべき角度範囲を狭めることにより、十分な利得のビームを形成することができるようになる。なお、例えば、無線レピータが壁面に配置される場合などには、その壁側にはアンテナを有しなくてもよく、その場合、無線レピータは2つまたは3つのアンテナによって様々な角度範囲との通信が可能となる。
(【0011】以降は省略されています)
この特許をJ-PlatPat(特許庁公式サイト)で参照する
関連特許
KDDI株式会社
光増幅器
15日前
KDDI株式会社
光増幅器
15日前
KDDI株式会社
光増幅器
2日前
KDDI株式会社
光増幅器
2日前
KDDI株式会社
光接続ノード
2日前
KDDI株式会社
緊急ネットワーク分離方法
3日前
KDDI株式会社
情報処理装置及び情報処理方法
1日前
KDDI株式会社
情報処理装置及び情報処理方法
1日前
KDDI株式会社
情報処理装置及び情報処理方法
15日前
KDDI株式会社
情報処理装置及び情報処理方法
1日前
KDDI株式会社
情報処理装置及び情報処理方法
15日前
KDDI株式会社
通信制御システム及び通信制御方法
9日前
KDDI株式会社
通信制御システム及び通信制御方法
9日前
KDDI株式会社
通信制御システム及び通信制御方法
9日前
KDDI株式会社
通信制御システム及び通信制御方法
9日前
KDDI株式会社
中継装置、中継方法及び中継プログラム
24日前
KDDI株式会社
通信装置、無線デバイス及びプログラム
5日前
KDDI株式会社
飛行体、情報処理装置及び情報処理方法
5日前
KDDI株式会社
認証装置、認証方法及び認証プログラム
24日前
KDDI株式会社
支援処理装置、支援処理方法及びプログラム
15日前
KDDI株式会社
情報処理装置、情報処理方法及びプログラム
16日前
KDDI株式会社
情報処理装置、情報処理方法及びプログラム
9日前
KDDI株式会社
情報処理装置、情報処理方法及びプログラム
5日前
KDDI株式会社
情報処理装置、情報処理方法及び情報処理システム
15日前
KDDI株式会社
情報処理装置、情報処理方法及び情報処理システム
15日前
KDDI株式会社
情報処理装置、情報処理方法及び情報処理システム
15日前
KDDI株式会社
メッシュ復号装置、メッシュ復号方法及びプログラム
1日前
KDDI株式会社
メッシュ復号装置、メッシュ復号方法及びプログラム
1日前
KDDI株式会社
タスクオフロード制御システム、方法及びプログラム
2日前
KDDI株式会社
移動通信ネットワークの基地局装置及びネットワークノード
16日前
KDDI株式会社
移動通信ネットワークのネットワークノード及びプログラム
23日前
KDDI株式会社
水中移動体制御システム、水中移動体及び水中移動体制御方法
2日前
KDDI株式会社
方針違反検知装置、方針違反検知方法及び方針違反検知プログラム
15日前
KDDI株式会社
移動通信ネットワークのネットワークノード、サーバ及びプログラム
23日前
KDDI株式会社
AIモデルを用いたネットワーク運用システム、方法及びプログラム
2日前
KDDI株式会社
移動通信ネットワークのネットワークノード、サーバ及びプログラム
23日前
続きを見る
他の特許を見る