TOP
|
特許
|
意匠
|
商標
特許ウォッチ
Twitter
他の特許を見る
10個以上の画像は省略されています。
公開番号
2025144034
公報種別
公開特許公報(A)
公開日
2025-10-02
出願番号
2024043599
出願日
2024-03-19
発明の名称
タスクオフロード制御システム、方法及びプログラム
出願人
KDDI株式会社
代理人
個人
,
個人
主分類
G06F
9/50 20060101AFI20250925BHJP(計算;計数)
要約
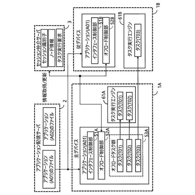
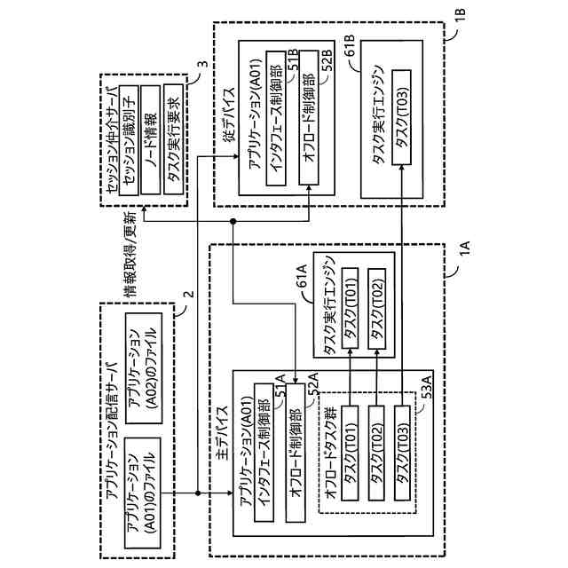
【課題】アプリケーション内にタスクオフロードを制御するオフロード制御部を備え、アプリケーションと一体的にデバイスへ配信することで、双方向型の動的かつ柔軟なタスクオフロードを実現する。
【解決手段】複数のデバイス1がアプリケーションのタスクを相互にオフロードするタスクオフロードを制御するシステムにおいて、各デバイス1と接続性を有し、アプリケーション毎にオフロード制御部52を備えたアプリケーションを配信するアプリケーション配信サーバ2を備え、各デバイス1がアプリケーション配信サーバ2から同一のアプリケーションを取得し、各デバイス1が取得したアプリケーションのオフロード制御部同士の調停により各デバイスを主デバイス1A及び従デバイス1Bのいずれかに設定し、主デバイス1Aのオフロード制御部52Aが従デバイス1Bのオフロード制御部52Bにアプリケーションのタスクをオフロードする。
【選択図】図1
特許請求の範囲
【請求項1】
複数のデバイスがアプリケーションのタスクを相互にオフロードするタスクオフロードを制御するシステムにおいて、
各デバイスと接続性を有し、アプリケーション毎にオフロード制御部を備えたアプリケーションを配信するアプリケーション配信サーバを備え、
各デバイスがアプリケーション配信サーバから同一のアプリケーションを取得し、
各デバイスが取得したアプリケーションのオフロード制御部同士の調停により各デバイスを主デバイス及び従デバイスのいずれかに設定し、
主デバイスのオフロード制御部が従デバイスのオフロード制御部に前記アプリケーションのタスクをオフロードすることを特徴とするタスクオフロード制御システム。
続きを表示(約 1,900 文字)
【請求項2】
各デバイス及びアプリケーション配信サーバと接続性を有するセッション仲介サーバを更に備え、
各デバイスは、ユーザが起動指示したアプリケーションをアプリケーション配信サーバから取得し、
前記取得したアプリケーションを起動させてオフロード制御部を動作させ、
オフロード制御部は、アプリケーション識別子及びユーザ識別子が記述されたメッセージをセッション仲介サーバへ送信し、
前記セッション仲介サーバは、前記アプリケーション識別子及びユーザ識別子に対応したセッション識別子が既登録であれば当該セッション識別子を応答し、
前記メッセージを送信したデバイスは、セッション識別子の応答を受信できないと自身を主デバイスと認識してセッション識別子を生成し、当該セッション識別子をセッション仲介サーバへ送信し、
前記セッション仲介サーバは、セッション識別子を送信したデバイスを主デバイスに設定して前記セッション識別子と紐付け、当該セッション識別子宛に着信したメッセージを前記主デバイス宛に転送することを特徴とする請求項1に記載のタスクオフロード制御システム。
【請求項3】
前記メッセージを送信したデバイスは、セッション仲介サーバからセッション識別子の応答を受信すると自身を従デバイスと認識することを特徴とする請求項2に記載のタスクオフロード制御システム。
【請求項4】
前記主デバイス及び従デバイスは、
自身のノード情報を定期的に収集し、
前記収集した自身のノード情報を前記セッション識別子と紐付いたチャネルで各デバイスへ送信し、
前記主デバイスは、従ノードが送信したノード情報に基づいてタスクのオフロード先を決定することを特徴とする請求項2に記載のタスクオフロード制御システム。
【請求項5】
前記アプリケーションがインタフェース制御部を更に備え、
前記インタフェース制御部は、アプリケーションが実装されたデバイスにおいて実行されるタスクが利用可能なインタフェース一覧を取得して他のデバイスへ送信し、
前記主デバイスでは、前記オフロード制御部が前記インタフェース一覧及びノード情報に基づいてタスクのオフロード先を決定することを特徴とする請求項4に記載のタスクオフロード制御システム。
【請求項6】
前記インタフェース制御部は、一部のタスクがオフロードされた結果、異なるデバイス上で実行されるタスク間で呼び出しが生じた際に情報を伝達するための通信チャネルを確立することを特徴とする請求項5に記載のタスクオフロード制御システム。
【請求項7】
前記主デバイスは、自身で実行していたタスクを従デバイスへオフロードした後、当該従デバイスが送信したノード情報に基づいて当該タスクがオフロード先で動作していることを確認できると自身での実行を終了することを特徴とする請求項4に記載のタスクオフロード制御システム。
【請求項8】
前記従デバイスは、
現在の主ノードがノード情報を送信していないことを検知すると各オフロード制御部の調停により仮の主ノードを選出し、
前記仮の主ノードのオフロード制御部が新たな主ノードを決定し、
前記新たな主ノードのオフロード制御部が前記現在の主ノードが実行しているタスクを前記新たな主ノードに引き継がせることを特徴とする請求項4に記載のタスクオフロード制御システム。
【請求項9】
前記仮の主ノードのオフロード制御部は、主ノードから引き継ぐタスク数が最小となる従ノードを新たな主ノードに決定することを特徴とする請求項8に記載のタスクオフロード制御システム。
【請求項10】
複数のデバイスがアプリケーションのタスクを相互にオフロードするタスクオフロードをコンピュータに制御させる方法において、
各デバイスと接続性を有し、アプリケーション毎にオフロード制御部を備えたアプリケーションを配信するアプリケーション配信サーバを設け、
各デバイスがアプリケーション配信サーバから同一のアプリケーションを取得し、
各デバイスが取得したアプリケーションのオフロード制御部同士の調停により各デバイスを主デバイス及び従デバイスのいずれかに設定し、
主デバイスのオフロード制御部が従デバイスのオフロード制御部に前記アプリケーションのタスクをオフロードすることを特徴とするタスクオフロード制御方法。
(【請求項11】以降は省略されています)
発明の詳細な説明
【技術分野】
【0001】
本発明は、タスクオフロード制御システム、方法及びプログラムに係り、特に、ユーザ端末やクラウドサーバ等のデバイス間でアプリケーションのタスクを相互にオフロードするタスクオフロード制御システム、方法及びプログラムに関する。
続きを表示(約 1,400 文字)
【背景技術】
【0002】
近年、スマートフォンをはじめとするユーザ端末における3D処理やAI処理といった高負荷タスクの需要の増加や低消費電力かつ低性能なIoT端末の普及によって、ユーザ端末上の処理の一部または全部を、クラウドをはじめとするサーバ上で実行するユーザ端末処理オフロードが一般的に行われている。
【0003】
非特許文献1では、モバイル端末処理をクラウドまたはエッジ上で実行するモバイルクラウドコンピューティング(MCC)およびモバイルエッジコンピューティング(MEC)の方式が示されている。
【0004】
モバイル端末内で行われる処理をMCC、MECによってクラウドまたはエッジ上にオフロードすることができれば、高負荷タスクの高速処理や端末でのエネルギー消費の低減などを実現できる。一方でタスクのオフロードにおいてはモバイル端末間とクラウド・エッジサーバ間の通信遅延や通信品質の劣化によって、ユーザ端末上でのアプリケーション品質の劣化が発生する。
【0005】
特許文献1では、ユーザ端末が通信チャネル状態やパラメータ、ユーザ端末、アプリケーションの状態に応じてアプリケーションのタスクをエッジサーバにオフロードすべきかどうかを判定する発明が示されている。
【0006】
この発明によってユーザ端末は各状態とセルラネットワークから取得したエッジサーバ情報とに基づいてタスクのオフロード可否およびオフロード先のエッジサーバ選択を実施することにより、タスクオフロードによるアプリケーション品質の劣化を抑制することができる。
【先行技術文献】
【特許文献】
【0007】
特公表2023-518318号公報
【非特許文献】
【0008】
Y. Mao, C. You, J. Zhang, K. Huang and K. B. Letaief, "A Survey on Mobile Edge Computing: The Communication Perspective," in IEEE Communications Surveys & Tutorials, vol. 19, no. 4, pp. 2322-2358, Fourthquarter 2017, doi: 10.1109/COMST.2017.2745201.
【発明の概要】
【発明が解決しようとする課題】
【0009】
上記の先行技術ではユーザ端末内でタスク実行場所を動的に判定することで、アプリケーションのタスクのオフロード可否およびオフロード先エッジサーバを決定し、タスクを決定したサーバへ送信することでタスクのオフロードを実施するため、タスクのオフロードはユーザ端末からエッジサーバへの一方向のみが可能であった。
【0010】
一方でユーザ端末の高機能化、多様化に伴い、クラウドやエッジサーバ上のアプリケーションタスクをユーザ端末へオフロードする、あるいはユーザ端末間でタスクをオフロードするといった形態の双方向型のオフロード技術が端末の処理リソースおよびネットワークの利用効率を最大化するために求められている。双方向型のオフロードの実現にはより動的かつ柔軟にオフロード先を選択し、タスクを転送するための制御技術およびタスク展開技術が必要である。
(【0011】以降は省略されています)
この特許をJ-PlatPat(特許庁公式サイト)で参照する
関連特許
KDDI株式会社
光増幅器
15日前
KDDI株式会社
光増幅器
15日前
KDDI株式会社
光増幅器
2日前
KDDI株式会社
光増幅器
2日前
KDDI株式会社
光接続ノード
2日前
KDDI株式会社
解析装置及びプログラム
1か月前
KDDI株式会社
緊急ネットワーク分離方法
3日前
KDDI株式会社
情報処理装置及び情報処理方法
1日前
KDDI株式会社
情報処理装置及び情報処理方法
1日前
KDDI株式会社
情報処理装置及び情報処理方法
1か月前
KDDI株式会社
情報処理装置及び情報処理方法
1日前
KDDI株式会社
情報処理装置及び情報処理方法
15日前
KDDI株式会社
情報処理装置及び情報処理方法
15日前
KDDI株式会社
情報処理装置及び情報処理方法
1か月前
KDDI株式会社
情報処理装置及び情報処理方法
25日前
KDDI株式会社
情報処理装置及び情報処理方法
1か月前
KDDI株式会社
通信制御システム及び通信制御方法
9日前
KDDI株式会社
通信制御システム及び通信制御方法
9日前
KDDI株式会社
通信制御システム及び通信制御方法
9日前
KDDI株式会社
通信制御システム及び通信制御方法
9日前
KDDI株式会社
ネットワーク制御装置及びプログラム
1か月前
KDDI株式会社
飛行体、情報処理装置及び情報処理方法
5日前
KDDI株式会社
中継装置、中継方法及び中継プログラム
24日前
KDDI株式会社
通信装置、無線デバイス及びプログラム
5日前
KDDI株式会社
通信装置、無線デバイス及びプログラム
1か月前
KDDI株式会社
認証装置、認証方法及び認証プログラム
24日前
KDDI株式会社
認証装置、認証方法及び認証プログラム
1か月前
KDDI株式会社
通信装置、無線デバイス及びプログラム
1か月前
KDDI株式会社
無線デバイス及びコンピュータプログラム
1か月前
KDDI株式会社
情報処理装置、情報処理方法及びプログラム
16日前
KDDI株式会社
情報処理装置、情報処理方法及びプログラム
1か月前
KDDI株式会社
情報処理装置、情報処理方法及びプログラム
9日前
KDDI株式会社
支援処理装置、支援処理方法及びプログラム
15日前
KDDI株式会社
情報処理装置、情報処理方法及びプログラム
1か月前
KDDI株式会社
情報処理装置、情報処理方法及びプログラム
1か月前
KDDI株式会社
情報処理装置、情報処理方法及びプログラム
5日前
続きを見る
他の特許を見る