TOP
|
特許
|
意匠
|
商標
特許ウォッチ
Twitter
他の特許を見る
10個以上の画像は省略されています。
公開番号
2025144035
公報種別
公開特許公報(A)
公開日
2025-10-02
出願番号
2024043600
出願日
2024-03-19
発明の名称
AIモデルを用いたネットワーク運用システム、方法及びプログラム
出願人
KDDI株式会社
代理人
個人
,
個人
主分類
H04L
41/16 20220101AFI20250925BHJP(電気通信技術)
要約
【課題】AIモデルでの推論に用いられる運用データの重要度を計算し、重要度の低い運用データを推論に用いないようにすることで、AIモデルの推論用データベースの容量を削減する。
【解決手段】ネットワークから収集した運用データをAIモデルに適用して得られる推論結果を用いてネットワークを運用するシステムにおいて、ネットワークから情報の項目ごとに運用データを取得し、取得した運用データをデータベースに保存し、運用データを用いてAIモデルを訓練し、AIモデルを訓練した運用データの項目ごとに重要度を計算し、重要度が所定の上位条件を充足しない項目の運用データをデータベースから削除し、重要度が所定の上位条件を充足する項目の運用データを用いて前記AIモデルを再訓練し、再訓練したAIモデルに重要度が所定の上位条件を充足する項目の運用データを適用して推論結果を出力する。
【選択図】図9
特許請求の範囲
【請求項1】
ネットワークから収集した運用データをAIモデルに適用して得られる推論結果を用いてネットワークを運用するシステムにおいて、
ネットワークから情報の項目ごとに運用データを取得する手段と、
前記運用データを保存するデータベースと、
前記運用データを用いてAIモデルを訓練する手段と、
前記AIモデルを訓練した運用データの項目ごとに重要度を計算する手段と、
重要度が所定の上位条件を充足しない項目の運用データを前記データベースから削除する手段と、
重要度が所定の上位条件を充足する項目の運用データを用いて前記AIモデルを再訓練する手段を具備し、
前記再訓練したAIモデルに前記重要度が所定の上位条件を充足する項目の運用データを適用して推論結果を出力することを特徴とするAIモデルを用いたネットワーク運用システム。
続きを表示(約 1,500 文字)
【請求項2】
前記データベースの容量が所定の上限値を超えたか否かを判定する手段を具備し、
前記データベースの容量が所定の上限値を超えると、前記削除する手段が運用データを削除し、前記AIモデルを再訓練する手段がAIモデルを再訓練することを特徴とする請求項1に記載のAIモデルを用いたネットワーク運用システム。
【請求項3】
前記重要度を計算する手段は、前記AIモデルの訓練に各運用データを利用する期間を項目ごとに特定し、
前記削除する手段は、利用する期間が経過した運用データも前記データベースから削除することを特徴とする請求項1または2に記載のAIモデルを用いたネットワーク運用システム。
【請求項4】
前記データベースが、推論用の運用データを保存する推論用データベースであり、所定のリアルタイム性能を満たす環境に配置されたことを特徴とする請求項1または2に記載のAIモデルを用いたネットワーク運用システム。
【請求項5】
コンピュータがネットワークから収集した運用データをAIモデルに適用して得られる推論結果を用いてネットワークを運用する方法において、
ネットワークから情報の項目ごとに運用データを取得し、
前記運用データをデータベースに保存し、
前記運用データを用いてAIモデルを訓練し、
前記AIモデルを訓練した運用データの項目ごとに重要度を計算し、
重要度が所定の上位条件を充足しない項目の運用データを前記データベースから削除し、
重要度が所定の上位条件を充足する項目の運用データを用いて前記AIモデルを再訓練し、
前記再訓練したAIモデルに前記重要度が所定の上位条件を充足する項目の運用データを適用して推論結果を出力することを特徴とするAIモデルを用いたネットワーク運用方法。
【請求項6】
前記データベースの容量が所定の上限値を超えたか否かを判定し、
前記データベースの容量が所定の上限値を超えると、前記運用データの削除を行い、前記AIモデルの再訓練を行うことを特徴とする請求項5に記載のAIモデルを用いたネットワーク運用方法。
【請求項7】
ネットワークから収集した運用データをAIモデルに適用して得られる推論結果を用いてネットワークを運用するプログラムにおいて、
ネットワークから情報の項目ごとに運用データを取得する手順と、
前記運用データをデータベースに保存する手順と、
前記運用データを用いてAIモデルを訓練する手順と、
前記AIモデルを訓練した運用データの項目ごとに重要度を計算する手順と、
重要度が所定の上位条件を充足しない項目の運用データを前記データベースから削除する手順と、
重要度が所定の上位条件を充足する項目の運用データを用いて前記AIモデルを再訓練する手順と、をコンピュータに実行させ、
前記再訓練したAIモデルに前記重要度が所定の上位条件を充足する項目の運用データを適用して推論結果を出力することを特徴とするAIモデルを用いたネットワーク運用プログラム。
【請求項8】
前記データベースの容量が所定の上限値を超えたか否かを判定する手順を更に含み、
前記データベースの容量が所定の上限値を超えると、前記削除する手順が運用データを削除し、前記AIモデルを再訓練する手順がAIモデルを再訓練することを特徴とする請求項7に記載のAIモデルを用いたネットワーク運用プログラム。
発明の詳細な説明
【技術分野】
【0001】
本発明は、AIモデルを用いたネットワーク運用システム、方法及びプログラムに係り、特に、AIモデルの推論に用いる推論用データベースの容量を削減できるネットワーク運用システム、方法及びプログラムに関する。
続きを表示(約 1,600 文字)
【背景技術】
【0002】
通信事業者が提供するLTE、5G、FTTH等のネットワークの規模は年々肥大化しており、人間によるネットワーク運用はその限界を迎えつつある。その解決策として、システムによるネットワーク運用の自動化が広く活用されている。特に近年では、AI/ML(人工知能/機械学習)技術の進化により、これらを活用したネットワーク運用が注目を集めている。非特許文献1には、AI/ML技術を用いたネットワーク運用に関する技術動向として、特に障害時の対応方法が開示されている。
【先行技術文献】
【非特許文献】
【0003】
A Survey of AIOps Methods for Failure Management (https://dl.acm.org/doi/abs/10.1145/3483424)
【発明の概要】
【発明が解決しようとする課題】
【0004】
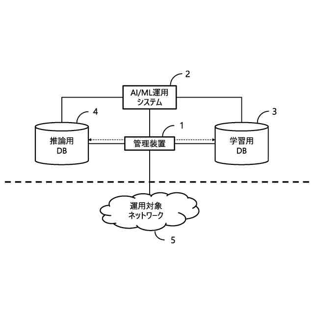
AIによるネットワーク運用では、モデル学習(訓練)及び推論のための運用データが必須である。運用データには、各システムのハードウェアに関する情報、プロセスの詳細情報、アプリケーション/サービスの情報といった様々な項目のデータが存在する。
【0005】
素早い障害検知のためにはリアルタイムなデータベースへ運用データを格納する必要がある。しかしながら、リアルタイム性能の高いデータベースは一般的に高価であるため、運用データが多くなると運用コストが高くなる。
【0006】
そのため、特に推論に用いるリアルタイムなデータベースではデータ量を減らすことが望ましいが、運用データを削除しすぎるとAIモデルの入力データ量が少なくなるためにAIモデルの精度が劣化し、ネットワーク運用の品質が劣化する恐れがある。
【0007】
また、ネットワークの規模拡大・運用手順の増加によりAIモデルが増加することで、推論用のデータが増大していく恐れがあり、AIモデルを初期構築した後に、運用データを追加で削減する必要が生じ得る。
【0008】
本発明の目的は、上記の技術課題を解決し、AIモデルでの推論に用いる運用データの重要度を計算し、重要度の低い運用データを推論に用いないようにすることで、AIモデルの精度劣化を抑えながら推論用データベースの容量を削減できる、AIモデルを用いたネットワーク運用システム、方法及びプログラムを提供することにある。
【課題を解決するための手段】
【0009】
上記の目的を達成するために、本発明は、ネットワークから収集した運用データをAIモデルに適用して得られる推論結果を用いてネットワークを運用するシステムにおいて、ネットワークから情報の項目ごとに運用データを取得してデータベースに保存し、保存した運用データを用いてAIモデルを訓練し、AIモデルを訓練した運用データの項目ごとに重要度を計算し、重要度が所定の上位条件を充足しない項目の運用データをデータベースから削除し、重要度が所定の上位条件を充足する項目の運用データを用いてAIモデルを再訓練し、再訓練したAIモデルに前記重要度が所定の上位条件を充足する項目の運用データを適用して推論結果を出力するようにした。
【発明の効果】
【0010】
本発明によれば、AIモデルの精度劣化を最小限に抑えながらリアルタイム性の推論用データベースに保存する運用データを削減できるのでネットワークの運用コストを削減できる。また、推論用データベースの容量限界を見極めて重要度の低い運用データから削減をするので、AIモデルの精度劣化の頻度を最小限に抑えられる
【図面の簡単な説明】
(【0011】以降は省略されています)
この特許をJ-PlatPat(特許庁公式サイト)で参照する
関連特許
KDDI株式会社
光増幅器
20日前
KDDI株式会社
光増幅器
20日前
KDDI株式会社
光増幅器
7日前
KDDI株式会社
光増幅器
7日前
KDDI株式会社
光接続ノード
7日前
KDDI株式会社
解析装置及びプログラム
1か月前
KDDI株式会社
緊急ネットワーク分離方法
8日前
KDDI株式会社
情報処理装置及び情報処理方法
6日前
KDDI株式会社
情報処理装置及び情報処理方法
1か月前
KDDI株式会社
情報処理装置及び情報処理方法
1か月前
KDDI株式会社
情報処理装置及び情報処理方法
1か月前
KDDI株式会社
情報処理装置及び情報処理方法
1か月前
KDDI株式会社
情報処理装置及び情報処理方法
20日前
KDDI株式会社
情報処理装置及び情報処理方法
20日前
KDDI株式会社
情報処理装置及び情報処理方法
6日前
KDDI株式会社
情報処理装置及び情報処理方法
6日前
KDDI株式会社
基地局装置およびその通信方法
1日前
KDDI株式会社
情報処理装置及び情報処理方法
1日前
KDDI株式会社
通信制御システム及び通信制御方法
14日前
KDDI株式会社
通信制御システム及び通信制御方法
14日前
KDDI株式会社
通信制御システム及び通信制御方法
14日前
KDDI株式会社
通信制御システム及び通信制御方法
14日前
KDDI株式会社
ネットワーク制御装置及びプログラム
1か月前
KDDI株式会社
通信装置、無線デバイス及びプログラム
1か月前
KDDI株式会社
認証装置、認証方法及び認証プログラム
1か月前
KDDI株式会社
中継装置、中継方法及び中継プログラム
29日前
KDDI株式会社
認証装置、認証方法及び認証プログラム
29日前
KDDI株式会社
通信装置、無線デバイス及びプログラム
10日前
KDDI株式会社
飛行体、情報処理装置及び情報処理方法
10日前
KDDI株式会社
通信装置、無線デバイス及びプログラム
1か月前
KDDI株式会社
無線デバイス及びコンピュータプログラム
1か月前
KDDI株式会社
情報処理装置、情報処理方法及びプログラム
2日前
KDDI株式会社
支援処理装置、支援処理方法及びプログラム
20日前
KDDI株式会社
情報処理装置、情報処理方法及びプログラム
2日前
KDDI株式会社
情報処理装置、情報処理方法及びプログラム
1か月前
KDDI株式会社
情報処理装置、情報処理方法及びプログラム
1か月前
続きを見る
他の特許を見る