TOP
|
特許
|
意匠
|
商標
特許ウォッチ
Twitter
他の特許を見る
公開番号
2025143692
公報種別
公開特許公報(A)
公開日
2025-10-02
出願番号
2024043053
出願日
2024-03-19
発明の名称
加工装置
出願人
シチズン時計株式会社
代理人
弁理士法人秀和特許事務所
主分類
B23D
79/02 20060101AFI20250925BHJP(工作機械;他に分類されない金属加工)
要約
【課題】作業性を高めることのできる加工装置を提供する。
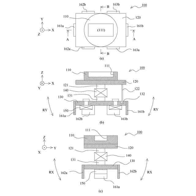
【解決手段】第1加工対象物を第2加工対象物の加工面上に運搬し、かつ前記第1加工対象物を前記第2加工対象物の面方向に移動させるロボットハンドユニット100を備え、ロボットハンドユニット100による前記移動によって擦り合わせ動作を行う加工装置であって、ロボットハンドユニット100は、前記第1加工対象物が運搬される際には前記第1加工対象物を鉛直方向に保持し、かつ前記擦り合わせ動作がなされる際には前記第1加工対象物に対する鉛直方向の保持を解除可能な電磁石150を備えることを特徴とする。
【選択図】図2
特許請求の範囲
【請求項1】
第1加工対象物を第2加工対象物の加工面上に運搬し、かつ前記第1加工対象物を前記第2加工対象物の加工面の面方向に移動させる運搬手段を備え前記運搬手段による前記移動によって前記第1加工対象物と前記第2加工対象物との擦り合わせ動作を行う加工装置であって、
前記運搬手段は、前記第1加工対象物が運搬される際には前記第1加工対象物を保持し、かつ前記擦り合わせ動作がなされる際には前記第1加工対象物に対する保持を解除可能な保持手段を備えることを特徴とする加工装置。
続きを表示(約 780 文字)
【請求項2】
前記擦り合わせ動作の際においては、前記第1加工対象物の重心が前記第2加工対象物の加工面の範囲外とならない範囲で前記第1加工対象物は移動するように前記運搬手段を制御することを特徴とする請求項1に記載の加工装置。
【請求項3】
前記保持手段は前記第1加工対象物を鉛直方向上方に吸着する吸着手段であり、
前記吸着手段は、前記擦り合わせ動作の際には前記第1加工対象物に接触しない位置に退避することを特徴とする請求項1または2に記載の加工装置。
【請求項4】
前記保持手段は、前記面方向に対する傾き方向への揺動を許容されていることを特徴とする請求項1または2に記載の加工装置。
【請求項5】
前記擦り合わせ動作の際に、前記第1加工対象物を押圧して移動させる複数のガイド部材を備え、
所定のガイド部材に押圧され、前記第1加工対象物が移動する際に、前記第1加工対象物の移動方向の位置で前記第1加工対象物に前記所定のガイド部材とは別のガイド部材が接しないように、前記複数のガイド部材は配置されていることを特徴とする請求項1または2に記載の加工装置。
【請求項6】
前記第2加工対象物は、前記擦り合わせ動作が行われている間は、水平方向に圧縮されない状態で設置されていることを特徴とする請求項1または2に記載の加工装置。
【請求項7】
前記擦り合わせ動作後に前記第1加工対象物に加工を施す加工手段を備えることを特徴とする請求項1または2の加工装置。
【請求項8】
前記擦り合わせ動作によって、前記第1加工対象物に対して判明した切削対象箇所を切削するように、前記加工手段によりキサゲ加工が行われることを特徴とする請求項7に記載の加工装置。
発明の詳細な説明
【技術分野】
【0001】
本発明は、擦り合わせ動作を行う加工装置に関する。
続きを表示(約 1,100 文字)
【背景技術】
【0002】
キサゲ作業においては、加工対象物を擦り合わせ相手面(基準面)と擦り合わせ、加工対象物の表面の接触部(切削すべき箇所)を明らかにする擦り合わせ動作と、キサゲ工具を用いて接触部を削り取るキサゲ加工が行われる。例えば、特許文献1,2には、擦り合わせ動作を行うための加工装置に関する技術が開示されている。
【先行技術文献】
【特許文献】
【0003】
特開昭63-318258号公報
実開昭61-35737号公報
【発明の概要】
【発明が解決しようとする課題】
【0004】
上述した特許文献1,2に開示されたように、擦り合わせ動作を行うための加工装置が知られているが、加工対象物を装置にセットする作業は人手に頼る必要がある。
【0005】
本発明の目的は、加工対象物の運搬から擦り合わせ動作までを自動化し、作業性を高めることのできる加工装置を提供することにある。
【課題を解決するための手段】
【0006】
本発明は、上記課題を解決するために以下の手段を採用した。
【0007】
すなわち、本発明の加工装置は、
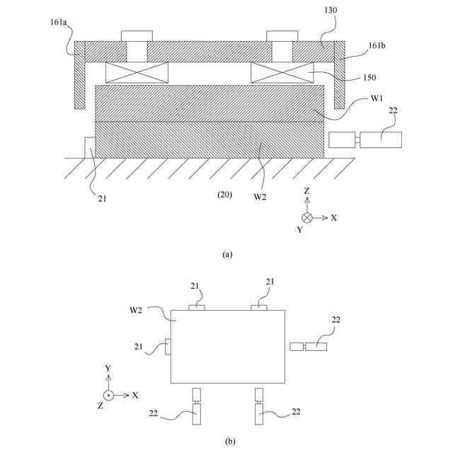
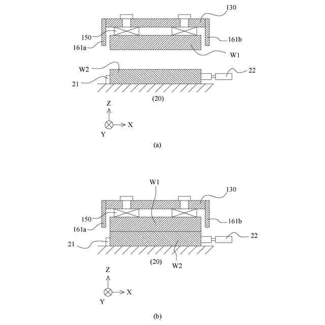
第1加工対象物を第2加工対象物の加工面上に運搬し、かつ前記第1加工対象物を前記第2加工対象物の加工面の面方向に移動させる運搬手段を備え前記運搬手段による前記移動によって前記第1加工対象物と前記第2加工対象物との擦り合わせ動作を行う加工装置であって、
前記運搬手段は、前記第1加工対象物が運搬される際には前記第1加工対象物を保持し、かつ前記擦り合わせ動作がなされる際には前記第1加工対象物に対する保持を解除可能な保持手段を備えることを特徴とする。
【0008】
本発明によれば、第1加工対象物を運搬する作業と、擦り合わせ動作とを行うことができるので、作業性を高めることができる。また、擦り合わせ動作がなされる際には第1加工対象物に対する保持が解除されるため、第1加工対象物に対して鉛直方向の負荷は作用しない。従って、擦り合わせ動作の際に、第1加工対象物は、鉛直方向に変形しない状態で擦り合わせ動作がなされる。
【0009】
前記擦り合わせ動作の際においては、前記第1加工対象物の重心が前記第2加工対象物の加工面の範囲外とならない範囲で前記第1加工対象物は移動するように前記運搬手段を制御するとよい。
【0010】
これにより、第1加工対象物が第2加工対象物からずり落ちてしまうことはない。
(【0011】以降は省略されています)
この特許をJ-PlatPat(特許庁公式サイト)で参照する
関連特許
シチズン時計株式会社
腕時計
25日前
シチズン時計株式会社
測定装置
25日前
シチズン時計株式会社
表示車、時計用ムーブメント及び時計
25日前
シチズン時計株式会社
判定装置、加工装置、判定方法、及び判定プログラム
26日前
シチズン時計株式会社
自動キサゲ加工装置、自動キサゲ加工方法、情報処理装置、加工指示データの生成方法、及び加工指示データ生成プログラム
21日前
個人
タップ
6か月前
個人
フライス盤
1か月前
個人
加工機
5か月前
麗豊実業股フン有限公司
ラクトバチルス・パラカセイNB23菌株及びそれを筋肉量の増加や抗メタボリック症候群に用いる用途
5か月前
株式会社北川鉄工所
回転装置
4か月前
日東精工株式会社
ねじ締め機
5か月前
日東精工株式会社
ねじ締め機
26日前
日東精工株式会社
ねじ締め機
1か月前
日東精工株式会社
ねじ締め機
2か月前
株式会社不二越
ドリル
5か月前
株式会社ダイヘン
溶接電源装置
3か月前
株式会社ダイヘン
溶接電源装置
3か月前
日東精工株式会社
ねじ締め装置
1か月前
株式会社ダイヘン
溶接電源装置
2か月前
日東精工株式会社
ねじ締め装置
4か月前
ダイニチ工業株式会社
配膳治具
今日
株式会社FUJI
工作機械
25日前
株式会社FUJI
工作機械
4か月前
株式会社FUJI
工作機械
1か月前
株式会社FUJI
工作機械
3か月前
個人
切削油供給装置
2か月前
株式会社ダイヘン
多層盛り溶接方法
6か月前
株式会社アンド
半田付け方法
1か月前
中国電力株式会社
養生シート
19日前
エフ・ピー・ツール株式会社
リーマ
6か月前
日進工具株式会社
エンドミル
6か月前
株式会社アンド
半田付け方法
5か月前
株式会社アンド
半田付け方法
5か月前
キヤノン電子株式会社
加工システム
2か月前
株式会社富田製作所
支持構造
5日前
個人
型枠製造装置のフレーム
1か月前
続きを見る
他の特許を見る