TOP
|
特許
|
意匠
|
商標
特許ウォッチ
Twitter
他の特許を見る
公開番号
2025143687
公報種別
公開特許公報(A)
公開日
2025-10-02
出願番号
2024043039
出願日
2024-03-19
発明の名称
磁気ディスク装置
出願人
株式会社東芝
,
東芝デバイス&ストレージ株式会社
代理人
弁理士法人酒井国際特許事務所
主分類
G11B
5/596 20060101AFI20250925BHJP(情報記憶)
要約
【課題】サーボデータのリードエラーの発生頻度を低減すること。
【解決手段】実施形態の磁気ディスク装置は、第1サーボデータが記録されたサーボセクタが形成された磁気ディスクと、前記磁気ディスクに対してデータのライト及びリードを実行する磁気ヘッドと、ライト対象のデータ、及び前記磁気ディスクからリードしたデータを記憶可能な第1メモリと、第2サーボデータを記憶する第2メモリと、前記サーボセクタ上を通過したときに前記磁気ヘッドによってリードされた前記第1サーボデータに基づいて、前記第2メモリから、前記第1サーボデータに対応する前記第2サーボデータを取得し、前記第1サーボデータ、及び前記第2サーボデータを用いて前記磁気ヘッドの位置決め制御を実行するコントローラと、を備える。
【選択図】図3
特許請求の範囲
【請求項1】
第1サーボデータが記録されたサーボセクタが形成された磁気ディスクと、
前記磁気ディスクに対してデータのライト及びリードを実行する磁気ヘッドと、
ライト対象のデータ、及び前記磁気ディスクからリードしたデータを記憶可能な第1メモリと、
第2サーボデータを記憶する第2メモリと、
前記サーボセクタ上を通過したときに前記磁気ヘッドによってリードされた前記第1サーボデータに基づいて、前記第2メモリから、前記第1サーボデータに対応する前記第2サーボデータを取得し、
前記第1サーボデータ、及び前記第2サーボデータを用いて前記磁気ヘッドの位置決め制御を実行するコントローラと、
を備える磁気ディスク装置。
続きを表示(約 500 文字)
【請求項2】
前記コントローラは、
前記第2メモリから取得した前記第2サーボデータを、前記第1メモリへ記憶させ、
前記第1サーボデータ、及び前記第1メモリに記憶される前記第2サーボデータ用いて前記磁気ヘッドの位置決め制御を実行する、
請求項1に記載の磁気ディスク装置。
【請求項3】
前記コントローラは、
前記第2メモリから取得した前記第2サーボデータを、前記第1メモリを介さずに取得し、前記磁気ヘッドの位置決め制御を実行する、
請求項1に記載の磁気ディスク装置。
【請求項4】
前記コントローラは、
前記第2メモリの動作を制御するインターフェース回路を有し、
前記インターフェース回路に前記第2サーボデータをリードさせ、
前記インターフェース回路から前記第2サーボデータを前記第1メモリを介さずに取得する、
請求項3に記載の磁気ディスク装置。
【請求項5】
前記第2サーボデータは、
RROの補正量を示すデータである、
請求項1に記載の磁気ディスク装置。
発明の詳細な説明
【技術分野】
【0001】
本発明の実施形態は、磁気ディスク装置に関する。
続きを表示(約 1,400 文字)
【背景技術】
【0002】
従来、磁気ディスク装置においては、磁気ディスクに記憶されたサーボデータを磁気ヘッドにリードさせることで磁気ヘッドの位置決めを行う。磁気ヘッドによるサーボデータのリードエラーが発生すると、磁気ディスクが一回転して再び同じ位置からサーボデータのリードを試みるリトライ処理が発生し、待ち時間が生ずることがある。
【先行技術文献】
【特許文献】
【0003】
特開2022-047914号公報
【発明の概要】
【発明が解決しようとする課題】
【0004】
一つの実施形態は、サーボデータのリードエラーの発生頻度を低減可能な磁気ディスク装置を提供することを目的とする。
【課題を解決するための手段】
【0005】
実施形態の磁気ディスク装置は、第1サーボデータが記録されたサーボセクタが形成された磁気ディスクと、前記磁気ディスクに対してデータのライト及びリードを実行する磁気ヘッドと、ライト対象のデータ、及び前記磁気ディスクからリードしたデータを記憶可能な第1メモリと、第2サーボデータを記憶する第2メモリと、前記サーボセクタ上を通過したときに前記磁気ヘッドによってリードされた前記第1サーボデータに基づいて、前記第2メモリから、前記第1サーボデータに対応する前記第2サーボデータを取得し、前記第1サーボデータ、及び前記第2サーボデータを用いて前記磁気ヘッドの位置決め制御を実行するコントローラと、を備える。
【図面の簡単な説明】
【0006】
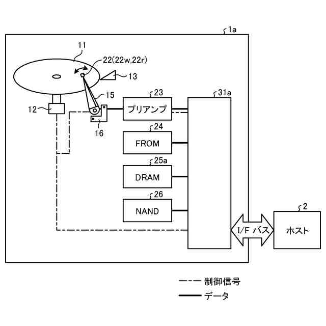
図1は、実施形態1にかかる磁気ディスク装置の構成の一例を示す模式的な図である。
図2は、実施形態1にかかる磁気ディスクの構成の一例を示す模式的な図である。
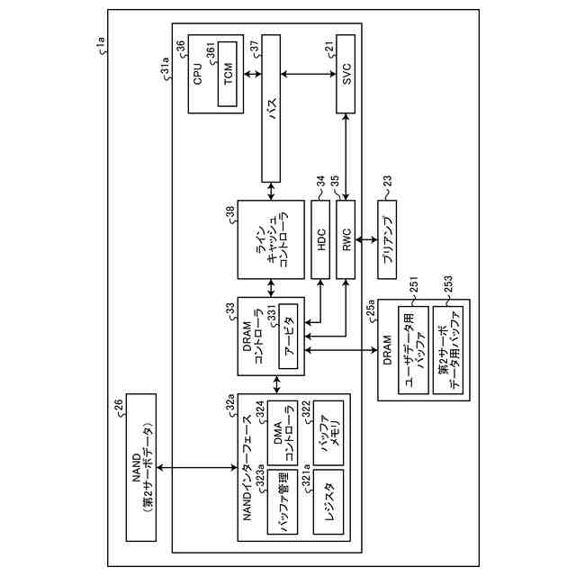
図3は、実施形態1にかかるSoCの構成の一例を示すブロック図である。
図4は、実施形態1にかかるサーボデータの取得処理の流れの一例を示すフローチャートである。
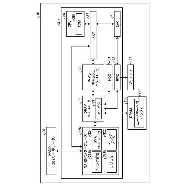
図5は、実施形態2にかかるSoCの構成の一例を示すブロック図である。
図6は、実施形態2にかかるサーボデータの取得処理の流れの一例を示すフローチャートである。
【発明を実施するための形態】
【0007】
以下に添付図面を参照して、実施形態にかかる磁気ディスク装置を詳細に説明する。なお、これらの実施形態により本発明が限定されるものではない。
【0008】
(実施形態1)
図1は、第1の実施形態にかかる磁気ディスク装置1aの構成の一例を示す模式的な図である。
【0009】
磁気ディスク装置1aは、ホスト2に接続される。磁気ディスク装置1aは、ホスト2からアクセスコマンドを受信することができる。アクセスコマンドは、例えば、ライトコマンドやリードコマンドである。
【0010】
磁気ディスク装置1aは、表面に磁性層が形成された磁気ディスク11を備える。磁気ディスク装置1aは、アクセスコマンドに応じて磁気ディスク11に対するアクセスを行う。アクセスは、データのライトとデータのリードとを含む。詳細には、データのライトおよびリードは、磁気ヘッド22によって行われる。
(【0011】以降は省略されています)
この特許をJ-PlatPat(特許庁公式サイト)で参照する
関連特許
株式会社東芝
センサ
1か月前
株式会社東芝
モータ
1か月前
株式会社東芝
端子台
11日前
株式会社東芝
センサ
1か月前
株式会社東芝
吸音装置
1か月前
株式会社東芝
電子装置
1か月前
株式会社東芝
除去装置
4日前
株式会社東芝
電子装置
24日前
株式会社東芝
電子回路
20日前
株式会社東芝
金型構造
1か月前
株式会社東芝
半導体装置
1か月前
株式会社東芝
半導体装置
1か月前
株式会社東芝
粒子加速器
1か月前
株式会社東芝
半導体装置
26日前
株式会社東芝
半導体装置
27日前
株式会社東芝
真空バルブ
19日前
株式会社東芝
半導体装置
26日前
株式会社東芝
高周波回路
20日前
株式会社東芝
半導体装置
20日前
株式会社東芝
半導体装置
20日前
株式会社東芝
半導体装置
26日前
株式会社東芝
半導体装置
26日前
株式会社東芝
半導体装置
20日前
株式会社東芝
真空バルブ
25日前
株式会社東芝
半導体装置
20日前
株式会社東芝
半導体装置
20日前
株式会社東芝
半導体装置
25日前
株式会社東芝
半導体装置
1か月前
株式会社東芝
半導体装置
24日前
株式会社東芝
半導体装置
24日前
株式会社東芝
半導体装置
24日前
株式会社東芝
半導体装置
1か月前
株式会社東芝
半導体装置
26日前
株式会社東芝
半導体装置
1か月前
株式会社東芝
半導体装置
1か月前
株式会社東芝
半導体装置
1か月前
続きを見る
他の特許を見る