TOP
|
特許
|
意匠
|
商標
特許ウォッチ
Twitter
他の特許を見る
10個以上の画像は省略されています。
公開番号
2025143096
公報種別
公開特許公報(A)
公開日
2025-10-01
出願番号
2024042838
出願日
2024-03-18
発明の名称
木製梁の接合構造
出願人
株式会社竹中工務店
,
株式会社スクリムテックジャパン
代理人
弁理士法人太陽国際特許事務所
主分類
E04B
1/58 20060101AFI20250924BHJP(建築物)
要約
【課題】コネクタ同士の干渉を避け易い木製梁の接合構造を提供する
【解決手段】木製梁の接合構造は、複数の木製梁(梁30)と、木製梁の端部がそれぞれ接する木製コア(コア40)と、それぞれの木製梁の内部から木製コアの内部に亘って埋設され、木製梁と木製コアとを接合するコネクタ70と、を備える。
【選択図】図4
特許請求の範囲
【請求項1】
複数の木製梁と、
前記木製梁の端部がそれぞれ接する木製コアと、
それぞれの前記木製梁の内部から前記木製コアの内部に亘って埋設され、前記木製梁と前記木製コアとを接合するコネクタと、
を備えた、
木製梁の接合構造。
続きを表示(約 180 文字)
【請求項2】
前記複数の木製梁は、いずれも同一直線上に配置されず、
前記木製コアの繊維方向は、
前記木製梁のうち、最も応力が大きい木製梁に沿う方向である、
請求項1に記載の木製梁の接合構造。
【請求項3】
前記木製コアの強度は前記木製梁の強度より大きい、
請求項1または2に記載の木製梁の接合構造。
発明の詳細な説明
【技術分野】
【0001】
本発明は、木製梁の接合構造に関する。
続きを表示(約 1,200 文字)
【背景技術】
【0002】
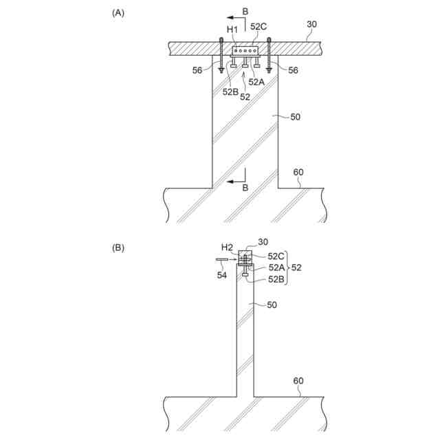
下記特許文献1には、第1軸方向に沿う第1木製構造部材と、第2軸方向に沿う第2木製構造部材と、の接合構造が示されている。この接合構造においては、第1木製構造部材と第2木製構造部材との間に、PC製構造部材を配置している。また、PC製構造部材の両側の第1木製構造部材に亘って第1棒状材が埋設され、同様に、PC製構造部材の両側の第2木製構造部材に亘って第2棒状材が埋設されている。
【先行技術文献】
【特許文献】
【0003】
特開2022-62837号公報
【発明の概要】
【発明が解決しようとする課題】
【0004】
上記特許文献1に示されたように、互いに対向する木製構造部材に亘って棒状材などのコネクタを配置する場合、交差するコネクタの干渉を避ける必要がある。このため、木製構造部材及びPC製構造部材の断面寸法を、互いに交差するコネクタを重ねて配置できる大きさだけ確保する必要がある。このような場合、部材の断面寸法が過剰に大きくなる場合がある。また、木製構造部材が直線上に配置されない場合は、コネクタの配置が難しい。
【0005】
本発明は、上記事実を考慮し、コネクタ同士の干渉を避け易い木製梁の接合構造を提供することを目的とする。
【課題を解決するための手段】
【0006】
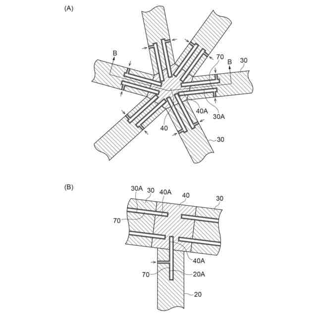
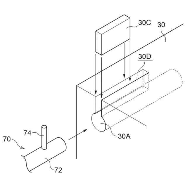
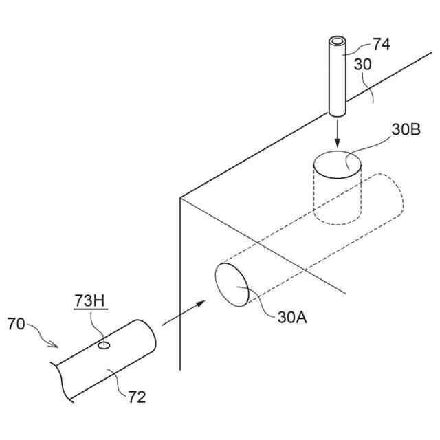
請求項1の木製梁の接合構造は、複数の木製梁と、前記木製梁の端部がそれぞれ接する木製コアと、それぞれの前記木製梁の内部から前記木製コアの内部に亘って埋設され、前記木製梁と前記木製コアとを接合するコネクタと、を備える。
【0007】
請求項1の木製梁の接合構造では、木製コアに木製梁の端部が接して配置されている。そして、木製梁と木製コアとを接合するコネクタは木製梁の内部から木製コアの内部に亘って埋設される。これにより、外観上、木製部品のみが露出する。
【0008】
コネクタはそれぞれの木製梁と木製コアとを接合するため、対向する梁同士に亘って木製コアを貫通する長いコネクタを配置する必要がなく、コネクタ同士の干渉を避けられる。また、対向する梁が直線上に配置されない場合でも、それぞれの梁の軸方向に沿ってコネクタを配置できるので、接合強度を確保し易い。
【0009】
請求項2の木製梁の接合構造は、請求項1に記載の木製梁の接合構造において、前記複数の木製梁は、いずれも同一直線上に配置されず、前記木製コアの繊維方向は、前記木製梁のうち、最も応力が大きい木製梁に沿う方向である。
【0010】
請求項2の木製梁の接合構造では、木製コアの繊維方向が、複数の木製梁のうち、最も応力が大きい木製梁に沿う方向である。複数の木製梁から応力が集中する木製コアにおいて、応力が大きくなる方向に木製コアの繊維方向を揃えることで、応力集中に対応できる。
(【0011】以降は省略されています)
この特許をJ-PlatPat(特許庁公式サイト)で参照する
関連特許
株式会社竹中工務店
立体架構
3日前
株式会社竹中工務店
防火設備
19日前
株式会社竹中工務店
吸音構造
4日前
株式会社竹中工務店
補助セット
4日前
株式会社竹中工務店
管理システム
17日前
株式会社竹中工務店
給湯システム
1か月前
株式会社竹中工務店
建物の施工方法
27日前
株式会社竹中工務店
熱回収システム
1か月前
株式会社竹中工務店
木製梁の接合構造
5日前
株式会社竹中工務店
木製梁の接合構造
5日前
株式会社竹中工務店
喫煙室換気システム
25日前
株式会社竹中工務店
冷温水供給システム
3日前
株式会社竹中工務店
冷温水供給システム
3日前
日本製鉄株式会社
耐火構造物
19日前
株式会社竹中工務店
床石材設置構造、及び浸透方法
28日前
日本製鉄株式会社
耐火構造物
19日前
日本製鉄株式会社
耐火構造物
19日前
株式会社竹中工務店
管理システム、及び管理プログラム
4日前
株式会社竹中工務店
管理システム、及び管理プログラム
11日前
株式会社竹中工務店
表示システム、及び表示プログラム
11日前
株式会社竹中工務店
評価システム、及び評価プログラム
7日前
株式会社竹中工務店
情報処理装置、及び情報処理プログラム
19日前
株式会社竹中工務店
CO2固定量評価方法及びセメント量評価方法
17日前
株式会社竹中工務店
浸水リスク評価支援装置及び浸水リスク評価支援プログラム
1か月前
個人
接合構造
今日
個人
屋台
17日前
個人
野良猫ハウス
1か月前
個人
フェンス
1か月前
個人
転落防止用手摺
27日前
個人
キャチクランプ
4か月前
個人
居住車両用駐車場
1か月前
個人
筋交自動設定装置
7日前
個人
水害と共にある家
4か月前
積水樹脂株式会社
柵体
26日前
個人
地下型マンション
3か月前
ニチハ株式会社
建築板
1か月前
続きを見る
他の特許を見る