TOP
|
特許
|
意匠
|
商標
特許ウォッチ
Twitter
他の特許を見る
公開番号
2025142890
公報種別
公開特許公報(A)
公開日
2025-10-01
出願番号
2024042491
出願日
2024-03-18
発明の名称
表面弾性波フィルタ用圧電体材料、表面弾性波フィルタ用圧電体基板、表面弾性波フィルタ
出願人
住友金属鉱山株式会社
代理人
個人
,
個人
主分類
H03H
9/25 20060101AFI20250924BHJP(基本電子回路)
要約
【課題】新規な表面弾性波フィルタ用圧電体材料を提供する。
【解決手段】ランタン-タングステン窒化物を含有する表面弾性波フィルタ用圧電体材料。
【選択図】図3
特許請求の範囲
【請求項1】
ランタン-タングステン窒化物を含有する表面弾性波フィルタ用圧電体材料。
続きを表示(約 210 文字)
【請求項2】
前記ランタン-タングステン窒化物が、LaWN
3
で表される請求項1に記載の表面弾性波フィルタ用圧電体材料。
【請求項3】
ランタン-タングステン窒化物を含有する表面弾性波フィルタ用圧電体基板。
【請求項4】
請求項3に記載の表面弾性波フィルタ用圧電体基板と、
前記表面弾性波フィルタ用圧電体基板の表面に配置された電極と、を有する表面弾性波フィルタ。
発明の詳細な説明
【技術分野】
【0001】
本発明は、表面弾性波フィルタ用圧電体材料、表面弾性波フィルタ用圧電体基板、表面弾性波フィルタに関する。
続きを表示(約 1,100 文字)
【背景技術】
【0002】
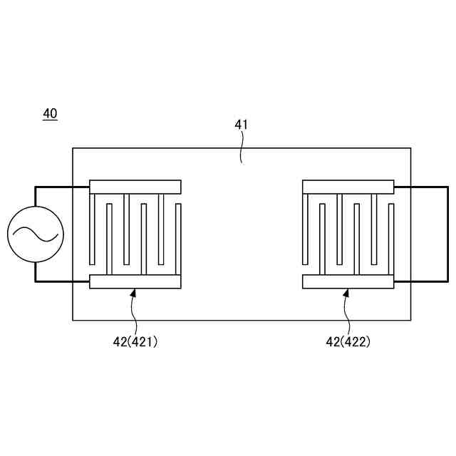
表面弾性波フィルタ(SAW(Surface acoustic wave)フィルタ)は、特定の周波数の電気信号を選択的に取り出すことができるフィルタであり、ロスが少なく、優れたカットオフ特性を有する。このため、表面弾性波フィルタは、スマートフォン等の各種携帯端末や、無線LAN等の無線通信機器、各種チュナー等に用いられている。
【0003】
表面弾性波フィルタは、圧電体基板の表面に櫛型電極を配置した構造を有している。例えば特許文献1には、圧電体基板材料に電気的に接続する導電層としてRuを配したことを特徴とする表面弾性波フィルタが開示され、圧電体基板の材料として、LiTaOを用いることが開示されている。
【先行技術文献】
【特許文献】
【0004】
特開2003-188673号公報
【非特許文献】
【0005】
J.J Campbell and W.R. Jones, IEEE TRANSACTIONS ON SONICS AND ULTRASONICS, OCTOBER 1968, VOL. 15, Issue 4, P.209-217
J. Kushibiki et al., IEEE Ultrasonics, Ferroelectrics and Frequency Control, September 1999, Vol.46, Issue 5, P.1315-1323
【発明の概要】
【発明が解決しようとする課題】
【0006】
表面弾性波フィルタの圧電体基板に用いる圧電体材料として、タンタル酸リチウムや、ニオブ酸リチウムが用いられてきた。
【0007】
しかしながら、近年では、周波数帯の異なる複数の表面弾性波フィルタをデバイスに搭載した多バンド利用が求められている。このため、表面弾性波フィルタの圧電体基板に好適に用いることができる、新規な圧電体材料が求められていた。
【0008】
そこで上記従来技術が有する問題に鑑み、本発明の一側面では、新規な表面弾性波フィルタ用圧電体材料を提供することを目的とする。
【課題を解決するための手段】
【0009】
上記課題を解決するため本発明の一態様によれば、
ランタン-タングステン窒化物を含有する表面弾性波フィルタ用圧電体材料を提供する。
【発明の効果】
【0010】
本発明の一態様によれば、新規な表面弾性波フィルタ用圧電体材料を提供することができる。
【図面の簡単な説明】
(【0011】以降は省略されています)
この特許をJ-PlatPat(特許庁公式サイト)で参照する
関連特許
住友金属鉱山株式会社
銅精鉱の製錬方法
今日
住友金属鉱山株式会社
銅精鉱の製錬方法
今日
住友金属鉱山株式会社
ニッケル粉末の製造方法
今日
住友金属鉱山株式会社
透過型電子顕微鏡用試料の作製方法
12日前
住友金属鉱山株式会社
透過型電子顕微鏡用試料の作製方法
12日前
住友金属鉱山株式会社
電極棒の連結作業台および電極棒の連結作業方法
今日
住友金属鉱山株式会社
測定制御システム、プログラムおよび試料測定方法
6日前
住友金属鉱山株式会社
可燃性粉末の反応挙動評価方法及び反応挙動評価装置
今日
住友金属鉱山株式会社
表面弾性波フィルタ用圧電体材料、表面弾性波フィルタ用圧電体基板、表面弾性波フィルタ
6日前
住友金属鉱山株式会社
ニッケル及びコバルト塩水溶液の製造方法、硫酸ニッケル及び硫酸コバルトの製造方法、正極材料の合成のための前駆体化合物の製造方法
4日前
住友金属鉱山株式会社
合金粉末及びその製造方法、並びにニッケル及びコバルト鉱酸塩水溶液の製造方法、硫酸ニッケル及び硫酸コバルトの製造方法、リチウムイオン電池用正極材料の合成のための前駆体化合物を製造する方法
5日前
エイブリック株式会社
増幅器
5日前
株式会社大真空
圧電振動デバイス
2か月前
エイブリック株式会社
電圧検出器
1か月前
日本電波工業株式会社
圧電デバイス
2か月前
ローム株式会社
オペアンプ
2か月前
株式会社トーキン
ノイズフィルタ
1か月前
太陽誘電株式会社
マルチプレクサ
4か月前
太陽誘電株式会社
弾性波デバイス
3か月前
ローム株式会社
オペアンプ
2か月前
ローム株式会社
オペアンプ
2か月前
株式会社村田製作所
増幅回路
1か月前
株式会社半導体エネルギー研究所
駆動回路
8日前
個人
誤り訂正装置及び誤り訂正方法
1か月前
株式会社大真空
恒温槽型圧電発振器
1か月前
三菱電機株式会社
半導体装置
2か月前
ローム株式会社
半導体集積回路
2か月前
ローム株式会社
オペアンプ回路
2か月前
株式会社村田製作所
高周波回路
1か月前
ローム株式会社
半導体集積回路
2か月前
ローム株式会社
半導体スイッチ
3か月前
ローム株式会社
半導体スイッチ
3か月前
ローム株式会社
半導体集積回路
1か月前
ローム株式会社
オペアンプ回路
2か月前
ローム株式会社
オペアンプ回路
2か月前
ローム株式会社
オシレータ回路
3か月前
続きを見る
他の特許を見る