TOP
|
特許
|
意匠
|
商標
特許ウォッチ
Twitter
他の特許を見る
10個以上の画像は省略されています。
公開番号
2025141292
公報種別
公開特許公報(A)
公開日
2025-09-29
出願番号
2024041166
出願日
2024-03-15
発明の名称
表示装置および表示装置の制御方法
出願人
セイコーエプソン株式会社
代理人
個人
,
個人
,
個人
,
個人
主分類
G09F
9/00 20060101AFI20250919BHJP(教育;暗号方法;表示;広告;シール)
要約
【課題】液晶パネルの劣化を効率よく検出できる表示装置を提供する。
【解決手段】光源と、互いに対向して設けられた第1基板および第2基板と、前記第1基板と前記第2基板との間に設けられた液晶層と、を有し、前記光源から出射された光が入射する表示領域と、前記表示領域の周辺の周辺領域と、を備える液晶パネルと、前記第1基板の法線方向からみて、前記液晶層の前記周辺領域と重なる部分に第1波長域の光を照射する光照射部と、前記光照射部によって前記液晶層の前記部分に前記第1波長域の光が照射された場合に、前記液晶層の前記部分から出射される前記第1波長域よりも長波長域の光を検出する光検出部と、を有する、表示装置。
【選択図】図4
特許請求の範囲
【請求項1】
光源と、
互いに対向して設けられた第1基板および第2基板と、前記第1基板と前記第2基板との間に設けられた液晶層と、を有し、前記光源から出射された光が入射する表示領域と、前記表示領域の周辺の周辺領域と、を備える液晶パネルと、
前記第1基板の法線方向からみて、前記液晶層の前記周辺領域と重なる部分に第1波長域の光を照射する光照射部と、
前記光照射部によって前記液晶層の前記部分に前記第1波長域の光が照射された場合に、前記液晶層の前記部分から出射される前記第1波長域よりも長波長域の光を検出する光検出部と、
を有する、表示装置。
続きを表示(約 1,000 文字)
【請求項2】
請求項1において、
前記光照射部および前記光検出部は、前記法線方向からみて、前記液晶層の前記部分と重なる、表示装置。
【請求項3】
請求項2において、
前記光照射部は、前記第1基板の前記液晶層とは反対側に設けられ、
前記光検出部は、前記第2基板の前記液晶層とは反対側に設けられている、表示装置。
【請求項4】
請求項2において、
前記光照射部は、前記第1基板の前記液晶層側に設けられ、
前記光検出部は、前記第2基板の前記液晶層側に設けられている、表示装置。
【請求項5】
請求項2において、
前記光照射部および前記光検出部は、前記第1基板の前記液晶層とは反対側に設けられている、表示装置。
【請求項6】
請求項2において、
前記光照射部および前記光検出部は、前記第1基板の前記液晶層側に設けられている、表示装置。
【請求項7】
請求項1において、
前記光照射部から出射された前記第1波長域の光を、前記液晶層の前記部分に導く第1導光部と、
前記液晶層の前記部分から出射された前記長波長域の光を、前記光検出部に導く第2導光部と、
を有する、表示装置。
【請求項8】
請求項7において、
前記第1導光部から出射された前記第1波長域の光を、前記液晶層の前記部分に向けて集光する第1集光部と、
前記液晶層の前記部分から出射された前記長波長域の光を、前記第2導光部に向けて集光する第2集光部と、
を有する、表示装置。
【請求項9】
光源と、
互いに対向して設けられた第1基板および第2基板と、前記第1基板と前記第2基板との間に設けられた液晶層と、を有し、前記光源から出射された光が入射する表示領域と、
前記表示領域の周辺の周辺領域と、を備える液晶パネルと、
前記第1基板の法線方向からみて、前記液晶層の前記周辺領域と重なる部分に第1波長域の光を照射する光照射部と、
を有する表示装置の制御方法であって、
前記光照射部によって前記液晶層の前記部分に前記第1波長域の光が照射された場合に、前記液晶層の前記部分から出射される前記第1波長域よりも長波長域の光を検出する、表示装置の制御方法。
発明の詳細な説明
【技術分野】
【0001】
本発明は、表示装置および表示装置の制御方法に関する。
続きを表示(約 1,900 文字)
【背景技術】
【0002】
投射型の表示装置では、透過型の液晶パネルや反射型の液晶パネルに光源から出射された光を照射し、液晶パネルにより変調された透過光や反射光をスクリーン上に投射する。このような表示装置においては、光源から液晶パネルに高強度の光が出射される等の理由から、表示装置の劣化が発生しやすい。
【0003】
例えば特許文献1には、液晶パネルから出射された光束の色度または照度を光学センサーによって検出し、その検出結果に基づいて、光学像の画質状態を判定することにより、冷却手段を制御する液晶表示装置が記載されている。
【先行技術文献】
【特許文献】
【0004】
特開2008-40016号公報
【発明の概要】
【発明が解決しようとする課題】
【0005】
上記のような表示装置では、液晶パネルの劣化を効率よく検出することが望まれている。
【課題を解決するための手段】
【0006】
本発明に係る表示装置の一態様は、
光源と、
互いに対向して設けられた第1基板および第2基板と、前記第1基板と前記第2基板との間に設けられた液晶層と、を有し、前記光源から出射された光が入射する表示領域と、前記表示領域の周辺の周辺領域と、を備える液晶パネルと、
前記第1基板の法線方向からみて、前記液晶層の前記周辺領域と重なる部分に第1波長域の光を照射する光照射部と、
前記光照射部によって前記液晶層の前記部分に前記第1波長域の光が照射された場合に、前記液晶層の前記部分から出射される前記第1波長域よりも長波長域の光を検出する光検出部と、
を有する。
【0007】
本発明に係る表示装置の制御方法の一態様は、
光源と、
互いに対向して設けられた第1基板および第2基板と、前記第1基板と前記第2基板との間に設けられた液晶層と、を有し、前記光源から出射された光が入射する表示領域と、前記表示領域の周辺の周辺領域と、を備える液晶パネルと、
前記第1基板の法線方向からみて、前記液晶層の前記周辺領域と重なる部分に第1波長域の光を照射する光照射部と、
を有する表示装置の制御方法であって、
前記光照射部によって前記液晶層の前記部分に前記第1波長域の光が照射された場合に、前記液晶層の前記部分から出射される前記第1波長域よりも長波長域の光を検出する。
【図面の簡単な説明】
【0008】
第1実施形態に係る表示装置を模式的に示す図。
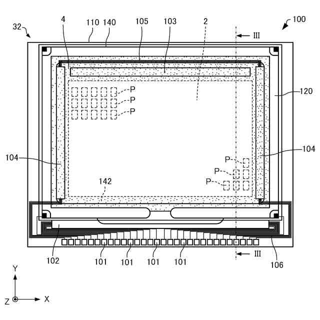
第1実施形態に係る表示装置の液晶パネルを模式的に示す平面図。
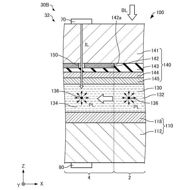
第1実施形態に係る表示装置の液晶パネルを模式的に示す断面図。
第1実施形態に係る表示装置を模式的に示す平面図。
第1実施形態に係る表示装置を模式的に示す断面図。
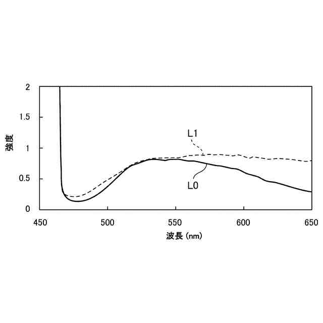
液晶層に青色光を照射したときのフォトルミネッセンスの経時変化を説明するためのグラフ。
液晶パネルの加速劣化試験におけるフォトルミネッセンスの経時変化を説明するためのグラフ。
液晶パネルの加速劣化試験におけるフォトルミネッセンスの経時変化を説明するためのグラフ。
液晶パネルの電気光学特性を説明するためのグラフ。
第1実施形態に係る表示装置の制御部の処理を説明するためのフローチャート。
第1実施形態の変形例に係る表示装置を模式的に示す断面図。
第2実施形態に係る表示装置を模式的に示す平面図。
第2実施形態に係る表示装置を模式的に示す断面図。
第2実施形態の変形例に係る表示装置を模式的に示す断面図。
第3実施形態に係る表示装置を模式的に示す平面図。
第3実施形態の変形例に係る表示装置を模式的に示す平面図。
第3実施形態の変形例に係る表示装置を模式的に示す平面図。
【発明を実施するための形態】
【0009】
以下、本発明の好適な実施形態について、図面を用いて詳細に説明する。なお、以下に説明する実施形態は、特許請求の範囲に記載された本発明の内容を不当に限定するものではない。また、以下で説明される構成の全てが本発明の必須構成要件であるとは限らない。
【0010】
1. 第1実施形態
1.1. 表示装置
1.1.1. 全体の構成
まず、第1実施形態に係る表示装置100について、図面を参照しながら説明する。図1は、第1実施形態に係る表示装置100を模式的に示す図である。
(【0011】以降は省略されています)
この特許をJ-PlatPat(特許庁公式サイト)で参照する
関連特許
個人
回転式カード学習具
29日前
個人
時刻表示機能つき手帳
1か月前
日本精機株式会社
表示装置
7日前
日本精機株式会社
表示装置
3か月前
日本精機株式会社
表示装置
1か月前
個人
計算用教具
3日前
中国電力株式会社
標示旗
13日前
日本精機株式会社
車両用表示装置
1か月前
日本精機株式会社
車両用表示装置
1か月前
日本精機株式会社
車両用表示装置
1か月前
日本精機株式会社
車両用センサ装置
3日前
個人
モデルで薔薇の花嫁様を描く為
24日前
トヨタ自動車株式会社
評価方法
2か月前
株式会社一弘社
情報表示板
1か月前
シャープ株式会社
表示装置
2か月前
シャープ株式会社
表示装置
14日前
個人
音楽教材
1か月前
個人
口唇閉鎖の訓練具
2か月前
パイオニア株式会社
表示装置
2か月前
ニチレイマグネット株式会社
磁着式電飾装置
13日前
株式会社半導体エネルギー研究所
半導体装置
1か月前
株式会社ノジマ
応対体験システム
2か月前
株式会社リコー
画像投射システム
14日前
個人
サインポスト
2か月前
BEST株式会社
吊り下げ表示部材
1か月前
シチズンファインデバイス株式会社
液晶表示装置
1か月前
シチズンファインデバイス株式会社
液晶表示装置
22日前
株式会社サンゲツ
見本帳
1か月前
学校法人関西医科大学
腹腔鏡手術訓練装置
13日前
株式会社バンダイ
情報処理装置およびプログラム
2か月前
シャープ株式会社
表示装置
1か月前
個人
ピアノの指トレーニング器具及び練習方法
2か月前
シャープ株式会社
表示装置
1か月前
朝日インテック株式会社
心臓モデル装置
3か月前
厦門天馬顕示科技有限公司
走査回路
3か月前
セイコーエプソン株式会社
表示方法
22日前
続きを見る
他の特許を見る