TOP
|
特許
|
意匠
|
商標
特許ウォッチ
Twitter
他の特許を見る
公開番号
2025141154
公報種別
公開特許公報(A)
公開日
2025-09-29
出願番号
2024040950
出願日
2024-03-15
発明の名称
サーバ、サーバの制御方法およびプログラム
出願人
キヤノン株式会社
代理人
個人
主分類
G06Q
50/10 20120101AFI20250919BHJP(計算;計数)
要約
【課題】配送サービスによって印刷用紙が配送される頻度が過剰となるのを抑制することができるサーバ、サーバの制御方法およびプログラムを提供することを目的とする。
【解決手段】サブスクリプション管理サービス104は、印刷用紙を配送する配送サービスの対象となる複数の画像形成装置102の識別情報(デバイスID)と、各画像形成装置102のユーザUSの使用者情報(ユーザID)と、各画像形成装置102で印刷に使用された印刷用紙の使用枚数情報(印刷枚数)とを取得する取得手段(印刷情報管理部302)と、識別情報と使用者情報とに基づいて、複数の画像形成装置102のうち、少なくとも2つの画像形成装置102が共通してユーザUSで使用可能な状態とされている場合に、ユーザUSで共通に使用される全画像形成装置102の使用枚数情報に基づいて、ユーザUSへの印刷用紙の配送を決定する決定手段(印刷用紙管理部304)とを備える。
【選択図】図6
特許請求の範囲
【請求項1】
印刷用紙を配送する配送サービスを管理するサーバであって、
前記配送サービスの対象となる複数の印刷装置をそれぞれ識別する識別情報と、前記各印刷装置を使用する使用者に関する使用者情報と、前記各印刷装置で印刷に使用された前記印刷用紙の使用枚数に関する使用枚数情報とを取得する取得手段と、
前記識別情報と前記使用者情報とに基づいて、前記複数の印刷装置のうち、少なくとも2つの印刷装置が共通して一の使用者で使用可能な状態とされている場合に、前記一の使用者で共通に使用される全印刷装置の前記使用枚数情報に基づいて、前記一の使用者への前記印刷用紙の配送を決定する決定手段と、を備えることを特徴とするサーバ。
続きを表示(約 770 文字)
【請求項2】
前記サーバは、画面を表示可能な表示装置に通信可能に接続されており、
前記使用者情報が入力される入力画面を表示する指示を、前記表示装置に対して行う指示手段を備えることを特徴とする請求項1に記載のサーバ。
【請求項3】
前記指示手段は、前記決定手段で決定された前記配送の旨を表示する指示を、前記表示装置に対して行うことを特徴とする請求項2に記載のサーバ。
【請求項4】
前記取得手段は、前記入力画面から前記使用者情報を取得することを特徴とする請求項2に記載のサーバ。
【請求項5】
前記サーバは、前記印刷装置と通信可能に接続されており、
前記取得手段は、前記識別情報および前記使用枚数情報を前記印刷装置から取得することを特徴とする請求項1に記載のサーバ。
【請求項6】
前記使用者情報には、前記使用者の住所が含まれていることを特徴とする請求項1に記載のサーバ。
【請求項7】
前記決定手段で決定された前記配送を前記使用者の住所宛に行う指示を、前記印刷用紙の配送元に対して行う指示手段を備えることを特徴とする請求項6に記載のサーバ。
【請求項8】
前記使用者情報には、前記使用者を識別するIDが含まれていることを特徴とする請求項1に記載のサーバ。
【請求項9】
前記決定手段は、前記全印刷装置の前記使用枚数情報として、前記全印刷装置での合計使用枚数が閾値以上となった場合に、前記配送を決定することを特徴とする請求項1に記載のサーバ。
【請求項10】
前記配送を決定する決定タイミングの期限を変更可能であることを特徴とする請求項1に記載のサーバ。
(【請求項11】以降は省略されています)
発明の詳細な説明
【技術分野】
【0001】
本発明は、サーバ、サーバの制御方法およびプログラムに関する。
続きを表示(約 2,200 文字)
【背景技術】
【0002】
近年、MFP(Multi-Function Printer)やSFP(Single Function Printer)等のような印刷機能を有する画像形成装置では、印刷に関するサブスクリプションサービスが普及しつつある。この印刷に関するサブスクリプションサービスでは、例えば月毎に最大印刷可能枚数が予め決められており、当該枚数に達するまでは、定額で印刷を実行することができる。また、サブスクリプションサービスでは、例えば印刷用紙や、その他インク、トナー等の消耗品の残量が閾値を下回った場合に、追加費用無しで消耗品がユーザ宛に送付される。これにより、消耗品の残量の確認や消耗品の購入等の手間を省くことができる。例えば特許文献1には、ユーザにとって手間がかからず、簡単にプリンタのサブスクリプション方式を利用可能な装置構成が開示されている。
【先行技術文献】
【特許文献】
【0003】
特開2021-164052号公報
【発明の概要】
【発明が解決しようとする課題】
【0004】
前述したように、印刷機能を有する画像形成装置では、印刷時には、印刷用紙と、インクまたはトナーとが用いられる。印刷用紙は、インクやトナーとは異なり、画像形成装置間で共通に用いることができる。サブスクリプションサービスには、画像形成装置毎に印刷用紙が配送されるサービスがある。例えば1人のユーザが2台の画像形成装置を使用しており、一方の画像形成装置での印刷用紙の使用枚数が、他方の画像形成装置での印刷用紙の使用枚数よりも多くなる場合がある。この場合、印刷用紙が共通で使用可能にも関わらず、すなわち、他方の画像形成装置での印刷用紙を、一方の画像形成装置での印刷用紙として転用可能にも関わらず、一方の画像形成装置用の印刷用紙が配送され続けることとなる。その結果、配送過剰となり、ユーザの下に印刷用紙が多量にたまっていくという問題が生じるという問題があった。
【0005】
本発明は、上記の課題に鑑みてなされたものである。本発明は、配送サービスによって印刷用紙が配送される頻度が過剰となるのを抑制することができるサーバ、サーバの制御方法およびプログラムを提供することを目的とする。
【課題を解決するための手段】
【0006】
上記目的を達成するために、本発明のサーバは、印刷用紙を配送する配送サービスを管理するサーバであって、前記配送サービスの対象となる複数の印刷装置をそれぞれ識別する識別情報と、前記各印刷装置を使用する使用者に関する使用者情報と、前記各印刷装置で印刷に使用された前記印刷用紙の使用枚数に関する使用枚数情報とを取得する取得手段と、前記識別情報と前記使用者情報とに基づいて、前記複数の印刷装置のうち、少なくとも2つの印刷装置が共通して一の使用者で使用可能な状態とされている場合に、前記一の使用者で共通に使用される全印刷装置の前記使用枚数情報に基づいて、前記一の使用者への前記印刷用紙の配送を決定する決定手段と、を備えることを特徴とする。
【発明の効果】
【0007】
本発明によれば、配送サービスによって印刷用紙が配送される頻度が過剰となるのを抑制することができる。
【図面の簡単な説明】
【0008】
第1実施形態に係るサブスクリプションサービスシステムの全体構成を示すブロック図である。
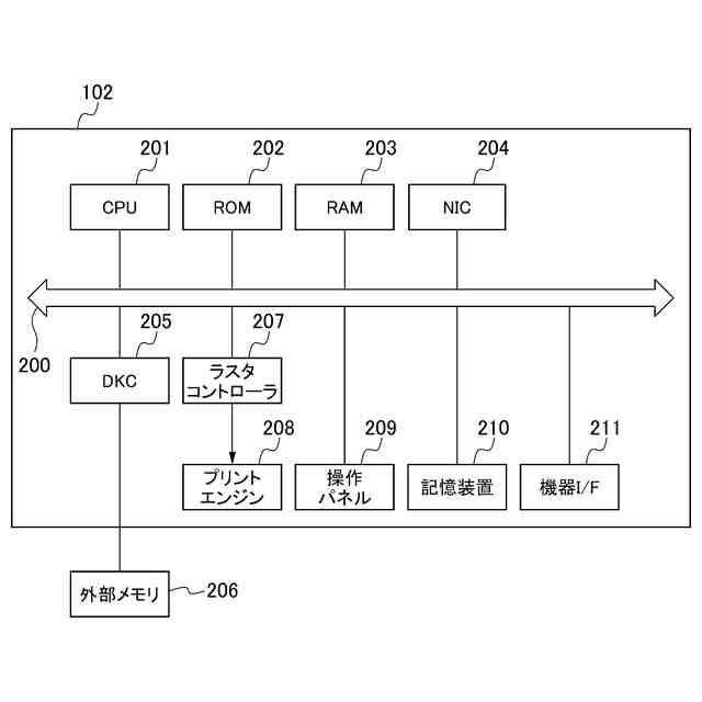
画像形成装置のハードウェア構成の一例を示すブロック図である。
クライアント端末およびサブスクリプション管理サービスのハードウェア構成の一例を示す図である。
サブスクリプション管理サービスのソフトウェア構成の一例を示すブロック図である。
クライアント端末のソフトウェア構成の一例を示すブロック図である。
画像形成装置のソフトウェア構成の一例を示すブロック図である。
サブスクリプション契約の申し込み処理を示すフローチャートである。
印刷用紙サブスクリプション移行画面の一例を示す図である。
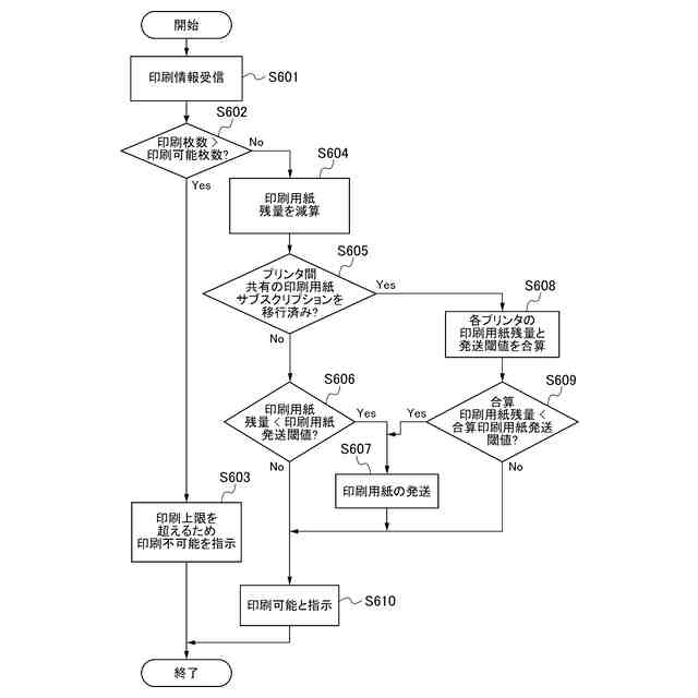
サブスクリプション契約における印刷処理および印刷用紙発送処理を示すフローチャートである。
利用状況確認画面の一例を示す図である。
1台目の印刷用紙サブスクリプション、2台目の印刷用紙サブスクリプションの契約状態を示す図である。
【発明を実施するための形態】
【0009】
以下、本発明の各実施形態について図面を参照しながら詳細に説明する。しかしながら、以下の各実施形態に記載されている構成はあくまで例示に過ぎず、本発明の範囲は各実施形態に記載されている構成によって限定されることはない。例えば、本発明を構成する各部は、同様の機能を発揮し得る任意の構成のものと置換することができる。また、任意の構成物が付加されていてもよい。また、各実施形態のうちの、任意の2以上の構成(特徴)を組み合わせることもできる。
【0010】
<<第1実施形態>>
以下、図1~図7を参照して、第1実施形態について説明する。
(【0011】以降は省略されています)
この特許をJ-PlatPat(特許庁公式サイト)で参照する
関連特許
キヤノン株式会社
トナー
今日
キヤノン株式会社
トナー
1か月前
キヤノン株式会社
光学装置
28日前
キヤノン株式会社
撮像装置
16日前
キヤノン株式会社
撮像装置
8日前
キヤノン株式会社
撮像装置
1か月前
キヤノン株式会社
定着装置
14日前
キヤノン株式会社
記録装置
15日前
キヤノン株式会社
撮像装置
15日前
キヤノン株式会社
記録装置
今日
キヤノン株式会社
撮像装置
1か月前
キヤノン株式会社
記録装置
16日前
キヤノン株式会社
電子機器
16日前
キヤノン株式会社
定着装置
23日前
キヤノン株式会社
定着装置
23日前
キヤノン株式会社
電子機器
8日前
キヤノン株式会社
定着装置
23日前
キヤノン株式会社
電子機器
23日前
キヤノン株式会社
撮像装置
25日前
キヤノン株式会社
電子機器
2日前
キヤノン株式会社
電子機器
25日前
キヤノン株式会社
電子機器
1か月前
キヤノン株式会社
現像装置
1か月前
キヤノン株式会社
撮像装置
28日前
キヤノン株式会社
電子機器
8日前
キヤノン株式会社
撮像装置
14日前
キヤノン株式会社
電子機器
28日前
キヤノン株式会社
撮像装置
1か月前
キヤノン株式会社
撮像装置
今日
キヤノン株式会社
発光装置
1か月前
キヤノン株式会社
電子機器
1か月前
キヤノン株式会社
電子機器
4日前
キヤノン株式会社
発光装置
7日前
キヤノン株式会社
光学機器
1か月前
キヤノン株式会社
表示装置
7日前
キヤノン株式会社
定着装置
8日前
続きを見る
他の特許を見る