TOP
|
特許
|
意匠
|
商標
特許ウォッチ
Twitter
他の特許を見る
公開番号
2025141067
公報種別
公開特許公報(A)
公開日
2025-09-29
出願番号
2024040812
出願日
2024-03-15
発明の名称
情報処理装置
出願人
トヨタ自動車株式会社
代理人
個人
,
個人
主分類
G06Q
10/20 20230101AFI20250919BHJP(計算;計数)
要約
【課題】抽出データに関して、オリジナルデータからのデータ量の削減と精度の維持との両立を実現できる情報処理装置を提供する。
【解決手段】情報処理装置の処理装置は、オリジナルデータの相対度数分布を算出する第1ステップ(S120)と、オリジナルデータの一部の期間のデータを切り出す複数の時間窓を設定する第2ステップ(S125)と、オリジナルデータからデータを切り出す第3ステップ(S130)と、抽出データにおける相対度数分布を算出する第4ステップ(S140)と、オリジナルデータにおける相対度数分布と抽出データにおける相対度数分布との誤差を算出する第5ステップ(S145)と、を含み、第2ステップから第5ステップまでの試行を複数の時間窓の設定を変更して繰り返し実行する探索処理を実行する。
【選択図】図3
特許請求の範囲
【請求項1】
車両に搭載されたセンサを用いて既定期間に亘って収集して作成したオリジナルデータを取得して、前記オリジナルデータからトルクリミッタに蓄積しているダメージの大きさを示す指標値を算出するために用いるデータを抽出する情報処理装置であり、
処理を実行する処理装置を備え、
前記オリジナルデータは、特徴量として前記トルクリミッタの滑り量のデータを含み、
前記処理装置が、前記オリジナルデータに含まれる前記特徴量についての前記オリジナルデータにおける相対度数分布を前記特徴量毎に算出する第1ステップと、全ての時間窓の期間を合計した期間が、前記既定期間よりも短くなるように、前記オリジナルデータの一部の期間のデータを切り出す複数の時間窓を設定する第2ステップと、前記複数の時間窓によって前記オリジナルデータからデータを切り出す第3ステップと、前記複数の時間窓によって切り出したデータを結合した抽出データにおける前記相対度数分布を、前記特徴量毎に算出する第4ステップと、前記オリジナルデータにおける前記相対度数分布と前記抽出データにおける前記相対度数分布との誤差を算出する第5ステップと、を含み、前記第1ステップを実行したあと、前記第2ステップから前記第5ステップまでの試行を前記複数の時間窓の設定を変更して繰り返し実行する探索処理を実行して、前記誤差が閾値以下になる前記抽出データを抽出する
情報処理装置。
続きを表示(約 540 文字)
【請求項2】
前記オリジナルデータは、前記特徴量として前記トルクリミッタの滑りの継続時間、前記トルクリミッタの滑りのインターバル、および、前記滑り量と前記滑りの継続時間との乗算値の少なくとも1つをさらに含む
請求項1に記載の情報処理装置。
【請求項3】
前記処理装置は、前記誤差を、前記トルクリミッタにおいて滑りが発生したときの気温に基づいて調整する
請求項1または2に記載の情報処理装置。
【請求項4】
前記処理装置が、前記オリジナルデータを一定の期間毎に区切った各区間のデータを、既定の数のクラスタに分類する機械学習であるクラスタリングを実行し、
前記処理装置が、前記第2ステップにおいて、前記抽出データにおける各クラスタの比率と、前記オリジナルデータ全体における各クラスタの比率との差が閾値以下になるように、前記複数の時間窓を設定する
請求項1に記載の情報処理装置。
【請求項5】
前記処理装置が、前記誤差が閾値以下になる前記抽出データを用いて、前記指標値として、損傷に到るダメージに対する蓄積しているダメージの割合を示す損傷度を算出する
請求項1に記載の情報処理装置。
発明の詳細な説明
【技術分野】
【0001】
この発明は情報処理装置に関するものである。
続きを表示(約 2,300 文字)
【背景技術】
【0002】
特許文献1には、解析用のオリジナルデータを圧縮することによって解析用のデータのサイズを小さくする情報処理装置が開示されている。解析用のオリジナルデータは、車両に搭載されたセンサを用いて既定期間に亘って収集したデータである。
【0003】
特許文献1に開示されている情報処理装置は、一定の車速に達した時点で取得したデータと、車速の変曲点の時点で取得したデータとを、オリジナルデータから抽出することによってデータを圧縮する。
【先行技術文献】
【特許文献】
【0004】
特開2008-108247号公報
【発明の概要】
【発明が解決しようとする課題】
【0005】
上記の情報処理装置は、車速のみに着目してデータを抽出している。そのため、上記の情報処理装置は、車速以外のデータの特徴に応じてデータを抽出することができない。車速以外の特徴量を含むオリジナルデータ全体の特徴を捉えた抽出データを得ることのできる情報処理装置が求められている。
【課題を解決するための手段】
【0006】
上記課題を解決するための情報処理装置は、車両に搭載されたセンサを用いて既定期間に亘って収集して作成したオリジナルデータを取得して、前記オリジナルデータからトルクリミッタに蓄積しているダメージの大きさを示す指標値を算出するために用いるデータを抽出する。この情報処理装置は、処理を実行する処理装置を備えている。前記オリジナルデータは、特徴量として前記トルクリミッタの滑り量のデータを含んでいる。この情報処理装置では、前記処理装置が実行する探索処理は、前記オリジナルデータに含まれる前記特徴量についての前記オリジナルデータにおける相対度数分布を特徴量毎に算出する第1ステップを含む。前記探索処理は、全ての時間窓の期間を合計した期間が、前記既定期間よりも短くなるように、前記オリジナルデータの一部の期間のデータを切り出す複数の時間窓を設定する第2ステップを含む。前記探索処理は、前記複数の時間窓によって前記オリジナルデータからデータを切り出す第3ステップを含む。前記探索処理は、前記複数の時間窓によって切り出したデータを結合した抽出データにおける前記相対度数分布を、前記特徴量毎に算出する第4ステップを含む。前記探索処理は、前記オリジナルデータにおける前記相対度数分布と前記抽出データにおける前記相対度数分布との誤差を算出する第5ステップを含む。前記処理装置は、前記第1ステップを実行したあと、前記第2ステップから前記第5ステップまでの試行を前記複数の時間窓の設定を変更して繰り返し実行する前記探索処理を実行して、前記誤差が閾値以下になる前記抽出データを抽出する。
【0007】
前記処理装置の一態様では、前記処理装置が、前記オリジナルデータを一定の期間毎に区切った各区間のデータを、既定の数のクラスタに分類する機械学習であるクラスタリングを実行する。前記処理装置が、前記第2ステップにおいて、前記抽出データにおける各クラスタの比率と、前記オリジナルデータ全体における各クラスタの比率との差が閾値以下になるように、前記複数の時間窓を設定する。
【発明の効果】
【0008】
この情報処理装置は、オリジナルデータよりデータ量が少なく、かつ、オリジナルデータと同等の精度の解析結果が得られる抽出データを抽出できる。したがって、この情報処理装置は、抽出データに関して、オリジナルデータからのデータ量の削減と精度の維持との両立を実現できる。
【図面の簡単な説明】
【0009】
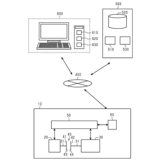
図1は、情報処理装置の一実施形態であるデータセンタと、車両と、情報処理端末との関係を示す模式図である。
図2は、オリジナルデータを示すグラフであり、(a)はトルクリミッタの滑り量の推移を示し、(b)は(a)の一部を拡大した図を示している。
図3は、データセンタの処理装置が実行する処理の流れを示すフローチャートである。
図4は、2つの特徴量を用いてオリジナルデータをクラスタリングした一例を示したグラフである。
図5はオリジナルデータにおける相対度数分布の一例を示すグラフであり、(a)はトルクリミッタの滑り量についての相対度数分布の一例を示し、(b)はトルクリミッタの滑りの継続時間についての相対度数分布の一例を示している。
図6はオリジナルデータにおける相対度数分布の一例を示すグラフであり、(a)はトルクリミッタの滑りのインターバルについての相対度数分布の一例を示し、(b)はトルクリミッタの滑り量と滑りの継続時間との乗算値についての相対度数分布の一例を示している。
【発明を実施するための形態】
【0010】
以下、情報処理装置の一実施形態であるデータセンタ500について、図1~図6を参照して説明する。
<情報処理システムの構成>
図1は、データセンタ500を含む情報処理システムの構成を示している。図1に示すように、データセンタ500は、車両10と通信ネットワーク400を介して通信する。データセンタ500は、情報処理端末600とも通信ネットワーク400を介して通信する。データセンタ500は、複数の車両10及び複数の情報処理端末600と通信ネットワーク400を介して通信する。
(【0011】以降は省略されています)
この特許をJ-PlatPat(特許庁公式サイト)で参照する
関連特許
個人
詐欺保険
8日前
個人
縁伊達ポイン
8日前
個人
地球保全システム
21日前
個人
QRコードの彩色
12日前
個人
冷凍食品輸出支援構造
1か月前
個人
為替ポイント伊達夢貯
1か月前
個人
残土処理システム
14日前
個人
表変換編集支援システム
1か月前
個人
農作物用途分配システム
7日前
個人
知財出願支援AIシステム
1か月前
個人
タッチパネル操作指代替具
1日前
個人
知的財産出願支援システム
15日前
個人
AIによる情報の売買の仲介
1か月前
個人
携帯端末障害問合せシステム
今日
個人
スケジュール調整プログラム
今日
個人
パスワード管理支援システム
1か月前
個人
行動時間管理システム
1か月前
株式会社アジラ
進入判定装置
1か月前
株式会社キーエンス
受発注システム
20日前
株式会社キーエンス
受発注システム
20日前
個人
AIキャラクター制御システム
1か月前
個人
システム及びプログラム
1か月前
日本精機株式会社
施工管理システム
1か月前
個人
海外支援型農作物活用システム
1か月前
個人
食品レシピ生成システム
20日前
株式会社キーエンス
受発注システム
20日前
個人
パスポートレス入出国システム
1か月前
個人
食事受注会計処理システム
1か月前
個人
未来型家系図構築システム
1か月前
キヤノン株式会社
印刷システム
今日
個人
音声・通知・再配達UX制御構造
15日前
個人
帳票自動生成型SaaSシステム
15日前
キヤノン株式会社
表示システム
20日前
大同特殊鋼株式会社
疵判定方法
27日前
サクサ株式会社
中継装置
1か月前
エッグス株式会社
情報処理装置
1日前
続きを見る
他の特許を見る