TOP
|
特許
|
意匠
|
商標
特許ウォッチ
Twitter
他の特許を見る
公開番号
2025141063
公報種別
公開特許公報(A)
公開日
2025-09-29
出願番号
2024040805
出願日
2024-03-15
発明の名称
情報処理装置、情報処理システム、情報処理方法及びプログラム
出願人
カシオ計算機株式会社
代理人
弁理士法人光陽国際特許事務所
主分類
G09B
19/06 20060101AFI20250919BHJP(教育;暗号方法;表示;広告;シール)
要約
【課題】ユーザのスピーキングの学習効果を高めることである。
【解決手段】学習支援システム1は、情報処理装置としてのサーバ10と、電子機器としての電子辞書装置20と、を備える。サーバ10は、発音評価手段と、教材作成手段と、を備える。発音評価手段は、語句又は当該語句を含む例文についてのユーザ音声の発音を音素ごとに評価した評価結果を導出する。教材作成手段は、発音学習教材として、評価結果が所定の基準以下である音素を含む語句を含む例文を作成し、発音学習教材を電子辞書装置20に表示してユーザに提示する。
【選択図】図1
特許請求の範囲
【請求項1】
語句又は当該語句を含む例文についてのユーザ音声の発音を音素ごとに評価した評価結果を導出する発音評価手段と、
発音学習教材として、前記評価結果が所定の基準以下であると判別した音素を含む語句を含む例文を作成し、ユーザに提示する教材作成手段と、
を備えることを特徴とする情報処理装置。
続きを表示(約 1,100 文字)
【請求項2】
前記発音評価手段は、前記評価結果を蓄積し、
前記教材作成手段は、前記評価結果を所定の数以上蓄積したと判別した場合に、前記発音学習教材を作成することを特徴とする請求項1に記載の情報処理装置。
【請求項3】
前記発音評価手段は、前記語句又は当該語句を含む例文の音素の順番と音素ごとの評価とを対応付けて前記評価結果として蓄積し、
前記教材作成手段は、所定の規則で音素が並んでいると判別した場合であって、且つ、前記評価結果が前記所定の基準以下であると判別した場合、前記発音学習教材として、当該所定の規則で音素が並んで含まれる例文又は当該所定の規則で音素が並んで含まれる語句を含む例文を作成することを特徴とする請求項1に記載の情報処理装置。
【請求項4】
前記教材作成手段は、ユーザ操作に基づいて、当該ユーザ操作がなされた時点で蓄積された前記評価結果に基づいて前記発音学習教材を作成することを特徴とする請求項2又は3に記載の情報処理装置。
【請求項5】
前記評価結果が所定の数以上蓄積したと判別した場合に、前記発音学習教材の作成提案をユーザに行う提案手段をさらに備え、
前記教材作成手段は、前記作成提案に対するユーザ操作に基づいて前記発音学習教材を作成することを特徴とする請求項2又は3に記載の情報処理装置。
【請求項6】
前記発音評価手段は、前記ユーザ音声の評価後、前記評価結果をユーザに提示することを特徴とする請求項1に記載の情報処理装置。
【請求項7】
前記評価結果における前記所定の基準は、ユーザ任意の評価点数又は各音素の評価点数の順位である請求項1又は3に記載の情報処理装置。
【請求項8】
前記発音評価手段は、ユーザによって選択された地域に対応した発音に基づいて前記ユーザ音声の評価結果を導出することを特徴とする請求項1に記載の情報処理装置。
【請求項9】
前記発音評価手段は、蓄積された前記評価結果に基づいた音素ごとの評価結果をユーザに提示することを特徴とする請求項2又は3に記載の情報処理装置。
【請求項10】
情報処理装置と、電子機器と、を備え、
前記情報処理装置は、
語句又は当該語句を含む例文についてのユーザ音声の発音を音素ごとに評価した評価結果を導出する発音評価手段と、
発音学習教材として、前記評価結果が所定の基準以下である音素を含む語句を含む例文を作成し、当該発音学習教材を前記電子機器に表示してユーザに提示する教材作成手段と、
を備えることを特徴とする情報処理システム。
(【請求項11】以降は省略されています)
発明の詳細な説明
【技術分野】
【0001】
本発明は、情報処理装置、情報処理システム、情報処理方法及びプログラムに関する。
続きを表示(約 1,100 文字)
【背景技術】
【0002】
従来、外国語のスピーキング学習機能を有する電子辞書が知られている。例えば、指定された外国語の学習対象語句の模範音声データを生成し、ユーザが発音したユーザ音声データの入力を受け付ける発音学習支援装置が知られている(特許文献1参照)。発音学習支援装置は、ユーザ音声データを模範音声データと比較して音節ごとに重み付けした平均点の評価スコアを表示する。
【先行技術文献】
【特許文献】
【0003】
特開2008-83446号公報
【発明の概要】
【発明が解決しようとする課題】
【0004】
しかし、上記発音学習支援装置では、ユーザが音節を加味した評価スコアを確認できるものの、評価スコアに応じた次の学習を提案できなかった。
【0005】
本発明の課題は、ユーザのスピーキングの学習効果を高めることである。
【課題を解決するための手段】
【0006】
上記課題の解決のために、本発明の情報処理装置は、語句又は当該語句を含む例文についてのユーザ音声の発音を音素ごとに評価した評価結果を導出する発音評価手段と、発音学習教材として、前記評価結果が所定の基準以下である音素を含む語句を含む文を作成し、ユーザに提示する教材作成手段と、を備えることを特徴とする。
【発明の効果】
【0007】
本発明により、ユーザのスピーキングの学習効果を高めることができる。
【図面の簡単な説明】
【0008】
本発明の実施の形態の学習支援システムを示すブロック図である。
サーバの機能構成を示すブロック図である。
電子辞書装置の機能構成を示すブロック図である。
ユーザ情報テーブルの構成を示す図である。
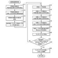
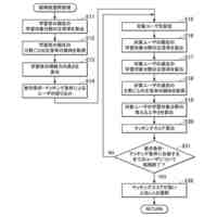
発音学習支援提供処理を示すフローチャートである。
発音学習支援処理を示すフローチャートである。
評価結果画面を示す図である。
教材画面を示す図である。
【発明を実施するための形態】
【0009】
以下、本発明の実施の形態を、図面を参照して順に詳細に説明する。ただし、本発明の範囲は、図示例に限定されるものではない。
【0010】
図1に示すように、本実施の形態の学習支援システム1は、情報処理装置としてのサーバ10と、電子機器としての電子辞書装置20と、を備える。学習支援システム1の各装置は、通信ネットワークNを介して通信接続される。通信ネットワークNは、例えばインターネットであり、LAN(Local Area Network)、専用線、仮想通信網などを含んでいてもよい。
(【0011】以降は省略されています)
この特許をJ-PlatPat(特許庁公式サイト)で参照する
関連特許
カシオ計算機株式会社
支持台
1日前
カシオ計算機株式会社
電子鍵盤楽器
1日前
カシオ計算機株式会社
外装部品ユニット及び時計
1日前
カシオ計算機株式会社
カッターユニット及び切断装置
1日前
カシオ計算機株式会社
ロボット、及びロボットの製造方法
1日前
カシオ計算機株式会社
外装部品、外装部品ユニット及び時計
1日前
カシオ計算機株式会社
情報処理装置、方法およびプログラム
1日前
カシオ計算機株式会社
制御装置、制御方法、及びプログラム
2日前
カシオ計算機株式会社
プログラム、電子機器及び登録処理方法
1日前
カシオ計算機株式会社
電子機器、登録処理方法及びプログラム
1日前
カシオ計算機株式会社
音声提供装置、音声提供方法及びプログラム
1日前
カシオ計算機株式会社
情報処理装置、プログラム及び情報処理方法
1日前
カシオ計算機株式会社
電子楽器、電子楽器の制御方法及びプログラム
1日前
カシオ計算機株式会社
情報処理装置、表示制御方法、及びプログラム
1日前
カシオ計算機株式会社
印刷装置、印刷装置の制御方法及びプログラム
1日前
カシオ計算機株式会社
情報処理装置、表示制御方法、及び、プログラム
1日前
カシオ計算機株式会社
入力文作成装置、入力文作成方法及びプログラム
1日前
カシオ計算機株式会社
機器の制御装置、機器の制御方法及びプログラム
1日前
カシオ計算機株式会社
画像処理装置、プログラム、及び、画像処理方法
1日前
カシオ計算機株式会社
通信方法、通信システム、電子機器及びプログラム
1日前
カシオ計算機株式会社
電子機器、心理的状態変動評価方法及びプログラム
1日前
カシオ計算機株式会社
電子機器、認証システム、制御方法及びプログラム
1日前
カシオ計算機株式会社
表示制御プログラム、表示制御方法、及び、情報処理装置
1日前
カシオ計算機株式会社
端末装置、運動評価システム、運動評価方法及びプログラム
1日前
カシオ計算機株式会社
制御装置、投影システム、作業ガイド作成方法及びプログラム
1日前
カシオ計算機株式会社
情報処理装置、情報処理方法、プログラム及び学習支援システム
1日前
カシオ計算機株式会社
情報処理装置、情報処理方法、プログラム及び学習支援システム
1日前
カシオ計算機株式会社
情報処理装置、情報処理方法、プログラム及び学習支援システム
1日前
カシオ計算機株式会社
ロボット制御装置、ロボット、ロボットの制御方法及びプログラム
1日前
カシオ計算機株式会社
アカウント管理装置、アカウント管理方法、プログラム及び学習支援システム
1日前
カシオ計算機株式会社
アルペジオ生成方法、プログラム、情報処理装置、電子楽器及び電子楽器システム
1日前
カシオ計算機株式会社
アルペジオ生成方法、プログラム、情報処理装置、電子楽器及び電子楽器システム
1日前
カシオ計算機株式会社
イヤーデバイス、イヤーデバイス通知システム、イヤーデバイス通知方法及びプログラム
1日前
カシオ計算機株式会社
イヤーデバイス、イヤーデバイス通知システム、イヤーデバイス通知方法及びプログラム
1日前
個人
回転式カード学習具
1か月前
日本精機株式会社
表示装置
9日前
続きを見る
他の特許を見る