TOP
|
特許
|
意匠
|
商標
特許ウォッチ
Twitter
他の特許を見る
10個以上の画像は省略されています。
公開番号
2025144646
公報種別
公開特許公報(A)
公開日
2025-10-03
出願番号
2024044394
出願日
2024-03-21
発明の名称
アカウント管理装置、アカウント管理方法、プログラム及び学習支援システム
出願人
カシオ計算機株式会社
代理人
弁理士法人光陽国際特許事務所
主分類
G06Q
50/20 20120101AFI20250926BHJP(計算;計数)
要約
【課題】マッチングされた2人のユーザの情報を第三者が把握可能とする。
【解決手段】サーバ装置(アカウント管理装置)の制御部は、学習者が使用する第1アカウントと、第1の問題を学習者に教示する教示者が使用する第2アカウントと、をマッチングさせる。制御部は、第1アカウントと第2アカウントとがマッチングされた場合に、第1アカウントと第2アカウントとのマッチングに係る情報であるマッチング情報を第3アカウントに紐付ける。第3アカウントは、学習者及び教示者とは異なる者が使用するアカウントである。
【選択図】図7
特許請求の範囲
【請求項1】
学習者が使用する第1アカウントと、第1の問題を前記学習者に教示する教示者が使用する第2アカウントと、をマッチングさせる制御部を備え、
前記制御部は、前記第1アカウントと前記第2アカウントとがマッチングされた場合に、前記第1アカウントと前記第2アカウントとのマッチングに係る情報であるマッチング情報を第3アカウントに紐付け、
前記第3アカウントは、前記学習者及び前記教示者とは異なる者が使用するアカウントである、
ことを特徴とするアカウント管理装置。
続きを表示(約 1,200 文字)
【請求項2】
前記制御部は、
前記マッチング情報として、前記第1アカウントの情報、前記第2アカウントの情報及び前記第1の問題の情報を、前記第3アカウントに紐付けた後に、
前記第2アカウントを使用する前記教示者が前記第1の問題と出題分野が同一又は類似した第2の問題を誤答した場合に、前記第1の問題の情報と、前記マッチングに係る前記第1アカウントの情報及び前記第2アカウントの情報と、を前記第3アカウントに紐付ける、
ことを特徴とする請求項1に記載のアカウント管理装置。
【請求項3】
前記制御部は、
前記マッチング情報として、前記第1アカウントの情報、前記第2アカウントの情報及び前記第1の問題の情報を、前記第3アカウントに紐付けた後に、
前記第1アカウントを使用する前記学習者が前記第1の問題と出題分野が同一又は類似した第2の問題を誤答した場合に、前記第1の問題の情報と、前記マッチングに係る前記第1アカウントの情報及び前記第2アカウントの情報と、を前記第3アカウントに紐付ける、
ことを特徴とする請求項1に記載のアカウント管理装置。
【請求項4】
学習者が使用する第1アカウントと、第1の問題を前記学習者に教示する教示者が使用する第2アカウントと、をマッチングさせる工程と、
前記第1アカウントと前記第2アカウントとがマッチングされた場合に、前記第1アカウントと前記第2アカウントとのマッチングに係る情報であるマッチング情報を第3アカウントに紐付ける工程と、を含み、
前記第3アカウントは、前記学習者及び前記教示者とは異なる者が使用するアカウントである、
ことを特徴とするアカウント管理方法。
【請求項5】
コンピュータを、
学習者が使用する第1アカウントと、第1の問題を前記学習者に教示する教示者が使用する第2アカウントと、をマッチングさせる制御部として機能させるためのプログラムであって、
前記制御部は、前記第1アカウントと前記第2アカウントとがマッチングされた場合に、前記第1アカウントと前記第2アカウントとのマッチングに係る情報であるマッチング情報を第3アカウントに紐付け、
前記第3アカウントは、前記学習者及び前記教示者とは異なる者が使用するアカウントである、
ことを特徴とするプログラム。
【請求項6】
請求項1に記載のアカウント管理装置と、表示部を備える端末装置と、がデータ通信可能に接続された学習支援システムであって、
前記制御部は、前記第3アカウントでログインされた前記端末装置の前記表示部に、前記第3アカウントに紐付けられた情報を表示させる、
ことを特徴とする学習支援システム。
発明の詳細な説明
【技術分野】
【0001】
本発明は、アカウント管理装置、アカウント管理方法、プログラム及び学習支援システムに関する。
続きを表示(約 1,700 文字)
【背景技術】
【0002】
特許文献1には、ユーザが使用する言語、ユーザが提供可能な物事等を含むユーザプロファイルに基づくマッチングシステムが開示されている。このシステムは、目的別のカテゴリーでユーザを検索し、ユーザのニーズに応じたマッチングを行う。
【先行技術文献】
【特許文献】
【0003】
特許第5970739号公報
【発明の概要】
【発明が解決しようとする課題】
【0004】
しかしながら、上記の従来技術においては、マッチングされた2人のユーザの情報を第三者が把握することはできなかった。
【0005】
本発明は、上記の従来技術における問題に鑑みてなされたものであって、マッチングされた2人のユーザの情報を第三者が把握可能とすることを課題とする。
【課題を解決するための手段】
【0006】
上記課題を解決するために、本発明のアカウント管理装置は、学習者が使用する第1アカウントと、第1の問題を前記学習者に教示する教示者が使用する第2アカウントと、をマッチングさせる制御部を備え、前記制御部は、前記第1アカウントと前記第2アカウントとがマッチングされた場合に、前記第1アカウントと前記第2アカウントとのマッチングに係る情報であるマッチング情報を第3アカウントに紐付け、前記第3アカウントは、前記学習者及び前記教示者とは異なる者が使用するアカウントである、ことを特徴とする。
【発明の効果】
【0007】
本発明によれば、マッチングされた2人のユーザの情報を第三者が把握可能とすることができる。
【図面の簡単な説明】
【0008】
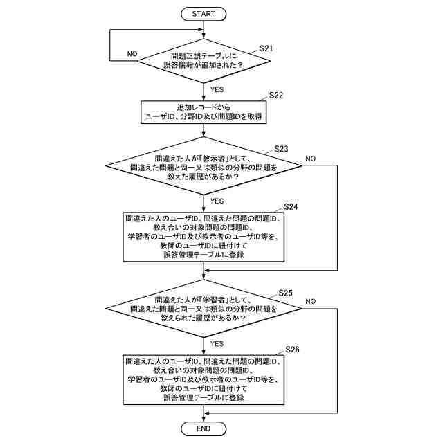
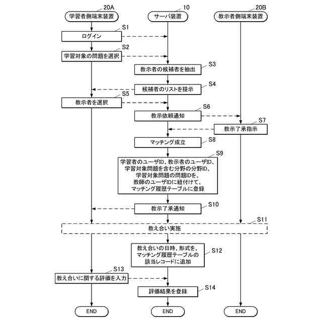
本発明の実施形態に係る学習支援システムの構成例を示す図である。
サーバ装置の記憶部のストレージに設けられているデータベースの構成例である。
問題正誤テーブルのデータ構成例を示す図である。
マッチング履歴テーブルのデータ構成例を示す図である。
誤答管理テーブルのデータ構成例を示す図である。
学習支援画面の例である。
学習支援システムにおいて実行される教え合い処理を示すラダーチャートである。
サーバ装置により実行される誤答管理処理を示すフローチャートである。
サーバ装置により実行されるマッチング管理処理を示すフローチャートである。
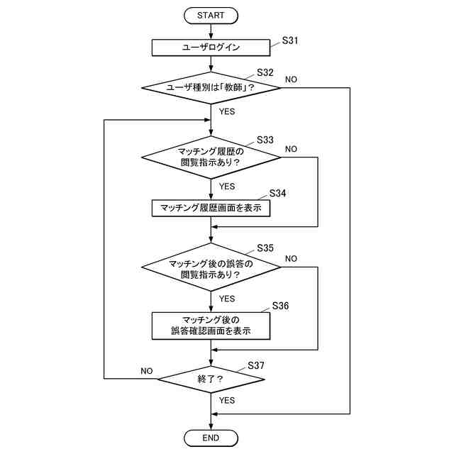
マッチング履歴画面の例である。
マッチング後の誤答確認画面の例である。
【発明を実施するための形態】
【0009】
以下、本発明に係るアカウント管理装置、アカウント管理方法、プログラム及び学習支援システムの実施形態について、図面を参照して詳細に説明する。なお、以下に述べる実施形態には、本発明を実施するために技術的に好ましい種々の限定が付されているが、本発明の技術的範囲を以下の実施形態及び図示例に限定するものではない。以下の実施形態において、学習支援システムは、学校の生徒及び教師によって使用されるものとする。なお、学校とは、正規の小学校、中学校、高校、大学に限らず、専門学校、学習塾、予備校等を含むものである。
【0010】
図1に示すように、学習支援システム100は、サーバ装置10と、複数の端末装置20と、を含む。サーバ装置10と各端末装置20とは、ネットワーク30を介してデータ通信可能に接続される。端末装置20は、各ユーザ(生徒、教師)が使用する端末装置である。端末装置20は、パーソナルコンピュータ、タブレット等の携帯端末装置、スマートフォン等の移動体通信装置のいずれであってもよい。なお、端末装置20の台数は、特に限定されない。ネットワーク30は、例えば、インターネット、無線LAN(Local Area Network)、有線LAN、移動体通信ネットワーク、近距離無線通信網、あるいは、これらの一部又は全部の組み合わせといった、任意の電気通信ネットワークであればよい。
(【0011】以降は省略されています)
この特許をJ-PlatPat(特許庁公式サイト)で参照する
関連特許
個人
裁判のAI化
2か月前
個人
フラワーコートA
1か月前
個人
工程設計支援装置
1か月前
個人
地球保全システム
3日前
個人
為替ポイント伊達夢貯
1か月前
個人
冷凍食品輸出支援構造
1か月前
個人
介護情報提供システム
2か月前
個人
設計支援システム
2か月前
個人
設計支援システム
2か月前
個人
表変換編集支援システム
23日前
個人
携帯情報端末装置
1か月前
個人
結婚相手紹介支援システム
1か月前
個人
知財出願支援AIシステム
1か月前
個人
AIによる情報の売買の仲介
1か月前
個人
行動時間管理システム
25日前
株式会社カクシン
支援装置
2か月前
個人
パスワード管理支援システム
23日前
株式会社キーエンス
受発注システム
2日前
個人
食品レシピ生成システム
2日前
個人
AIキャラクター制御システム
23日前
個人
海外支援型農作物活用システム
15日前
個人
パスポートレス入出国システム
1か月前
日本精機株式会社
施工管理システム
1か月前
株式会社キーエンス
受発注システム
2日前
個人
システム及びプログラム
16日前
個人
アンケート支援システム
2か月前
株式会社アジラ
進入判定装置
1か月前
株式会社キーエンス
受発注システム
2日前
サクサ株式会社
中継装置
2か月前
個人
ジェスチャーパッドのガイド部材
2か月前
個人
人格進化型対話応答制御システム
23日前
大阪瓦斯株式会社
住宅設備機器
1か月前
大同特殊鋼株式会社
疵判定方法
9日前
個人
SaaS型勤務調整支援システム
23日前
個人
音声対話型帳票生成支援システム
23日前
キヤノン株式会社
表示システム
2日前
続きを見る
他の特許を見る