TOP
|
特許
|
意匠
|
商標
特許ウォッチ
Twitter
他の特許を見る
公開番号
2025140995
公報種別
公開特許公報(A)
公開日
2025-09-29
出願番号
2024040680
出願日
2024-03-15
発明の名称
マイクロリアクタ
出願人
日本特殊陶業株式会社
代理人
弁理士法人グランダム特許事務所
主分類
B01J
19/00 20060101AFI20250919BHJP(物理的または化学的方法または装置一般)
要約
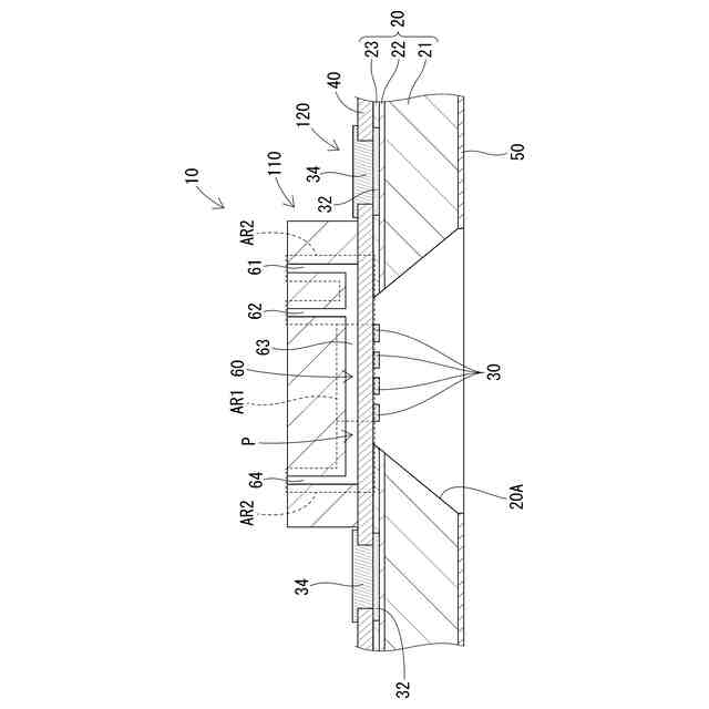
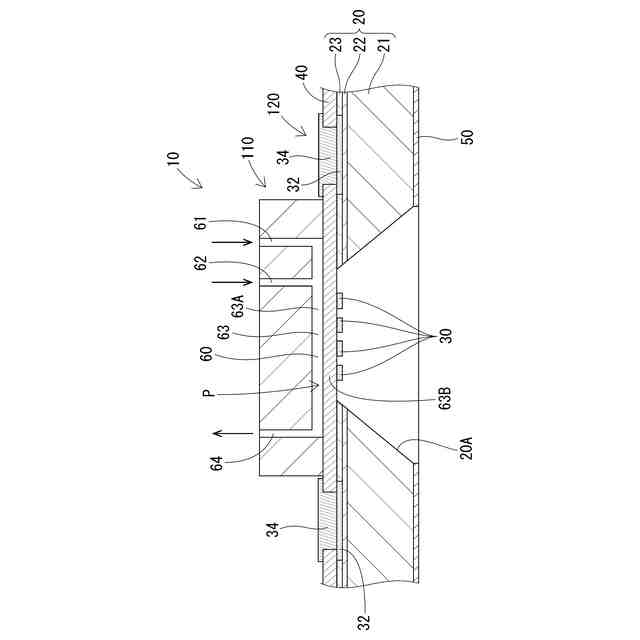
【課題】反応制御を行い易いマイクロリアクタを提供する。
【解決手段】マイクロリアクタ10は、流路Pを構成する流路構成部60と、発熱部30と、を備えている。流路構成部60は、発熱部30によって加熱される加熱領域AR1と、発熱部30によって加熱されない非加熱領域AR2と、を有する。
【選択図】図2
特許請求の範囲
【請求項1】
流路を構成する流路構成部と、発熱部と、を備えるマイクロリアクタであって、
前記流路構成部は、前記発熱部によって加熱される加熱領域と、前記発熱部によって加熱されない非加熱領域と、を有するマイクロリアクタ。
続きを表示(約 270 文字)
【請求項2】
前記加熱領域における最高温度と前記非加熱領域における最高温度との差が、40℃以上である請求項1に記載のマイクロリアクタ。
【請求項3】
前記発熱部が配される基体を備え、
前記基体は、開口部を有し、
前記発熱部は、前記開口部内に設けられ、
前記開口部は、前記基体における前記流路とは反対側に設けられている請求項1又は請求項2に記載のマイクロリアクタ。
【請求項4】
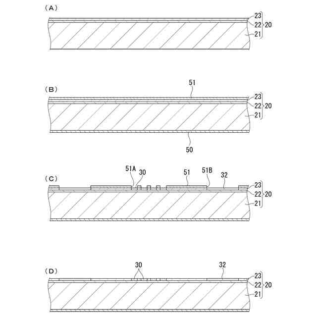
前記非加熱領域の熱を放出する放熱部を備える請求項1又は請求項2に記載のマイクロリアクタ。
発明の詳細な説明
【技術分野】
【0001】
本発明は、マイクロリアクタに関する。
続きを表示(約 1,200 文字)
【背景技術】
【0002】
特許文献1に開示されるマイクロリアクタは、流路として構成されるA液入口、B液入口、及び反応液出口を備えている。A液とB液は、流路合流部で混合されて、混合造粒物となる。混合造粒物に対してパルスレーザーが照射されることによって、反応が促進される。
【先行技術文献】
【特許文献】
【0003】
特開2009-297668号公報
【発明の概要】
【発明が解決しようとする課題】
【0004】
マイクロリアクタでは、反応を促進するために、ヒータを用いた加熱を行う構成が知られている。しかしながら、従来のヒータを用いた場合、熱容量が比較的大きいため広範囲の加熱になってしまい、局所加熱は困難であった。そのため、流路における必要な箇所以外の箇所を加熱することになってしまい、反応制御を行い難かった。
【0005】
本開示は、反応制御を行い易いマイクロリアクタを提供する。
【課題を解決するための手段】
【0006】
本開示のマイクロリアクタは、
流路を構成する流路構成部と、発熱部と、を備えるマイクロリアクタであって、
前記流路構成部は、前記発熱部によって加熱される加熱領域と、前記発熱部によって加熱されない非加熱領域と、を有する。
【発明の効果】
【0007】
本開示に係るマイクロリアクタは、反応制御を行い易くなる。
【図面の簡単な説明】
【0008】
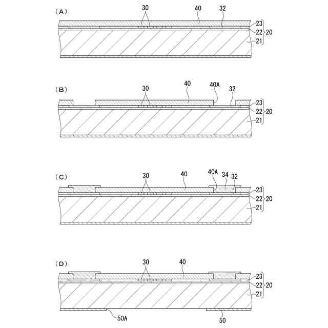
図1は、第1実施形態のマイクロリアクタを概略的に示す側断面図である。
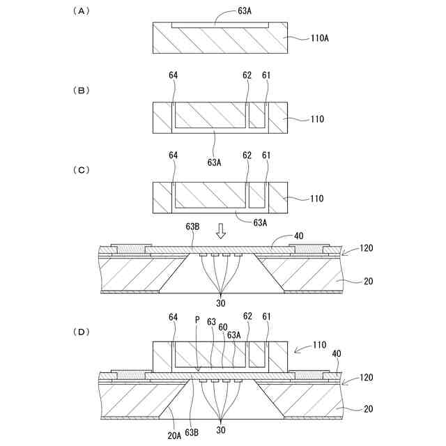
図2は、図1のマイクロリアクタの流路構成部を説明する説明図である。
図3は、図1のマイクロリアクタの製造工程を説明する工程図である。
図4は、図3に続くマイクロリアクタの製造工程を説明する工程図である。
図5は、図4に続くマイクロリアクタの製造工程を説明する工程図である。
図6は、図5に続くマイクロリアクタの製造工程を説明する工程図である。
図7は、第2実施形態のマイクロリアクタを概略的に示す側断面図である。
【発明を実施するための形態】
【0009】
以下では、本開示の実施形態が列記されて例示される。
〔1〕流路を構成する流路構成部と、発熱部と、を備えるマイクロリアクタであって、
前記流路構成部は、前記発熱部によって加熱される加熱領域と、前記発熱部によって加熱されない非加熱領域と、を有するマイクロリアクタ。
【0010】
このような構成によって、発熱部によって流路構成部における加熱領域のみを加熱することができる。そのため、流路構成部における必要な箇所(加熱領域)のみを加熱することができ、反応制御を行い易くなる。
(【0011】以降は省略されています)
この特許をJ-PlatPat(特許庁公式サイト)で参照する
関連特許
株式会社日本触媒
ドロー溶質
23日前
サンノプコ株式会社
消泡剤
21日前
日本バイリーン株式会社
フィルタ
8日前
東レ株式会社
遠心ポッティング方法
15日前
トヨタ自動車株式会社
濾過装置
9日前
個人
気液混合装置
21日前
松岡紙業 株式会社
油吸着体の製造方法
23日前
東芝ライテック株式会社
光照射装置
9日前
富士電機株式会社
ガス処理システム
18日前
株式会社フクハラ
圧縮空気圧回路ユニット
21日前
株式会社明電舎
成膜装置
18日前
日本化薬株式会社
直鎖ブテン製造用触媒及びその使用
15日前
いであ株式会社
PFAS除去用バイオ炭の製造方法
10日前
三浦工業株式会社
撹拌装置
18日前
個人
フッ化炭素糸物にフッ素をコーティングした浄水手段
21日前
栗田工業株式会社
有機物含有水の脱泡処理装置
2日前
JFEエンジニアリング株式会社
二酸化炭素回収方法
21日前
三菱重工業株式会社
石膏脱水システム
8日前
オルガノ株式会社
ろ過膜の洗浄方法及び洗浄装置
2日前
みづほ工業株式会社
撹拌装置、及び撹拌羽根取付け方法
24日前
JFEエンジニアリング株式会社
二酸化炭素回収システム
22日前
株式会社神鋼環境ソリューション
濾過方法および濾過装置
21日前
愛三工業株式会社
ガス吸着装置
22日前
いすゞ自動車株式会社
ガス処理装置
22日前
ニチダイフィルタ株式会社
フィルタ構造
7日前
いすゞ自動車株式会社
ガス処理装置
22日前
東京濾器株式会社
二酸化炭素吸着剤
18日前
栗田工業株式会社
超純水製造装置の立ち上げ時の洗浄方法
2日前
トリニティ工業株式会社
排水処理管理システム、排水処理管理方法
18日前
トヨタ自動車株式会社
排ガス浄化用触媒
21日前
富士電機株式会社
ガス回収システム及びガス回収方法
17日前
三菱造船株式会社
二酸化炭素回収システム
21日前
三菱重工業株式会社
アンモニア除害システム
8日前
トヨタ自動車株式会社
気体アミンを用いた二酸化炭素の回収方法
23日前
三菱重工業株式会社
ガス処理装置および方法
15日前
artience株式会社
二酸化炭素の吸収液、及び二酸化炭素の分離回収方法
9日前
続きを見る
他の特許を見る