TOP
|
特許
|
意匠
|
商標
特許ウォッチ
Twitter
他の特許を見る
10個以上の画像は省略されています。
公開番号
2025140781
公報種別
公開特許公報(A)
公開日
2025-09-29
出願番号
2024040358
出願日
2024-03-14
発明の名称
結合部材、結合部材の製造方法及び結合方法
出願人
株式会社トーキン
代理人
個人
,
個人
,
個人
主分類
C22C
19/03 20060101AFI20250919BHJP(冶金;鉄または非鉄合金;合金の処理または非鉄金属の処理)
要約
【課題】 汎用性が高く且つより簡単に行える結合方法を提供すること。
【課題を解決するための手段】
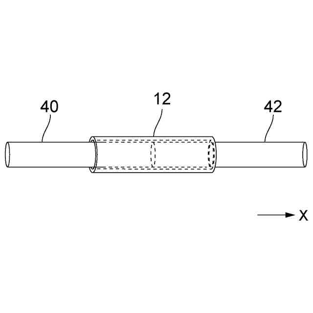
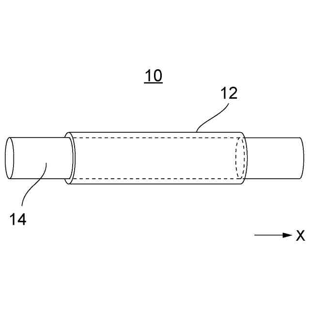
新たな結合部材を提供し、もって新たな結合方法を提供する。結合部材は、TiNi系形状記憶合金材料からなると共に拡張された状態にある拡張済結合チューブと、拡張済結合チューブ内に挿入されて拡張された状態を維持する維持部材とを備えている。
【選択図】図1
特許請求の範囲
【請求項1】
TiNi系形状記憶合金材料からなると共に拡張された状態にある拡張済結合チューブと、前記拡張済結合チューブ内に挿入されて前記拡張された状態を維持する維持部材とを備える結合部材。
続きを表示(約 1,600 文字)
【請求項2】
請求項1記載の結合部材であって、
前記維持部材は、前記TiNi系形状記憶合金材料の熱膨張係数以上の熱膨張係数を有する鋼材からなる
結合部材。
【請求項3】
請求項2記載の結合部材であって、
前記鋼材は、ステンレス鋼である
結合部材。
【請求項4】
請求項1記載の結合部材であって、
前記拡張済結合チューブは、NiTi合金からなり、
前記NiTi合金におけるNiの組成比が50at%以上51at%以下であり、
前記拡張済結合チューブの降伏応力は、20MPa以上100MPa以下である
結合部材。
【請求項5】
請求項1記載の結合部材であって、
前記拡張済結合チューブは、NiTi合金からなり、
前記NiTi合金におけるNiの組成比が50at%以上51at%以下であり、
前記拡張済結合チューブは、前記NiTi合金を400℃以上500℃以下の温度で、30秒以上180分以下の時間、熱処理したものである
結合部材。
【請求項6】
TiNi系形状記憶合金材料からなる結合チューブであってオーステナイト相の状態において所定の管内断面積を有する結合チューブをマルテンサイト相の状態にし、
前記所定の管内断面積よりも部分的に大きい断面積を有する拡張部材を用いて、前記結合チューブを拡張して拡張済結合チューブを構成し、
前記所定の管内断面積よりも大きい断面積を有する維持部材を前記拡張済結合チューブに挿入して、拡張された状態を維持しつつ前記拡張済結合チューブをオーステナイト相に戻す
結合部材の製造方法。
【請求項7】
TiNi系形状記憶合金材料からなる結合チューブであってオーステナイト相の状態において所定の管内断面積を有する結合チューブを用意し、
先端部と前記先端部から延びる所定断面積の主部とを有する被挿入部材であって、前記先端部は前記所定の管内断面積よりも少なくとも部分的に小さい断面積を有しており且つ前記所定断面積は前記所定の管内断面積よりも大きい被挿入部材を前記先端部からオーステナイト相の状態にある前記結合チューブの一端に挿入し、
前記結合チューブの他端から前記結合チューブを通った前記先端部を引っ張ることにより、前記主部を前記結合チューブ内に挿入して前記結合チューブを拡張して拡張済結合チューブを構成し、
前記主部を前記拡張済結合チューブ内に維持部材として残して拡張された状態を維持しつつ、前記先端部を切り離す
結合部材の製造方法。
【請求項8】
請求項7記載の結合部材の製造方法であって、
前記先端部を引っ張る力が前記被挿入部材のばね限界強度を超えない範囲に設定されている
結合部材の製造方法。
【請求項9】
TiNi系形状記憶合金材料からなると共に拡張された状態を有する拡張済結合チューブと、前記拡張済結合チューブ内に挿入されて前記拡張された状態を維持する維持部材とを備える結合部材を準備する準備工程と、
前記結合部材の前記拡張済結合チューブをマルテンサイト相の状態にすると共に、前記拡張済結合チューブ内において2つの被結合部材の端部同士を突き合わせる突合工程と、
室温下において前記拡張済結合チューブをオーステナイト相に戻し、前記拡張済結合チューブの超弾性を利用して前記2つの被結合部材を締め付けることにより、前記2つの被結合部材同士を結合する結合工程と
を含む結合方法。
【請求項10】
請求項9記載の結合方法であって、
前記被結合部材の夫々は、前記突合工程において前記結合チューブ内に挿入される被挿入部を有しており、
前記被挿入部には、凸部が形成されている
結合方法。
発明の詳細な説明
【技術分野】
【0001】
本発明は、二つの被結合部材を結合する結合部材、結合部材の製造方法及び結合方法に関する。
続きを表示(約 1,100 文字)
【背景技術】
【0002】
特許文献1は、形状記憶合金材料からなるチューブを冷却してマルテンサイト相の状態にし、そのチューブ内に二つの被結合部材を挿入した後、室温で放置してチューブをオーステナイト相の状態にし、チューブの締め付けにより被結合部材を結合する技術を開示している。
【先行技術文献】
【特許文献】
【0003】
特開2022-21277号公報
【発明の概要】
【発明が解決しようとする課題】
【0004】
本発明は、特許文献1の結合方法と比較して、汎用性が高く且つより簡単に行える結合方法を提供することを目的とする。
【課題を解決するための手段】
【0005】
本発明は、上記目的を達成するため、新たな結合部材及びその製造方法を提供し、もって新たな結合方法を提供する。
【0006】
具体的には、本発明は、第1の結合部材として、
TiNi系形状記憶合金材料からなると共に拡張された状態にある拡張済結合チューブと、前記拡張済結合チューブ内に挿入されて前記拡張された状態を維持する維持部材とを備える結合部材を提供する。
【0007】
また、本発明は、第2の結合部材として、第1の結合部材であって、
前記維持部材は、前記TiNi系形状記憶合金材料の熱膨張係数以上の熱膨張係数を有する鋼材からなる
結合部材を提供する。
【0008】
また、本発明は、第3の結合部材として、第2の結合部材であって、
前記鋼材は、ステンレス鋼である
結合部材を提供する
【0009】
また、本発明は、第4の結合部材として、第1の結合部材であって、
前記拡張済結合チューブは、NiTi合金からなり、
前記NiTi合金におけるNiの組成比が50at%以上51at%以下であり、
前記拡張済結合チューブの降伏応力は、20MPa100MPa以下である
結合部材を提供する。
【0010】
また、本発明は、第5の結合部材として、第1の結合部材であって、
前記拡張済結合チューブは、NiTi合金からなり、
前記NiTi合金におけるNiの組成比が50at%以上51at%以下であり、
前記拡張済結合チューブは、前記NiTi合金を400℃以上500℃以下の温度で、30秒以上180分以下の時間、熱処理したものである
結合部材を提供する。
(【0011】以降は省略されています)
この特許をJ-PlatPat(特許庁公式サイト)で参照する
関連特許
株式会社トーキン
圧電振動子
1か月前
株式会社トーキン
電流センサ装置
1か月前
株式会社トーキン
積層圧電アクチュエータ
1か月前
株式会社トーキン
圧粉磁心の製造方法及び圧粉磁心
1か月前
株式会社トーキン
マルチインダクタの製造方法及びマルチインダクタ
11日前
個人
銅鉄合金の製造
3か月前
日本製鉄株式会社
鋳片
2日前
個人
高強度せん断補強筋用の鋼材
7か月前
宏幸株式会社
金属回収方法
7か月前
株式会社神戸製鋼所
鋼材
6か月前
JX金属株式会社
鉛の回収方法
1か月前
JX金属株式会社
鉛の回収方法
1か月前
株式会社神戸製鋼所
銅合金
25日前
三菱マテリアル株式会社
切削工具
1か月前
古河電気工業株式会社
銅線
1か月前
株式会社神戸製鋼所
銅合金板
3か月前
日本製鉄株式会社
鋼材
7か月前
日本製鉄株式会社
鋼材
7か月前
日本製鉄株式会社
鋼材
3か月前
日本製鉄株式会社
鋼材
3か月前
日本製鉄株式会社
鋼材
3か月前
日本製鉄株式会社
鋼材
6か月前
日本製鉄株式会社
鋼材
4か月前
日本製鉄株式会社
鋼材
7か月前
日本製鉄株式会社
鋼材
3か月前
株式会社神戸製鋼所
ボルト用鋼
1か月前
住友金属鉱山株式会社
金属の抽出方法
1か月前
日本製鉄株式会社
鋼線
5か月前
日本製鉄株式会社
線材
5か月前
日本製鉄株式会社
ボルト
3か月前
日本製鉄株式会社
鋼部品
1か月前
大同特殊鋼株式会社
鋼材及び金型
3か月前
大同メタル工業株式会社
摺動材料
4か月前
日本製鉄株式会社
ボルト
2か月前
株式会社神戸製鋼所
浸炭窒化鋼材
1か月前
日本製鉄株式会社
鋼部品
1か月前
続きを見る
他の特許を見る