TOP
|
特許
|
意匠
|
商標
特許ウォッチ
Twitter
他の特許を見る
10個以上の画像は省略されています。
公開番号
2025140691
公報種別
公開特許公報(A)
公開日
2025-09-29
出願番号
2024040233
出願日
2024-03-14
発明の名称
記録装置、記録装置の制御方法及びプログラム
出願人
キヤノン株式会社
代理人
弁理士法人谷・阿部特許事務所
主分類
B41J
2/165 20060101AFI20250919BHJP(印刷;線画機;タイプライター;スタンプ)
要約
【課題】記録ヘッドの寿命低下を抑制した回復処理を実現する。
【解決手段】本発明の一実施形態は、液体を吐出する吐出口と、前記液体の吐出に要するエネルギーを発生するための記録素子と、を有する記録ヘッドと、前記記録ヘッドの吐出状態を回復する回復処理手段と、前記吐出状態を推定可能な推定情報に基づき、前記回復処理手段による回復処理を、実行可能な状態に遷移させる遷移手段と、を有する、ことを特徴とする記録装置である。
【選択図】図10
特許請求の範囲
【請求項1】
液体を吐出する吐出口と、前記液体の吐出に要するエネルギーを発生するための記録素子と、を有する記録ヘッドと、
前記記録ヘッドの吐出状態を回復する回復処理手段と、
前記吐出状態を推定可能な推定情報に基づき、前記回復処理手段による回復処理を、実行可能な状態に遷移させる遷移手段と、
を有する、
ことを特徴とする記録装置。
続きを表示(約 1,000 文字)
【請求項2】
前記回復処理は、実行回数に制限のある第1回復処理を含む、
ことを特徴とする請求項1に記載の記録装置。
【請求項3】
前記第1回復処理は、前記記録ヘッドにおけるコゲを除去するためのコゲ除去処理である、
ことを特徴とする請求項2に記載の記録装置。
【請求項4】
前記回復処理手段による回復処理の実行は、ユーザまたはサービスマンにより、操作制御手段を介して指示される、
ことを特徴とする請求項3に記載の記録装置。
【請求項5】
前記回復処理手段として、複数種類の回復処理手段を有し、
前記回復処理は、複数種類の回復処理を含み、
前記操作制御手段は、前記記録装置に備え付けの操作パネルを含み、
前記操作パネルにGUI画面が表示される、
ことを特徴とする請求項4に記載の記録装置。
【請求項6】
前記GUI画面は、前記複数種類の回復処理が選択的に表示される、
ことを特徴とする請求項5に記載の記録装置。
【請求項7】
前記GUI画面は、前記第1回復処理を選択するための第1ボタンを有し、
前記第1回復処理が実行不能な状態で、前記第1ボタンを押下することができない、
ことを特徴とする請求項6に記載の記録装置。
【請求項8】
前記第1回復処理が実行不能の場合、前記GUI画面は、前記第1回復処理を選択するための第1ボタンを有さず、
前記遷移手段により、前記第1回復処理が実行可能な状態に遷移した場合、前記GUI画面に前記第1ボタンが表示される、
ことを特徴とする請求項6に記載の記録装置。
【請求項9】
前記第1回復処理が実行不能の場合、前記GUI画面は、前記第1回復処理を選択するための第1ボタンを有し、
前記第1回復処理が実行不能なときに前記第1ボタンが押下された場合、前記第1回復処理は実行されない、
ことを特徴とする請求項6に記載の記録装置。
【請求項10】
前記GUI画面は、前記第1回復処理と、当該第1回復処理に付随する動作の処理と、に要する所要時間の目安を表示する画面を含む、
ことを特徴とする請求項5に記載の記録装置。
(【請求項11】以降は省略されています)
発明の詳細な説明
【技術分野】
【0001】
本開示は、記録装置、記録装置の制御方法及びプログラムに関する。
続きを表示(約 1,500 文字)
【背景技術】
【0002】
従来の記録装置において、記録媒体を搬送し、記録ヘッドの吐出口から記録媒体に向けてインク液滴を吐出することにより、記録媒体上に画像を形成することが行われている。記録ヘッドの吐出口からインクを吐出するためのエネルギーを発生する方式として、ピエゾ素子等の電気機械変換素子を用いてインクを加圧する方式、レーザ等の電磁波を照射して発熱により発泡を生じさせて気泡の圧力を利用する方式がある。また、発熱抵抗体を有する電気熱変換素子(以下「ヒータ」と呼ぶ)によってインクを加熱することで発泡を生じさせる方式がある。
【0003】
このヒータを用いた記録ヘッドにおいて、ヒータがインクを加熱することでその表面にインクの焦げ付きが生じ、インクの吐出速度が大きく変化することがある。このような記録ヘッドに用いられるインクは、色剤が染料系又は顔料系のインクが多く、それらの色剤は水に対して不溶性又は難溶性を有するものが多い。そのため、不溶性、難溶性の物質が、前述したヒータに焦げ付くため、吐出特性が変化し易い。
【0004】
ところで、焦げ付き易いインクを使用し続けた場合、ヒータ上にコゲが生じる結果、吐出特性が大きく変化する(例えば、吐出速度が下がる)ことが知られている。この吐出特性の変化によって、画像弊害が発生する虞があり、例えば、着弾位置ずれによる細線、文字の乱れ、色味の変化等が発生する。
【0005】
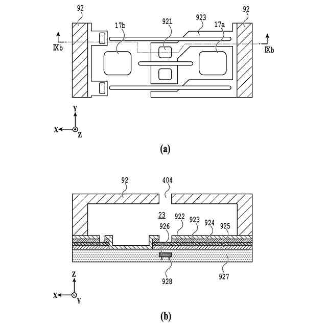
この画像弊害の問題に対して、特許文献1は、ヒータの熱作用部を含む領域に、インクとの電気化学反応を生じさせるための電極となるよう電気的接続が可能に配置された上部保護層を有するヘッドを開示している。この上部保護層を、電気化学反応により溶出する金属を含み、かつ加熱により前記溶出を妨げる酸化膜を形成しない材料で形成することで、電気化学反応を生じさせて上部保護層の表面層を溶出させる。これにより、熱作用部上のコゲを除去することができる。この処理は、コゲ除去処理と呼ばれる
【先行技術文献】
【特許文献】
【0006】
特開2012‐101557号公報
【発明の概要】
【発明が解決しようとする課題】
【0007】
しかしながら、特許文献1では、コゲ除去処理を実行するたびに、上部保護層の表面層が溶出されることから、コゲ除去処理の実行可能回数が、上部保護層を形成する層の厚みによって制限される。従って、ユーザが任意のタイミングでコゲ除去処理を実行可能な構成を採用した場合に、ユーザが不適切なタイミングでコゲ除去処理を実行すると、記録ヘッドの寿命が想定より短くなる虞がある。
【0008】
そこで本開示は、上記課題に鑑み、記録ヘッドの寿命低下を抑制した回復処理を実現することを目的とする。
【課題を解決するための手段】
【0009】
本発明の一実施形態は、液体を吐出する吐出口と、前記液体の吐出に要するエネルギーを発生するための記録素子と、を有する記録ヘッドと、前記記録ヘッドの吐出状態を回復する回復処理手段と、前記吐出状態を推定可能な推定情報に基づき、前記回復処理手段による回復処理を、実行可能な状態に遷移させる遷移手段と、を有する、ことを特徴とする記録装置である。
【発明の効果】
【0010】
本開示によれば、記録ヘッドの寿命低下を抑制した回復処理を実現することが可能である。
【図面の簡単な説明】
(【0011】以降は省略されています)
この特許をJ-PlatPat(特許庁公式サイト)で参照する
関連特許
キヤノン株式会社
トナー
今日
キヤノン株式会社
トナー
今日
キヤノン株式会社
トナー
5日前
キヤノン株式会社
トナー
今日
キヤノン株式会社
トナー
1か月前
キヤノン株式会社
電子機器
28日前
キヤノン株式会社
電子機器
21日前
キヤノン株式会社
撮像装置
21日前
キヤノン株式会社
撮像装置
5日前
キヤノン株式会社
定着装置
28日前
キヤノン株式会社
定着装置
28日前
キヤノン株式会社
定着装置
28日前
キヤノン株式会社
撮像装置
1か月前
キヤノン株式会社
撮像装置
1日前
キヤノン株式会社
電子機器
7日前
キヤノン株式会社
記録装置
21日前
キヤノン株式会社
電子機器
1か月前
キヤノン株式会社
電子機器
1か月前
キヤノン株式会社
現像装置
1か月前
キヤノン株式会社
記録装置
5日前
キヤノン株式会社
撮像装置
1か月前
キヤノン株式会社
光学装置
1か月前
キヤノン株式会社
電子機器
9日前
キヤノン株式会社
電子機器
1か月前
キヤノン株式会社
撮像装置
19日前
キヤノン株式会社
表示装置
12日前
キヤノン株式会社
発光装置
12日前
キヤノン株式会社
電子機器
13日前
キヤノン株式会社
定着装置
19日前
キヤノン株式会社
撮像装置
13日前
キヤノン株式会社
定着装置
13日前
キヤノン株式会社
収容装置
13日前
キヤノン株式会社
撮像装置
20日前
キヤノン株式会社
記録装置
20日前
キヤノン株式会社
電子機器
13日前
キヤノン株式会社
半導体装置
7日前
続きを見る
他の特許を見る