TOP
|
特許
|
意匠
|
商標
特許ウォッチ
Twitter
他の特許を見る
10個以上の画像は省略されています。
公開番号
2025140624
公報種別
公開特許公報(A)
公開日
2025-09-29
出願番号
2024040142
出願日
2024-03-14
発明の名称
自動車車体のヘミング部構造
出願人
スズキ株式会社
代理人
個人
,
個人
,
個人
,
個人
,
個人
,
個人
主分類
B60J
5/00 20060101AFI20250919BHJP(車両一般)
要約
【課題】 ヘミング部の開放側の領域に水が浸入しても、アウターパネル及びインナーパネルの腐食を抑制することができる自動車車体のヘミング部構造を提供する。
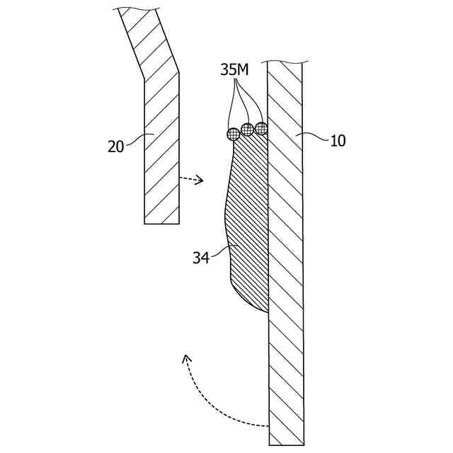
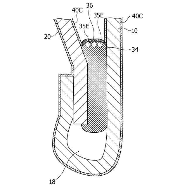
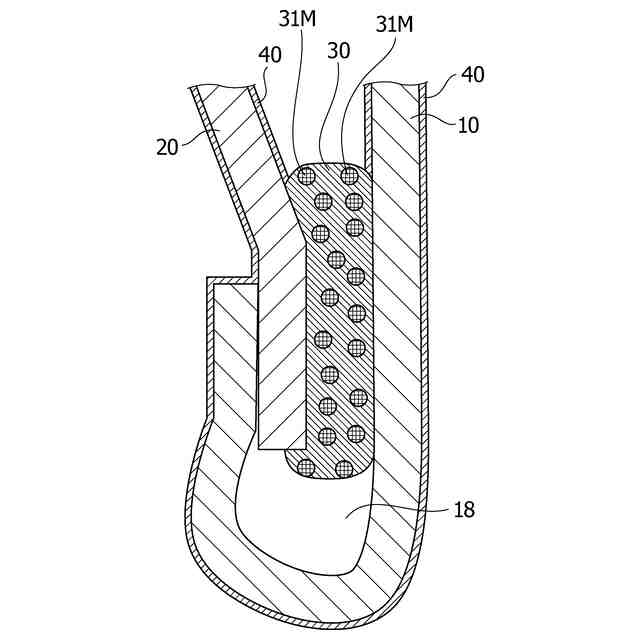
【解決手段】 自動車車体のヘミング部構造は、アウターパネル10と、インナーパネル20と、アウターパネルとインナーパネルを接合する接着剤30とを備え、アウターパネルの縁部は、インナーパネルの縁部を包み込むように折り返してヘミング部を構成し、接着剤30は、防錆ワックスを内包する熱応答性マイクロカプセル31Mを含み、接着剤のアウターパネル10及びインナーパネル20から露出した表面は、防錆ワックスの被膜33で覆われている。
【選択図】 図3
特許請求の範囲
【請求項1】
アウターパネルと、インナーパネルと、前記アウターパネルと前記インナーパネルを接合する接着剤とを備える自動車車体のヘミング部構造であって、
前記アウターパネルの縁部が、前記インナーパネルの縁部を包み込むように折り返してヘミング部を構成し、
前記接着剤が、防錆ワックスを内包する熱応答性マイクロカプセルを含み、
前記接着剤の前記アウターパネル及び前記インナーパネルから露出した表面が、前記防錆ワックスの被膜で覆われている、ヘミング部構造。
続きを表示(約 170 文字)
【請求項2】
前記接着剤の前記アウターパネル及び前記インナーパネルから露出した表面側に、前記熱応答性マイクロカプセルが偏在している、請求項1に記載のヘミング部構造。
【請求項3】
前記接着剤が熱硬化性接着剤であり、その硬化温度が、熱応答性マイクロカプセルの応答温度より低い、請求項1又は2に記載のヘミング部構造。
発明の詳細な説明
【技術分野】
【0001】
本発明は、自動車車体のヘミング部構造に関する。
続きを表示(約 2,300 文字)
【背景技術】
【0002】
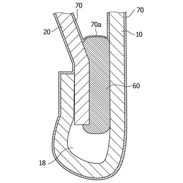
自動車の車体には、例えばボンネットフード、ドア、フェンダ、バックドア等の多くの車体構成部品が装着されており、これら各構成部品の車体内外部には、それぞれインナーパネルおよびアウターパネルが設けられている。図7に示すように、アウターパネル10とインナーパネル20を接合する方法として、ヘミング曲げが用いられている。さらに、このヘミング部に接着剤60を塗布し、パネル間のズレを防止する工法が広く採用されている。より具体的には、各パネルのプレス成型後、接着剤を塗布した後にヘミング曲げを実施し、その後、塗装焼付時に接着剤を硬化させるのが一般的である。したがって、この接着剤60には、加熱(120~200℃程度)によって硬化する熱硬化型のものが使用される。また、接着剤60は、導電性と非導電性のいずれも用いられる。ヘミング部に用いられる導電性接着剤は、カーボン系の導電性フィラーが接着剤中にて網状に連結し、導電性を確保している。
【0003】
このような接着剤を用いたヘミング曲げとして、特許文献1には、内装板とこの内装板の縁部を覆う折り曲げ部分を有する外装板とからなる自動車車体のヘミング部の空隙に、熱膨張性フィラーを含有する接着剤を充填し、塗装の硬化のために行なう加熱処理により、接着剤を膨張させて塗装の端縁部を被覆することを特徴とする自動車車体ヘミング部の形成方法が記載されている。
【先行技術文献】
【特許文献】
【0004】
特許第2582780号
【発明の概要】
【発明が解決しようとする課題】
【0005】
ヘミング部の構造は、図8に示すように、アウターパネル10が折り返されたヘミング曲げ内部18は、インナーパネル20と接着剤60によって袋構造の閉じられた空隙となっている。このヘミング曲げ内部18は、電着塗装工程において、空気が抜けないため電着液が入らず、電着塗装が施されにくい部位である。一方、ヘミング曲げ内部18に対して接着剤60を挟んだ反対側(図8の上側)は開放されており、電着液が入り電着塗装が施される部位となっている。
【0006】
接着剤60が非導電性の場合、図8に示すように、アウターパネル10及びインナーパネル20の表面には電着塗装70が形成されるものの、ヘミング曲げ内部18はもちろん開放側であっても、非導電性の接着剤60の表面には電着塗料が付着しないことから、電着塗装70が形成されない。よって、開放側の非導電性の接着剤60の露出表面と、アウターパネル10、インナーパネル20の各表面の電着塗装70との境界部に隙間が生じて弱点部となり、ここに水が浸入するとアウターパネル10及びインナーパネル20に腐食12、22が発生する不具合が生じるという問題がある。
【0007】
また、図9に示すように、導電性の接着剤61を用いた場合、電着塗装工程において接着剤61の表面にも電着塗料が付着するため、アウターパネル10、インナーパネル20及び接着剤60の露出表面を隙間なく電着塗装70を形成することが可能であるものの、導電性の接着剤61は金属製のアウターパネル10及びインナーパネル20と比較すると電気抵抗が大きいために電着塗料の付着量が少ない。よって、導電性の接着剤61の露出表面の電着塗装70aは十分な厚さで形成されず、図8に示す非導電性の接着剤60を用いた場合と同様の腐食が生じるという問題がある。
【0008】
このため、電着塗装70を形成した後に、非導電性、導電性のいずれの接着剤60、61を用いた場合も、接着剤60、61の露出表面に対して防水性を有する防錆ワックスを塗布することで、接着剤60、61と電着塗装70の境界部の隙間への水の浸入の防止することができる。しかしながら、接着剤60、61の露出表面に防錆ワックスを塗布するためには、この接着剤60、61の露出表面がドアやフードの内部にあるため、インナーパネル20に穴を設けて、専用のスプレーガンのノズル(図示省略)を差し入れ、接着剤60、61の露出表面に向けて防錆ワックスを噴射して、塗布することとなる。
【0009】
ノズルを差し入れられる大きさの穴はドアやフードの強度に影響するため、インナーパネル20の平坦部に設ける必要があり、縦壁部やコーナー部等に位置するヘミング部の近くには設けることができず、遠く離れた箇所からスプレーガンで防錆ワックスを噴射することとなる。防錆ワックスは、目標である接着剤60、61の露出表面まで離れているために空気抵抗により周囲に拡散し、ヘミング部周辺のアウターパネル10及びインナーパネル20の表面にも付着してしまう。このヘミング部周辺の部位に付着した防錆ワックスは、ワックス塗布工程や製品使用中に高い温度にさらされるとインナーパネル20に設けられている水抜き穴等の小さい穴(図示省略)から外部へ流出し、外観上の不具合となり得る。また、目標の接着剤60、61の露出表面は、ドアやフードの内部かつ狭隘部にあり、外部から視認することが難しいことから、防錆ワックスの噴射が目標からずれやすく、また塗布後の確認作業も困難であるという問題もある。
【0010】
特許文献1には、接着剤中に熱膨張性フィラーを含有させ、塗装焼付時に接着剤が膨張して弱点部を覆う方法が示されているが、接着剤の熱膨張によりパネルの変形が生じ、美観を損ねる、あるいはヘミング部の接合強度を低下させる懸念がある。
(【0011】以降は省略されています)
この特許をJ-PlatPat(特許庁公式サイト)で参照する
関連特許
個人
カーテント
4か月前
個人
タイヤレバー
2か月前
個人
前輪キャスター
1か月前
個人
車窓用防虫網戸
4か月前
個人
ルーフ付きトライク
1か月前
個人
タイヤ脱落防止構造
1か月前
個人
ホイルのボルト締結
3か月前
個人
車輪清掃装置
4か月前
日本精機株式会社
表示装置
1か月前
個人
車両通過構造物
2か月前
個人
キャンピングトライク
3か月前
日本精機株式会社
表示装置
2か月前
個人
マスタシリンダ
7日前
日本精機株式会社
表示装置
2か月前
井関農機株式会社
作業車両
3か月前
井関農機株式会社
作業車両
3か月前
日本精機株式会社
表示装置
2か月前
個人
車両用スリップ防止装置
3か月前
個人
ワイパーゴム性能保持具
4か月前
個人
キャンピングトレーラー
3か月前
個人
乗合路線バスの客室装置
2か月前
個人
アクセルのソフトウェア
3か月前
個人
車載小物入れ兼雨傘収納具
3か月前
株式会社ニフコ
収納装置
24日前
個人
円湾曲ホイール及び球体輪
2か月前
日本精機株式会社
車室演出装置
1か月前
株式会社豊田自動織機
産業車両
2か月前
株式会社クラベ
ヒータユニット
4か月前
日本精機株式会社
車載表示装置
15日前
日本精機株式会社
車載表示装置
3か月前
個人
音声ガイド、音声サービス
2か月前
株式会社ニフコ
保持装置
3か月前
井関農機株式会社
収穫作業車両
4か月前
株式会社ニフコ
照明装置
1か月前
日本精機株式会社
車両用投影装置
14日前
トヨタ自動車株式会社
車両
3か月前
続きを見る
他の特許を見る