TOP
|
特許
|
意匠
|
商標
特許ウォッチ
Twitter
他の特許を見る
公開番号
2025139722
公報種別
公開特許公報(A)
公開日
2025-09-29
出願番号
2024038709
出願日
2024-03-13
発明の名称
計算機システム、情報処理方法、及び情報処理プログラム
出願人
株式会社日立製作所
代理人
藤央弁理士法人
主分類
G06F
21/74 20130101AFI20250919BHJP(計算;計数)
要約
【課題】秘匿情報処理において、暗号化データを信頼領域に読み出して復号するための時間を短くし、ひいては秘匿情報処理を高速化する。
【解決手段】計算機システムは、プロセッサとメモリとを備え、プロセッサは、信頼領域をメモリに設定するための実行環境であって、論理的に隔離された複数の隔離実行プロセスを有する実行環境、を有し、計算機システムは、実行順序が定められた複数のブロック処理を含み、かつ暗号化データに対する処理の実行要求を受け付け、ブロック処理に用いる暗号化データを信頼領域に読み出して復号する準備処理を実行してから、信頼領域を用いた当該ブロック処理を実行し、当該ブロック処理と、当該ブロック処理よりも前記実行順序が後であるブロック処理についての準備処理と、を並行して実行する。
【選択図】図7
特許請求の範囲
【請求項1】
1以上の計算機を備える計算機システムであって、
前記1以上の計算機それぞれは、1以上のプロセッサと、前記プロセッサに接続されるメモリと、を有し、
前記1以上のプロセッサは、セキュリティが確保され、かつ論理的に隔離された信頼領域を当該プロセッサに接続されるメモリに設定するための実行環境を有し、
前記実行環境は、論理的に隔離された複数の隔離実行プロセスを有し、
前記1以上の計算機は、
実行順序が定められた複数のブロック処理を含み、かつ暗号化データに対する処理の実行要求を受け付け、
前記複数のブロック処理それぞれについて、
当該ブロック処理が実行される隔離実行プロセスを前記信頼領域に生成して、当該ブロック処理に用いる暗号化データを、前記信頼領域に読み出して復号する、準備処理を実行し、
前記信頼領域を用いた当該ブロック処理を、前記準備処理と、前記実行順序が当該ブロック処理よりも前のブロック処理と、が完了してから、実行し、
前記ブロック処理と、当該ブロック処理よりも前記実行順序が後であるブロック処理についての前記準備処理と、を並行して実行する、計算機システム。
続きを表示(約 2,000 文字)
【請求項2】
請求項1に記載の計算機システムであって、
前記1以上の計算機は、
並行して実行される隔離実行プロセスの最大数を示す情報を保持し、
前記複数のブロック処理のうち、前記実行順序における順位が1から前記最大数までのブロック処理それぞれに対応する前記準備処理を、前記実行要求を受信する前に実行する、計算機システム。
【請求項3】
請求項2に記載の計算機システムであって、
前記1以上の計算機は、
前記複数のブロック処理それぞれについて、
当該ブロック処理が完了したら、当該ブロック処理を実行した前記隔離実行プロセスを削除し、
当該ブロック処理の前記実行順序における順位に前記最大数を加えた順位のブロック処理が存在すると判定した場合、当該存在するブロック処理について前記準備処理を実行する、計算機システム。
【請求項4】
請求項1に記載の計算機システムであって、
前記1以上の計算機は、
前記複数のブロック処理それぞれが割り当てられる隔離実行プロセスを示す割当情報を保持し、
前記割当情報に基づいて、前記複数のブロック処理それぞれについての前記準備処理と、前記複数のブロック処理それぞれと、を実行し、
前記割当情報は、前記複数のブロック処理それぞれについての前記準備処理が、前記実行順序において当該ブロック処理よりも前のブロック処理が完了するよりも前に、完了するよう定められている、計算機システム。
【請求項5】
請求項1に記載の計算機システムであって、
前記1以上の計算機は、
前記複数のブロック処理それぞれについて、
当該ブロック処理の前記実行順序における次のブロック処理が存在する場合、
当該ブロック処理の処理結果を暗号化して、当該次のブロック処理が実行される隔離実行プロセスに出力し、
前記暗号化した処理結果を当該隔離実行プロセスにおいて復号し、
前記復号した処理結果を用いて当該次のブロック処理を実行する、計算機システム。
【請求項6】
請求項5に記載の計算機システムであって、
前記複数のブロック処理それぞれは、多層型の機械学習モデルが用いられるAI処理における層それぞれに対応する層処理であって、
前記1以上の計算機は、
前記層処理それぞれに用いられるパラメータが暗号化された暗号化パラメータを保持し、
前記準備処理において、当該準備処理に対応する層処理に対応する暗号化パラメータを前記信頼領域に読み出して復号する、計算機システム。
【請求項7】
請求項1に記載の計算機システムであって、
前記1以上の計算機において、1つの仮想マシンが動作し、
前記複数の隔離実行プロセスが、前記1つの仮想マシンに生成される、計算機システム。
【請求項8】
請求項1に記載の計算機システムであって、
前記1以上の計算機において、複数の仮想マシンが動作し、
前記複数の隔離実行プロセスそれぞれが、異なる前記仮想マシンに生成される、計算機システム。
【請求項9】
請求項1に記載の計算機システムであって、
前記1以上の計算機は、複数の計算機であり、
前記複数の隔離実行プロセスそれぞれが、異なる前記計算機に生成される、計算機システム。
【請求項10】
1以上の計算機を有する計算機システムによる情報処理方法であって、
前記1以上の計算機それぞれは、1以上のプロセッサと、前記プロセッサに接続されるメモリと、を有し、
前記1以上のプロセッサは、セキュリティが確保され、かつ論理的に隔離された信頼領域を当該プロセッサに接続されるメモリに設定するための実行環境を有し、
前記実行環境は、論理的に隔離された複数の隔離実行プロセスを有し、
前記情報処理方法は、
前記1以上の計算機が、実行順序が定められた複数のブロック処理を含み、かつ暗号化データに対する処理の実行要求を受け付け、
前記複数のブロック処理それぞれについて、
前記1以上の計算機が、当該ブロック処理が実行される隔離実行プロセスを前記信頼領域に生成して、当該ブロック処理に用いる暗号化データを、前記信頼領域に読み出して復号する、準備処理を実行し、
前記1以上の計算機が、前記信頼領域を用いた当該ブロック処理を、前記準備処理と、前記実行順序が当該ブロック処理よりも前のブロック処理と、が完了してから、実行し、
前記1以上の計算機が、前記ブロック処理と、当該ブロック処理よりも前記実行順序が後であるブロック処理についての前記準備処理と、を並行して実行する、情報処理方法。
(【請求項11】以降は省略されています)
発明の詳細な説明
【技術分野】
【0001】
本発明は、計算機システム、情報処理方法、及び情報処理プログラムに関する。
続きを表示(約 2,100 文字)
【背景技術】
【0002】
近年、CPU(Central Processing Unit)にはTEE(Trusted Execution Environment)が搭載されている。TEEは秘匿情報の処理に有効であると考えられる。TEEは、コンピュータ上で稼働するOS(Operating System)の管理者権限を奪われても情報を読み取られない信頼領域を提供する環境である。信頼領域内で暗号化データの復号及び処理が実行されることで、安全かつ高度な処理が可能となる。
【0003】
TEEの信頼領域を機械学習に利用する技術として、特開2023-70519号公報(特許文献1)がある。特許文献1は、TEEの信頼領域を利用してデータを秘匿したままCNN(Convolutional Neural Network)等の多層型処理を実行する際に、必要なメモリ使用量が信頼領域の容量を超える場合のページング処理の発生を防ぎ、処理を高速化する計算機システム及び方法を開示する。
【0004】
具体的には、特許文献1に記載の技術における計算機システムは、メモリに、セキュリティが確保され、かつ、論理的に隔離された信頼領域を設定するための機能を有するプロセッサを有する計算機を備える。計算機システムは、複数のブロック処理を含み、かつ、機密情報を含むデータが暗号化された暗号化データに対する処理の実行要求を受け付け、一つのブロック処理を実行する場合、暗号化データの復号が必要か否かを判定し、暗号化データの復号が必要でない場合、信頼領域とは異なる領域を用いてブロック処理を実行し、暗号化データの復号が必要である場合、信頼領域を用いてブロック処理を実行する。
【先行技術文献】
【特許文献】
【0005】
特開2023-70519号公報
【発明の概要】
【発明が解決しようとする課題】
【0006】
特許文献1に記載の技術では、秘匿情報処理において、暗号化データを信頼領域に読み出して復号するための時間の長さに改善の余地がある。そこで、本発明の一態様は、秘匿情報処理において、暗号化データを信頼領域に読み出して復号するための時間を短くし、ひいては秘匿情報処理を高速化する。
【課題を解決するための手段】
【0007】
上記課題を解決するために本発明の一態様は以下の構成を採用する。計算機システムは、1以上の計算機を備え、前記1以上の計算機それぞれは、1以上のプロセッサと、前記プロセッサに接続されるメモリと、を有し、前記1以上のプロセッサは、セキュリティが確保され、かつ論理的に隔離された信頼領域を当該プロセッサに接続されるメモリに設定するための実行環境を有し、前記実行環境は、論理的に隔離された複数の隔離実行プロセスを有し、前記1以上の計算機は、実行順序が定められた複数のブロック処理を含み、かつ暗号化データに対する処理の実行要求を受け付け、前記複数のブロック処理それぞれについて、当該ブロック処理が実行される隔離実行プロセスを前記信頼領域に生成して、当該ブロック処理に用いる暗号化データを、前記信頼領域に読み出して復号する、準備処理を実行し、前記信頼領域を用いた当該ブロック処理を、前記準備処理と、前記実行順序が当該ブロック処理よりも前のブロック処理と、が完了してから、実行し、前記ブロック処理と、当該ブロック処理よりも前記実行順序が後であるブロック処理についての前記準備処理と、を並行して実行する。
【発明の効果】
【0008】
本発明の一態様によれば、秘匿情報処理において、暗号化データを信頼領域に読み出して復号するための時間を短くすることができ、ひいては秘匿情報処理を高速化することができる。
【0009】
上記した以外の課題、構成、及び効果は、以下の実施形態の説明により明らかにされる。
【図面の簡単な説明】
【0010】
実施例1の秘匿情報処理システムの構成例を示すブロック図である。
実施例1の秘匿情報処理システムのハードウェア構成例を示すブロック図である。
実施例1の秘匿情報処理システムにおける秘匿情報処理サービスの提供の流れの一例を示すシーケンス図である。
実施例1の秘匿情報処理サーバの機能構成の一例を示すブロック図である。
実施例1のエンクレイブ-層割当情報のデータ構造の一例を示す表である。
実施例1の秘匿情報処理サーバが実行するエンクレイブ事前準備処理の一例を示すフローチャートである。
実施例1の秘匿情報処理サーバが実行するエンクレイブ準備処理の一例を示すフローチャートである。
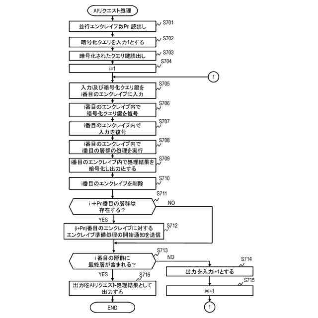
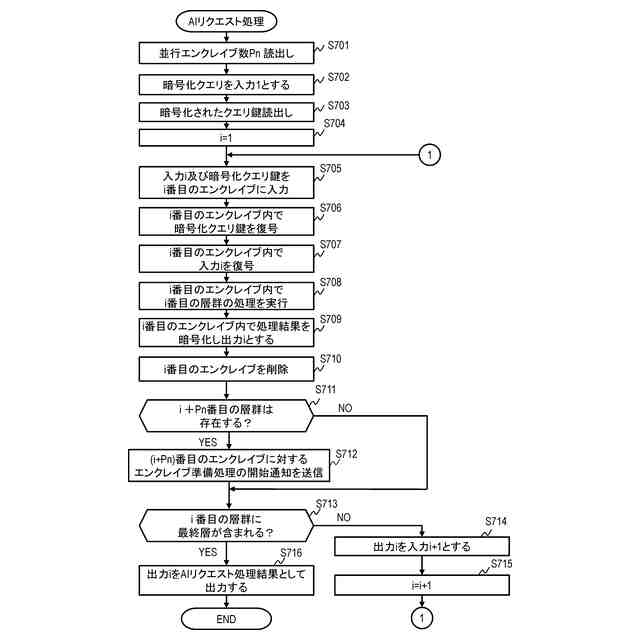
実施例1の秘匿情報処理サーバが実行するAIリクエスト処理の一例を示すフローチャートである。
【発明を実施するための形態】
(【0011】以降は省略されています)
この特許をJ-PlatPat(特許庁公式サイト)で参照する
関連特許
株式会社日立製作所
鉄道車両
7日前
株式会社日立製作所
ガス濃度測定装置
7日前
株式会社日立製作所
形状制御システム
1日前
株式会社日立製作所
計画装置および計画方法
13日前
株式会社日立製作所
管理システムおよび管理方法
3日前
株式会社日立製作所
訓練システムおよび訓練方法
3日前
株式会社日立製作所
情報処理装置及び情報処理方法
3日前
株式会社日立製作所
費用対効果算出方法および装置
1日前
株式会社日立製作所
電力変換器およびインバータ装置
3日前
株式会社日立製作所
情報処理システム、及び予測方法
今日
株式会社日立製作所
計算機システム及びデータ検索方法
3日前
株式会社日立製作所
昇降機システム及び昇降機制御方法
3日前
株式会社日立製作所
音声分析システム及び音声分析方法
7日前
株式会社日立製作所
Webページ更新管理装置及び方法
7日前
株式会社日立製作所
物流計画システム及び物流計画方法
1日前
株式会社日立製作所
データ出力装置およびデータ出力方法
3日前
株式会社日立製作所
通貨管理システム、及び通貨管理方法
7日前
株式会社日立製作所
作業認識支援システム及び作業認識支援方法
3日前
株式会社日立製作所
電力運用管理システム及び電力運用管理方法
13日前
株式会社日立製作所
統合装置、統合方法、および統合プログラム
3日前
株式会社日立製作所
ビル設備制御システム及びビル設備制御方法
3日前
株式会社日立製作所
磁場発生装置およびそれを用いた磁気冷凍装置
3日前
株式会社日立製作所
ノイズ低減方法、装置、電子機器及び可読媒体
今日
株式会社日立製作所
在室人数計測システムおよび在室人数計測方法
3日前
株式会社日立製作所
電力需給調整システムおよび電力需給調整方法
13日前
株式会社日立製作所
仮想化システム及び仮想化システムの制御方法
1日前
株式会社日立製作所
仮想化システム及び仮想化システムの制御方法
1日前
株式会社日立製作所
二次電池用制御装置および二次電池の制御方法
3日前
株式会社日立製作所
テスト支援システム、および、テスト支援方法
1日前
株式会社日立製作所
ドキュメント生成装置、ドキュメント生成方法
3日前
株式会社日立製作所
システム障害監視装置及びシステム障害監視方法
今日
株式会社日立製作所
システム、システムが実行する方法、プログラム
3日前
株式会社日立製作所
制御システム、制御仲介装置、および制御仲介方法
3日前
株式会社日立製作所
解析回避機能検出システム及び解析回避機能検出方法
今日
株式会社日立製作所
ストレージシステム及びストレージシステムの管理方法
3日前
株式会社日立製作所
軌条車両用電気品箱、軌条車両及び軌条車両の点検方法
3日前
続きを見る
他の特許を見る