TOP
|
特許
|
意匠
|
商標
特許ウォッチ
Twitter
他の特許を見る
10個以上の画像は省略されています。
公開番号
2025141709
公報種別
公開特許公報(A)
公開日
2025-09-29
出願番号
2024041769
出願日
2024-03-15
発明の名称
ストレージシステム及びストレージシステムの管理方法
出願人
株式会社日立製作所
代理人
青稜弁理士法人
主分類
G06F
13/14 20060101AFI20250919BHJP(計算;計数)
要約
【課題】コントローラ側でIO制御に使用するキューを切り替えることで、IO処理を継続することができるストレージシステム及びストレージシステムの管理方法を提供する。
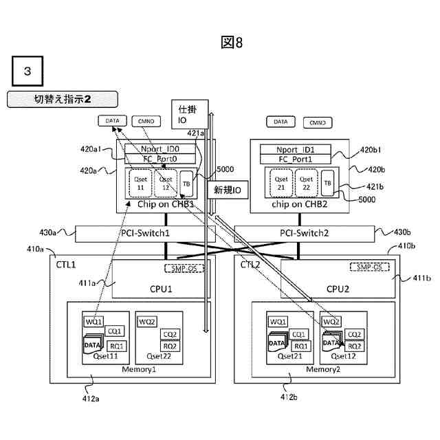
【解決手段】ストレージシステムは、ホストからのIOコマンドを受信する第1プロトコルチップ及び第2プロトコルチップと、第1CPUを含む第1コントローラと、第2CPUを含む第2コントローラとを備える。第1プロトコルチップは、第1コントローラからの指令に応じて、第1CPUを停止して、第1プロトコルチップが受信したIOコマンドを送るQsetを、Qset11からQset12に切り替える。
【選択図】図1
特許請求の範囲
【請求項1】
ホストからのIOコマンドを受信する第1プロトコルチップ及び第2プロトコルチップと、
前記第1プロトコルチップとの制御通信に使用されるキュー及び前記第2プロトコルチップとの制御通信に使用されるキューが割り当てられた第1CPUを有する第1コントローラと、
前記第1プロトコルチップとの制御通信に使用されるキュー及び前記第2プロトコルチップとの制御通信に使用されるキューが割り当てられた第2CPUを有する第2コントローラと、
前記第1プロトコルチップと、前記第1CPU及び前記第2CPUとの間に設けられ、前記第1プロトコルチップと前記第1CPUとの間の通信経路と、前記第1プロトコルチップと前記第2CPUとの間の通信経路とを設定する第1PCIスイッチと、
前記第2プロトコルチップと、前記第1CPU及び前記第2CPUとの間に設けられ、前記第2プロトコルチップと前記第1CPUとの間の通信経路と、前記第2プロトコルチップと前記第2CPUとの間の通信経路とを設定する第2PCIスイッチと、
を備え、
前記第1プロトコルチップ及び前記第2プロトコルチップのそれぞれは、
前記ホストから受信した前記IOコマンドの送信先のキューを規定したキュー制御情報を有し、
前記第1PCIスイッチ及び前記第2PCIスイッチによって、前記IOコマンドが通る通信経路を、前記キュー制御情報に従った前記通信経路に設定する、
ように構成された、
ストレージシステム。
続きを表示(約 2,500 文字)
【請求項2】
請求項1に記載のストレージシステムにおいて、
前記第1コントローラ及び前記第2コントローラの何れかは、
前記第1プロトコルチップ及び前記第2プロトコルチップの何れかにキュー切替指令を送信する、
ように構成され、
前記キュー切替指令を受けた前記第1プロトコルチップ及び前記第2プロトコルチップの何れかは、
前記キュー切替指令に応じて前記キュー制御情報を更新することによって、前記IOコマンドが通る通信経路を、更新した前記キュー制御情報に従った前記通信経路に切り替える、
ように構成された、
ストレージシステム。
【請求項3】
請求項2に記載のストレージシステムにおいて、
前記第1プロトコルチップと前記第1CPUとの間の通信経路は、前記第1CPUを停止していない場合に使用する通常のIO処理用の通信経路であり、前記第1プロトコルチップと前記第2CPUとの間の通信経路は、前記第1CPUを停止する場合に使用する代替のIO処理用の通信経路であり、
前記第1コントローラは、
前記第1CPUを停止する場合に、前記キュー切替指令を前記第1プロトコルチップに送信する、
ように構成され、
前記第1プロトコルチップは、
前記キュー切替指令に応じて、前記第1プロトコルチップが受信した前記IOコマンドが通る通信経路を、前記通常のIO処理用の通信経路から前記代替のIO処理用の通信経路に切り替える、
ように構成され、
ストレージシステム。
【請求項4】
請求項3に記載のストレージシステムにおいて、
前記第2プロトコルチップと前記第2CPUとの間の通信経路は、
前記第2CPUを停止していない場合に使用する通常のIO処理用の通信経路であり、
前記第2プロトコルチップと前記第1CPUとの間の通信経路は、
前記第2CPUを停止する場合に使用する代替のIO処理用の通信経路であり、
前記第2コントローラは、
前記第2CPUを停止する場合に、前記キュー切替指令を前記第2プロトコルチップに送信する、
ように構成され、
前記第2プロトコルチップは、
前記キュー切替指令に応じて、前記第2プロトコルチップが受信した前記IOコマンドが通る通信経路を、前記通常のIO処理用の通信経路から前記代替のIO処理用の通信経路に切り替える。
ように構成された、
ストレージシステム。
【請求項5】
請求項2に記載のストレージシステムにおいて、
前記第1CPU及び前記第2CPUのそれぞれはSMP-OSのマルチコアのCPUであり、
前記第1プロトコルチップは、
前記第1CPU上で動作する前記SMP-OSを更新する場合に、前記第1プロトコルチップが受信した前記IOコマンドの送信先のキューが、前記第1CPUに割り当てられたキューから前記第2CPUに割り当てられたキューに切り替わるように前記キュー制御情報を更新する、
ように構成された、
ストレージシステム。
【請求項6】
請求項5に記載のストレージシステムにおいて、
前記第2プロトコルチップは、
前記第2CPU上で動作する前記SMP-OSを更新する場合に、前記第2プロトコルチップが受信した前記IOコマンドの送信先のキューが、前記第2CPUに割り当てられたキューから前記第1CPUに割り当てられたキューに切り替わるように前記キュー制御情報を更新する、
ように構成された、
ストレージシステム。
【請求項7】
請求項2に記載のストレージシステムにおいて、
前記第1CPU及び前記第2CPUのそれぞれには、前記IOコマンドを受けるRQと、IO実行を要求するメッセージ送信キューであるWQと、IO実行要求で起動したIOデータ転送の完了を受けるメッセージ受信キューであるCQとを含むキューセットが割り当てられ、
前記キュー切替指令を受けた前記第1プロトコルチップ及び前記第2プロトコルチップの何れかは、
切替元の前記キューセットに入っている未処理のキュー情報の残存状態を確認し、残存状態に応じた処理を行う
ように構成された、
ストレージシステム。
【請求項8】
請求項7に記載のストレージシステムにおいて、
前記キュー切替指令を受けた前記第1プロトコルチップ及び前記第2プロトコルチップの何れかは、
切替元の前記RQのキュー情報である前記IOコマンドの残存状態を確認し、前記RQに残存している前記IOコマンドを切替先のキューにコピーして積み込み、前記未処理のキュー情報を処理する、
ように構成された、
ストレージシステム。
【請求項9】
請求項7に記載のストレージシステムにおいて、
前記キュー切替指令を受けた前記第1プロトコルチップ及び前記第2プロトコルチップの何れかは、
切替元の前記WQの前記キュー情報であるIO転送要求の残存状態を確認し、前記WQに残存している前記IO転送要求を処理する、
ように構成された、
ストレージシステム。
【請求項10】
請求項7に記載のストレージシステムにおいて、
前記キュー切替指令を受けた前記第1プロトコルチップ及び前記第2プロトコルチップの何れかは、
切替元のCQにIO完了通知を積み残している残IOを確認し、所定の条件を満たす場合、前記残IOに関する情報を、前記キュー切替指令を送信した前記第1コントローラ及び前記第2コントローラの何れかに通知し、前記残IOに対する処理を中断する、
ように構成された、
ストレージシステム。
(【請求項11】以降は省略されています)
発明の詳細な説明
【技術分野】
【0001】
本発明は、ストレージシステム及びストレージシステムの管理方法に関する。
続きを表示(約 1,600 文字)
【背景技術】
【0002】
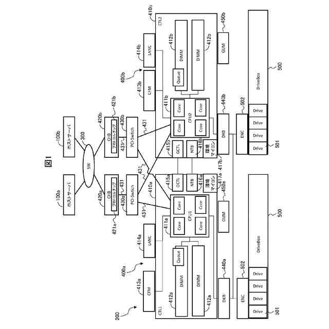
ストレージシステムは、プロトコルチップと、コントローラと、を備える。プロトコルチップは、ホストからIOコマンドを受信してコントローラに送信する。コントローラは、プロトコルチップからIOコマンドを受信してIO制御を行う。ストレージシステムにおいて、プロトコルチップとコントローラとは一対一の関係でPCI(Peripheral Component Interconnect) busで接続された構成が採用されている。
【0003】
プロトコルチップとコントローラのCPUとの間のインタフェースは、キュー制御方式を使用しており、CPUはキューを使用してプロトコルチップが受信したIOコマンドを受けたり、IO処理要求をプロトコルチップに依頼したりする。キューはコア毎又はCPU毎に割当てられる。
【0004】
コントローラには、AMP(Asymmetrical Multiprocessing)-OSのマルチコアのCPUが採用される場合がある。AMP-OSのCPUでは各コアで単体のOS(Operating System)が動作する。OSをアップデートする場合、CPUの各コア上で動作する単体のOS毎に個別にOSをアップデートすることが可能であるので、プロトコルチップとコントローラとが一対一の関係で接続された構成あっても、OSアップデート対象以外のコアがIO制御を代替えすることによって、ホストサーバと通信するIO制御を停止せずにノンディスラプティブなOSアップデートを行うことができる。
【0005】
これに対して、コントローラには、SMP(Symmetric Multiprocessing)-OSのマルチコアのCPUが採用される場合もある。SMP-OSのCPUでは、複数のコアで一つのOSが動作する。OSをアップデートする場合、プロトコルチップとコントローラとが一対一の関係で接続されており、且つ、AMP-OSのCPUのようにコア毎にOSをアップデートできないため、CPUの複数のコアを同時に停止する必要がある。
【0006】
CPUが全停止するとIO処理を担当するCPUコアが全く存在しなくなるため、IO処理を担当するコアがなくなってしまう。また、キューは使用不能となり、キューの中に入っていたIO制御情報は喪失する。更に、CPU停止中にホストサーバからプロトコルチップが受信したIOコマンドは全て喪失しまう。これらが原因で、SMP-OSのアップデートでは、IO処理の停止及びホストサーバとのLink切断が生じ得る問題がある。
【0007】
このような問題は、障害が発生してCPU全体が停止するなどの他のケースにおいても生じ得る。
【先行技術文献】
【特許文献】
【0008】
特表2012-514776号公報
国際公開第2016/006111号
【発明の概要】
【発明が解決しようとする課題】
【0009】
そこで、コントローラのCPUが全停止した場合に、コントローラ側でIO制御に使用するキューを、停止したCPUに割り当てられたキューから停止していない別のコントローラCPUに割り当てられたキューに切り替えることで、IO制御を継続する仕組みが必要となる。なお、特許文献1及び特許文献2には、本発明のようなコントローラ側でIO制御に使用するキューを、停止したCPUに割り当てられたキューから停止していない別のコントローラCPUに割り当てられたキューに切り替える仕組みについては記載されていない。
【0010】
本発明の目的の一つは、コントローラ側でIO制御に使用するキューを切り替えることで、IO処理を継続することができるストレージシステム及びストレージシステムの管理方法を提供することにある。
【課題を解決するための手段】
(【0011】以降は省略されています)
この特許をJ-PlatPat(特許庁公式サイト)で参照する
関連特許
個人
QRコードの彩色
1日前
個人
地球保全システム
10日前
個人
冷凍食品輸出支援構造
1か月前
個人
為替ポイント伊達夢貯
1か月前
個人
残土処理システム
3日前
個人
表変換編集支援システム
1か月前
個人
知財出願支援AIシステム
1か月前
個人
結婚相手紹介支援システム
1か月前
個人
知的財産出願支援システム
4日前
個人
AIによる情報の売買の仲介
1か月前
個人
パスワード管理支援システム
1か月前
個人
行動時間管理システム
1か月前
日本精機株式会社
施工管理システム
1か月前
株式会社キーエンス
受発注システム
9日前
株式会社キーエンス
受発注システム
9日前
個人
海外支援型農作物活用システム
22日前
個人
AIキャラクター制御システム
1か月前
株式会社キーエンス
受発注システム
9日前
株式会社アジラ
進入判定装置
1か月前
個人
システム及びプログラム
23日前
個人
パスポートレス入出国システム
1か月前
個人
食品レシピ生成システム
9日前
キヤノン株式会社
表示システム
9日前
個人
未来型家系図構築システム
22日前
個人
冷凍加工連携型農場運用システム
1か月前
大阪瓦斯株式会社
住宅設備機器
1か月前
サクサ株式会社
中継装置
1か月前
個人
音声・通知・再配達UX制御構造
4日前
個人
SaaS型勤務調整支援システム
1か月前
個人
音声対話型帳票生成支援システム
1か月前
個人
帳票自動生成型SaaSシステム
4日前
個人
食事受注会計処理システム
1か月前
個人
社会還元・施設向け供給支援構造
1か月前
個人
人格進化型対話応答制御システム
1か月前
大同特殊鋼株式会社
疵判定方法
16日前
株式会社やよい
美容支援システム
1か月前
続きを見る
他の特許を見る