TOP
|
特許
|
意匠
|
商標
特許ウォッチ
Twitter
他の特許を見る
10個以上の画像は省略されています。
公開番号
2025140069
公報種別
公開特許公報(A)
公開日
2025-09-29
出願番号
2024039235
出願日
2024-03-13
発明の名称
軌条車両用電気品箱、軌条車両及び軌条車両の点検方法
出願人
株式会社日立製作所
代理人
弁理士法人第一国際特許事務所
主分類
B61C
17/12 20060101AFI20250919BHJP(鉄道)
要約
【課題】軌条車両駆動用電力に頼らず内部を照明でき、点検時の作業性を向上させることができる軌条車両用電気品箱、軌条車両及び軌条車両の点検方法を提供する。
【解決手段】鉄道車両用電気品箱は、軌条車両に取付けられる軌条車両用電気品箱であって、電気品を収納する筐体と、前記筐体に取付けられ光源を含む照明ユニットと、前記照明ユニットの光源の給電用である持ち運び可能な電源を着脱可能に装着する装着部と、を有し、前記電源を前記装着部に装着することにより、前記電源から前記照明ユニットへ電気を供給する。
【選択図】図3
特許請求の範囲
【請求項1】
軌条車両に取付けられる軌条車両用電気品箱において、
電気品を収納する筐体と、
前記筐体に取付けられ光源を含む照明ユニットと、
前記照明ユニットの光源の給電用である持ち運び可能な電源を着脱可能に装着する装着部と、を有し、
前記電源を前記装着部に装着することにより、前記電源から前記照明ユニットへ電気を供給することを特徴とする軌条車両用電気品箱。
続きを表示(約 1,500 文字)
【請求項2】
請求項1に記載の軌条車両用電気品箱において、
前記筐体は、前記筐体の内部と外部とを連通させる開口部を有し、
前記軌条車両用電気品箱は、前記開口部を閉鎖する閉鎖位置に取り付け可能であるカバーを有し、
前記カバーは、ストッパーを有し、
前記電源を前記装着部から取り外して前記カバーを前記閉鎖位置に取り付けたとき、前記ストッパーが前記装着部に干渉せず、
前記電源を前記装着部に装着した状態では、前記ストッパーが前記電源と干渉することにより、前記カバーを前記閉鎖位置に取り付け不能となることを特徴とする軌条車両用電気品箱。
【請求項3】
請求項2に記載の軌条車両用電気品箱において、
前記カバーまたは前記筐体は、専用の鍵を係合させることにより、前記閉鎖位置に取り付けられた前記カバーを前記筐体に係止する係止位置と、前記カバーを開放可能とする開放位置との間で移動可能となる係止部材を備えた施錠機構を有し、
前記電源は、前記鍵のストラップを取り付ける取付部を有することを特徴とする軌条車両用電気品箱。
【請求項4】
請求項1に記載の軌条車両用電気品箱において、
前記電源は、電力を出力可能な出力端子を有し、
前記装着部は、前記照明ユニットに接続された入力端子を有し、
前記装着部に前記電源を装着することにより、前記出力端子と前記入力端子とが導通することを特徴とする軌条車両用電気品箱。
【請求項5】
請求項4に記載の軌条車両用電気品箱において、
前記装着部は、前記筐体に取り付けられる装着部ベースと、前記装着部ベースに取り付けられる装着部カバーとを有し、
前記装着部カバーは、前記装着部に前記電源が装着される際に前記電源を案内し、前記装着部に前記電源が装着された後に、前記出力端子と前記入力端子との導通状態を維持するように前記電源を保持することを特徴とする軌条車両用電気品箱。
【請求項6】
請求項1に記載の軌条車両用電気品箱において、
前記電源は体積6000cm
3
以下であることを特徴とする軌条車両用電気品箱。
【請求項7】
請求項6に記載の軌条車両用電気品箱において、
前記電源は、光を照射可能なライトを有すること特徴とする軌条車両用電気品箱。
【請求項8】
請求項1~7のいずれか一項に記載の軌条車両用電気品箱を有することを特徴とする軌条車両。
【請求項9】
電気品を収納する筐体と、前記筐体に取付けられ光源を含む照明ユニットと、電源を着脱可能に装着する装着部と、を有する軌条車両用電気品箱を取り付けた軌条車両の点検方法であって、
携帯した前記電源を前記装着部に装着することにより前記電源から供給された電力を用いて前記照明ユニットの光源を点灯させた後、前記軌条車両用電気品箱の内部の点検を行う、ことを特徴とする軌条車両の点検方法。
【請求項10】
請求項9に記載の軌条車両の点検方法において、
前記筐体は、前記筐体の内部と外部とを連通させる開口部を有し、前記軌条車両用電気品箱は、前記開口部を閉鎖する閉鎖位置に取り付け可能であるカバーを有しており、
前記カバーを前記閉鎖位置から移動させた後、開放した前記開口部を介して前記電源を前記装着部に装着して前記点検を行い、
前記点検後に、前記電源を前記装着部から取り外し、前記カバーを前記閉鎖位置へと移動させる、ことを特徴とする軌条車両の点検方法。
(【請求項11】以降は省略されています)
発明の詳細な説明
【技術分野】
【0001】
本発明は、軌条車両用電気品箱、軌条車両及び軌条車両の点検方法に関する。
続きを表示(約 1,800 文字)
【背景技術】
【0002】
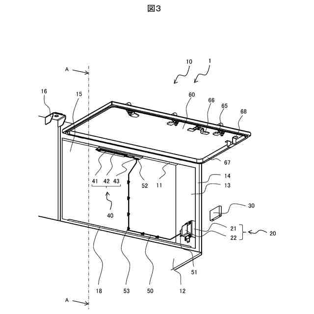
一般に、軌条車両の一タイプである鉄道車両の床下や床上、屋根上には、主電動機に供給される電力を制御する車両用駆動装置、空調などの車上電気設備へ供給される電力を制御する補助電源装置、保守用の端末を収納した保安装置、停電時や非電化区間を走行するための電力を貯蔵する蓄電池装置、などの鉄道車両用電気品や配線を収納した鉄道車両用電気品箱が設置される。
【0003】
特許文献1には、鉄道車両用電気品箱の一例として、複数台のバッテリーを収容した鉄道車両用のバッテリー格納装置が開示されている。
【先行技術文献】
【特許文献】
【0004】
特許第5374409号公報
【発明の概要】
【発明が解決しようとする課題】
【0005】
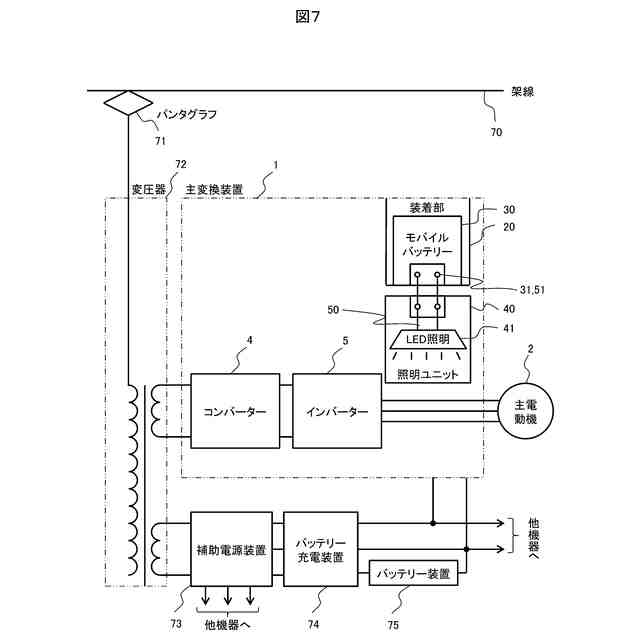
特許文献1のバッテリー格納装置によれば、バッテリー格納ケースよりバッテリーを引き出すことができ、それにより比較的照度が高い環境下でバッテリーの点検を行える。一方、車両用駆動装置などは、鉄道車両用電気品箱から引き出すことが困難であるから、鉄道車両用電気品箱に収容された装置の点検時には、鉄道車両用電気品箱内の照明が必要となる。しかしながら、架線から供給される電力または鉄道車両に設置されたバッテリー装置からの電力(鉄道車両駆動用電力という)は比較的高電圧であり、また鉄道車両用電気品の点検時には一般的に架線からの給電を遮断させることから、鉄道車両駆動用電力を使用せず鉄道車両用電気品箱内の照明を行うことが望まれる。そこで作業者は、懐中電灯やヘッドライト等で暗い箱内を照らしながら点検作業を行うことが多い。
【0006】
この様な鉄道車両電気品箱の点検時には、作業者は、手持ちの懐中電灯で箱内の点検箇所を照らしながら作業を行うため、片手のみを用いた作業を余儀なくされ作業性が悪い。これに対し、両手をあけて作業をするために、マグネットの付いたライトを鉄製の箱内部壁面に固定することも一案であるが、アルミやステンレス製の箱ではマグネットを使用できないという問題がある。また、小型ライトを作業員のヘルメットなどに装着すれば、両手をあけて作業することはできるが、作業員の頭部が向いた方向のみに照明光が投射されるため、それ以外の領域は暗いままであり、周りを気にしながらの作業となり作業性が悪い。
【0007】
本発明の目的は、軌条車両駆動用電力に頼らず内部を照明でき、点検時の作業性を向上させることができる軌条車両用電気品箱、軌条車両及び軌条車両の点検方法を提供する。
【課題を解決するための手段】
【0008】
上記課題を解決するために、代表的な本発明の鉄道車両用電気品箱の一つは、軌条車両に取付けられる軌条車両用電気品箱において、
電気品を収納する筐体と、
前記筐体に取付けられ光源を含む照明ユニットと、
前記照明ユニットの光源の給電用である持ち運び可能な電源を着脱可能に装着する装着部と、を有し、
前記電源を前記装着部に装着することにより、前記電源から前記照明ユニットへ電気を供給することにより達成される。
【0009】
上記課題を解決するために、代表的な本発明の鉄道車両用電気品箱の点検方法の一つは、
電気品を収納する筐体と、前記筐体に取付けられ光源を含む照明ユニットと、電源を着脱可能に装着する装着部と、を有する軌条車両用電気品箱を取り付けた軌条車両の点検方法であって、
携帯した前記電源を前記装着部に装着することにより前記電源から供給された電力を用いて前記照明ユニットの光源を点灯させた後、前記軌条車両用電気品箱の内部の点検を行う、ことにより達成される。
【発明の効果】
【0010】
本発明によれば、軌条車両駆動用電力に頼らず内部を照明でき、点検時の作業性を向上させることができる軌条車両用電気品箱、軌条車両及び軌条車両の点検方法を提供することができる。
上記した以外の課題、構成及び効果は、以下の実施形態の説明により明らかにされる。
【図面の簡単な説明】
(【0011】以降は省略されています)
この特許をJ-PlatPat(特許庁公式サイト)で参照する
関連特許
株式会社日立製作所
鉄道車両
13日前
株式会社日立製作所
半導体装置
21日前
株式会社日立製作所
ガス濃度測定装置
13日前
株式会社日立製作所
形状制御システム
7日前
株式会社日立製作所
欠陥知識循環システム
27日前
株式会社日立製作所
計画装置および計画方法
19日前
株式会社日立製作所
ソフトウェア生成システム
1日前
株式会社日立製作所
直動接点および巻線切替装置
1か月前
株式会社日立製作所
訓練システムおよび訓練方法
9日前
株式会社日立製作所
管理システムおよび管理方法
9日前
株式会社日立製作所
情報処理装置、情報処理方法
今日
株式会社日立製作所
情報処理装置及び情報処理方法
9日前
株式会社日立製作所
費用対効果算出方法および装置
7日前
株式会社日立製作所
状態検知装置及び状態検知方法
21日前
株式会社日立製作所
情報処理装置及び情報処理方法
5日前
株式会社日立製作所
回転電機および電動機システム
5日前
株式会社日立製作所
人物特性推定システム及び方法
28日前
株式会社日立製作所
情報処理システム、及び予測方法
6日前
株式会社日立製作所
電子機器および電子機器制御方法
21日前
株式会社日立製作所
電力変換器およびインバータ装置
9日前
株式会社日立製作所
情報処理システム、情報処理方法
1か月前
株式会社日立製作所
再エネ調達手段選定支援システム
1か月前
株式会社日立製作所
昇降機システム及び昇降機制御方法
9日前
株式会社日立製作所
音声分析システム及び音声分析方法
13日前
株式会社日立製作所
Webページ更新管理装置及び方法
13日前
株式会社日立製作所
ログ抽出方法及びログ抽出システム
29日前
株式会社日立製作所
物流計画システム及び物流計画方法
7日前
株式会社日立製作所
障害対応システム及び障害対応方法
27日前
株式会社日立製作所
計算機システム及びデータ検索方法
9日前
株式会社日立製作所
異常検知システム及び異常検知方法
19日前
株式会社日立製作所
建物管理システム及び建物管理方法
19日前
株式会社日立製作所
データ出力装置およびデータ出力方法
9日前
株式会社日立製作所
情報処理システム、及び情報処理方法
今日
株式会社日立製作所
電力監視システムおよび電力監視方法
19日前
株式会社日立製作所
通貨管理システム、及び通貨管理方法
13日前
株式会社日立製作所
図面整合システムおよび図面整合方法
1か月前
続きを見る
他の特許を見る