TOP
|
特許
|
意匠
|
商標
特許ウォッチ
Twitter
他の特許を見る
10個以上の画像は省略されています。
公開番号
2025139618
公報種別
公開特許公報(A)
公開日
2025-09-29
出願番号
2024038554
出願日
2024-03-13
発明の名称
光デバイス、受信装置、送受信装置、通信システム、端末装置及び光学システム
出願人
TDK株式会社
代理人
個人
,
個人
,
個人
主分類
H10N
50/10 20230101AFI20250919BHJP()
要約
【課題】パッケージ化された光デバイス、受信装置、送受信装置、通信システム、端末装置及び光学システムを提供する。
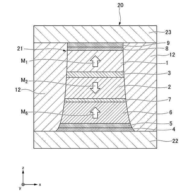
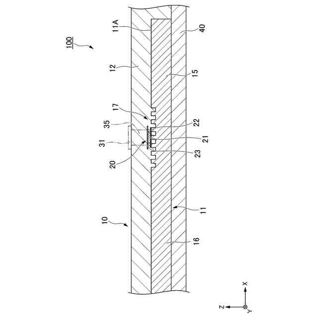
【解決手段】この光デバイスは、導波路と、磁性素子と、を備える。前記導波路は、光が伝搬するコアと、前記コアを覆うクラッドとを有する。前記コアは、第1面に回折格子を有する。前記磁性素子は、前記クラッド内の前記第1面より上部に位置する。前記磁性素子は、第1強磁性層と、第2強磁性層と、前記第1強磁性層と前記第2強磁性層との間に位置するスペーサ層と、を備える。
【選択図】図1
特許請求の範囲
【請求項1】
導波路と、磁性素子と、を備え、
前記導波路は、光が伝搬するコアと、前記コアを覆うクラッドとを有し、
前記コアは、第1面に回折格子を有し、
前記磁性素子は、前記クラッド内の前記第1面より上部に位置し、
前記磁性素子は、第1強磁性層と、第2強磁性層と、前記第1強磁性層と前記第2強磁性層との間に位置するスペーサ層と、を備える、光デバイス。
続きを表示(約 540 文字)
【請求項2】
前記磁性素子は、前記コアを伝搬する光の進行方向において、前記回折格子と同じ位置又は前方にある、請求項1に記載の光デバイス。
【請求項3】
前記磁性素子は、積層方向から見て、前記回折格子と重なる位置にある、請求項1に記載の光デバイス。
【請求項4】
前記磁性素子は、積層方向から見て、前記回折格子と重ならない位置にある、請求項1に記載の光デバイス。
【請求項5】
前記磁性素子は、前記回折格子と接している、請求項1に記載の光デバイス。
【請求項6】
前記コアは、素子設置部と、前記素子設置部に至る光伝搬部と、を有し、
前記素子設置部における前記コアの幅は、前記光伝搬部における前記コアの幅より広い、請求項1に記載の光デバイス。
【請求項7】
前記磁性素子が複数ある、請求項1に記載の光デバイス。
【請求項8】
請求項1に記載の光デバイスを有する、受信装置。
【請求項9】
請求項8に記載の受信装置を有する、送受信装置。
【請求項10】
請求項8に記載の受信装置を有する、通信システム。
(【請求項11】以降は省略されています)
発明の詳細な説明
【技術分野】
【0001】
本発明は、光デバイス、受信装置、送受信装置、通信システム、端末装置及び光学システムに関する。
続きを表示(約 920 文字)
【背景技術】
【0002】
光電変換素子は、様々な用途で用いられている。
【0003】
例えば、特許文献1には、フォトダイオードを用いて、光信号を受信する受信装置が記載されている。フォトダイオードは、例えば、半導体のpn接合を用いたpn接合ダイオード等であり、光を電気信号に変換する。
【0004】
また例えば、特許文献2には、磁性素子を用いた新規な光デバイスが開示されている。磁性素子は、光が照射されると磁気状態が変化し、抵抗値が変化する。
【先行技術文献】
【特許文献】
【0005】
特開2001-292107号公報
特開2023-47553号公報
【発明の概要】
【発明が解決しようとする課題】
【0006】
例えば、特許文献2に記載のように、導波路からのレーザー光を空間に出射し、磁性素子で検出しようとすると、導波路と空間との屈折率差による反射で、光の利用効率が低下する。また導波路と磁性素子とを別部品として作製すると、光軸の調整等が必要になる。
【0007】
本発明は上記問題に鑑みてなされたものであり、パッケージ化された光デバイス、受信装置、送受信装置、通信システム、端末装置及び光学システムを提供することを目的とする。
【課題を解決するための手段】
【0008】
上記課題を解決するため、以下の手段を提供する。
【0009】
本実施形態に係る光デバイスは、導波路と、磁性素子と、を備える。前記導波路は、光が伝搬するコアと、前記コアを覆うクラッドとを有する。前記コアは、第1面に回折格子を有する。前記磁性素子は、前記クラッド内の前記第1面より上部に位置する。前記磁性素子は、第1強磁性層と、第2強磁性層と、前記第1強磁性層と前記第2強磁性層との間に位置するスペーサ層と、を備える。
【発明の効果】
【0010】
上記態様にかかる光デバイスは、パッケージ化されている。
【図面の簡単な説明】
(【0011】以降は省略されています)
この特許をJ-PlatPat(特許庁公式サイト)で参照する
関連特許
TDK株式会社
電子部品
24日前
TDK株式会社
電子部品
1か月前
TDK株式会社
電子部品
24日前
TDK株式会社
電子部品
1か月前
TDK株式会社
電子部品
3日前
TDK株式会社
電子部品
1か月前
TDK株式会社
電子部品
3日前
TDK株式会社
フィルタ
3日前
TDK株式会社
磁気センサ
1か月前
TDK株式会社
コイル装置
7日前
TDK株式会社
コイル部品
7日前
TDK株式会社
温度センサ
14日前
TDK株式会社
ガスセンサ
1か月前
TDK株式会社
磁気センサ
1か月前
TDK株式会社
コイル装置
1か月前
TDK株式会社
コイル装置
1か月前
TDK株式会社
磁気センサ
1か月前
TDK株式会社
磁気センサ
23日前
TDK株式会社
光検知装置
今日
TDK株式会社
コイル部品
24日前
TDK株式会社
磁気センサ
1か月前
TDK株式会社
磁気センサ
1か月前
TDK株式会社
コイル部品
3日前
TDK株式会社
コイル部品
1か月前
TDK株式会社
コイル部品
3日前
TDK株式会社
コイル部品
3日前
TDK株式会社
コイル部品
1か月前
TDK株式会社
センサ装置
今日
TDK株式会社
ガスセンサ
今日
TDK株式会社
ガスセンサ
3日前
TDK株式会社
コイル部品
1日前
TDK株式会社
フィルタ装置
3日前
TDK株式会社
アンテナ装置
15日前
TDK株式会社
電力変換装置
3日前
TDK株式会社
積層電子部品
1か月前
TDK株式会社
磁気計測装置
14日前
続きを見る
他の特許を見る