TOP
|
特許
|
意匠
|
商標
特許ウォッチ
Twitter
他の特許を見る
公開番号
2025138707
公報種別
公開特許公報(A)
公開日
2025-09-25
出願番号
2025102236,2025525129
出願日
2025-06-18,2025-01-17
発明の名称
蓄電デバイス及びその製造方法、並びに、蓄電デバイス用外装材及びその製造方法
出願人
大日本印刷株式会社
代理人
個人
,
個人
主分類
H01M
50/105 20210101AFI20250917BHJP(基本的電気素子)
要約
【課題】蓄電デバイスが高温及び低温の温度変化に繰り返し晒された場合に、蓄電デバイス用外装材の蓋体との封止部にひび割れが発生することが抑制された、蓄電デバイス用外装材、その製造方法及び蓄電デバイスを提供する。
【解決手段】少なくとも、バリア層及び熱融着性樹脂層を備える積層体から構成された蓄電デバイス用外装材であって、前記バリア層は、エリア平均結晶粒径R2(μm)に対する、エリア平均結晶粒径R1(μm)の比(R1/R2)が、55%以上であり、冷間成形に供されず、前記蓄電デバイス用外装材を電極体に巻き付けることによって前記電極体を封止するように用いるための、蓄電デバイス用外装材である。
【選択図】図1
特許請求の範囲
【請求項1】
少なくとも、バリア層及び熱融着性樹脂層を備える積層体から構成された蓄電デバイス用外装材であって、
前記バリア層は、エリア平均結晶粒径R2(μm)に対する、エリア平均結晶粒径R1(μm)の比(R1/R2)が、55%以上であり、
前記エリア平均結晶粒径R1(μm)は、前記蓄電デバイス用外装材の前記熱融着性樹脂層と、ポリプロピレン板とを、前記熱融着性樹脂層の厚みが20%以上80%以下になる条件で熱融着させた位置において、前記バリア層の圧延方向とは垂直方向であって、前記バリア層の表面から垂直方向に前記バリア層を切断して得られた断面について、EBSD法による結晶解析を行うことで取得される、エリア平均結晶粒径(μm)であり、
前記エリア平均結晶粒径R2(μm)は、前記蓄電デバイス用外装材の前記熱融着性樹脂層と、前記ポリプロピレン板とを熱融着させていない位置において、前記バリア層の圧延方向とは垂直方向であって、前記バリア層の表面から垂直方向に前記バリア層を切断して得られた断面について、EBSD法による結晶解析を行うことで取得される、エリア平均結晶粒径(μm)であり、
冷間成形に供されず、前記蓄電デバイス用外装材を電極体に巻き付けることによって前記電極体を封止するように用いるための、蓄電デバイス用外装材。
続きを表示(約 1,000 文字)
【請求項2】
前記バリア層は、ステンレス鋼、鋼板、又はアルミニウム合金により形成されている、請求項1に記載の蓄電デバイス用外装材。
【請求項3】
前記バリア層と前記熱融着性樹脂層との間に接着層をさらに備える、請求項1又は2に記載の蓄電デバイス用外装材。
【請求項4】
前記バリア層の前記熱融着性樹脂層側とは反対側に基材層をさらに備える、請求項1又は2に記載の蓄電デバイス用外装材。
【請求項5】
前記基材層と前記バリア層との間に接着剤層をさらに備える、請求項4に記載の蓄電デバイス用外装材。
【請求項6】
前記蓄電デバイス用外装材は、ヤング率が6000MPa以上である、請求項1又は2に記載の蓄電デバイス用外装材。
【請求項7】
蓄電デバイス用外装材の製造方法であって、
少なくとも、バリア層と、熱融着性樹脂層とが積層された積層体を得る工程を備えており、
前記バリア層は、エリア平均結晶粒径R2(μm)に対する、エリア平均結晶粒径R1(μm)の比(R1/R2)が、55%以上であり、
前記エリア平均結晶粒径R1(μm)は、前記蓄電デバイス用外装材の前記熱融着性樹脂層と、ポリプロピレン板とを、前記熱融着性樹脂層の厚みが20%以上80%以下になる条件で熱融着させた位置において、前記バリア層の圧延方向とは垂直方向であって、前記バリア層の表面から垂直方向に前記バリア層を切断して得られた断面について、EBSD法による結晶解析を行うことで取得される、エリア平均結晶粒径(μm)であり、
前記エリア平均結晶粒径R2(μm)は、前記蓄電デバイス用外装材の前記熱融着性樹脂層と、前記ポリプロピレン板とを熱融着させていない位置において、前記バリア層の圧延方向とは垂直方向であって、前記バリア層の表面から垂直方向に前記バリア層を切断して得られた断面について、EBSD法による結晶解析を行うことで取得される、エリア平均結晶粒径(μm)であり、
冷間成形に供されず、前記蓄電デバイス用外装材を電極体に巻き付けることによって前記電極体を封止するように用いるための、蓄電デバイス用外装材の製造方法。
【請求項8】
少なくとも正極、負極、及び電解質を備えた蓄電デバイス素子が、請求項1又は2に記載の蓄電デバイス用外装材により形成された包装体中に収容されている、蓄電デバイス。
発明の詳細な説明
【技術分野】
【0001】
本開示は、蓄電デバイス及びその製造方法、並びに、蓄電デバイス用外装材及びその製造方法に関する。
続きを表示(約 1,400 文字)
【背景技術】
【0002】
従来、様々なタイプの蓄電デバイスが開発されているが、あらゆる蓄電デバイスにおいて、電極や電解質などの蓄電デバイス素子を封止するために外装材が不可欠な部材になっている。従来、外装フィルムとして金属製の外装材が多用されていた。
【0003】
一方、近年、電気自動車、ハイブリッド電気自動車、パソコン、カメラ、携帯電話などの高性能化に伴い、蓄電デバイスには、多様な形状が要求されると共に、薄型化や軽量化が求められている。しかしながら、従来多用されていた金属製の外装フィルムでは、形状の多様化に追従することが困難であり、しかも軽量化にも限界があるという欠点がある。
【0004】
そこで、近年、多様な形状に加工が容易で、薄型化や軽量化を実現し得る外装フィルムとして、基材層/バリア層/熱融着性樹脂層が順次積層されたフィルム状の積層体が提案されている(例えば、特許文献1を参照)。
【0005】
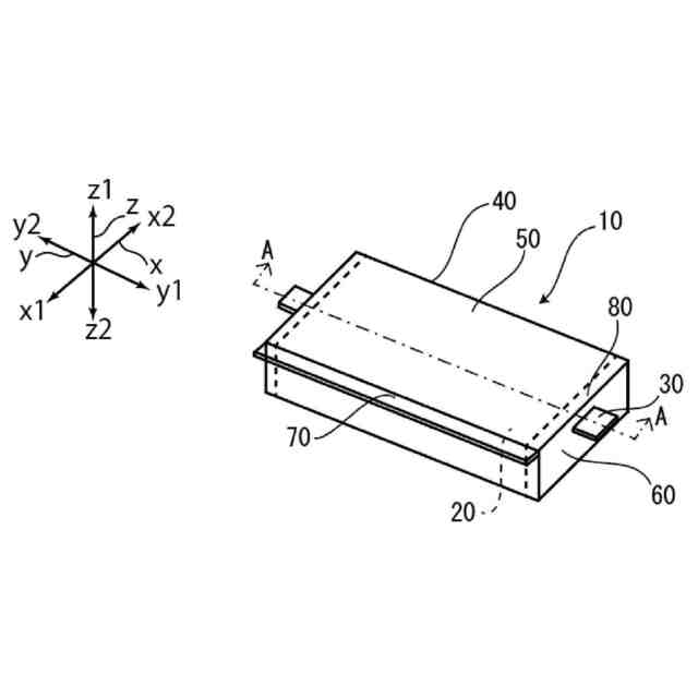
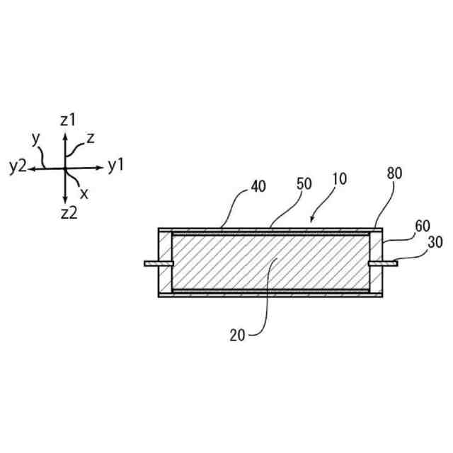
また、特許文献2は、蓄電デバイスの一例を開示している。この蓄電デバイスは、電極体と、電極体を封止する外装体と、を備える。外装体は、電極体を包む外装フィルムと、外装フィルムと接合される蓋体と、を備える。この蓄電デバイスは、例えば、筒状に構成された外装フィルムの内部に電極体が収容され、筒状の外装フィルムの開口部が蓋体によって閉じられることによって製造される。蓋体の側面と外装フィルムとは、例えば、熱融着されることによって接合される。
【先行技術文献】
【特許文献】
【0006】
特開2008-287971号公報
特開2022-123686号公報
【発明の概要】
【発明が解決しようとする課題】
【0007】
特許文献2に開示されたような、電極体を包む外装フィルム(蓄電デバイス用外装材)と、外装フィルムと接合される蓋体と、を備える外装体は、例えば大型の蓄電デバイスの外装体として有用である。
【0008】
このような外装体は、外装フィルム(蓄電デバイス用外装材)と蓋体との封止部(接合部)を有する。本開示の発明者らが検討したところ、蓄電デバイスが高温及び低温の温度変化に繰り返し晒された場合に、外装フィルム(蓄電デバイス用外装材)の当該封止部について、ひび割れが発生するという新規な問題点が見出された。
【0009】
このような状況下、本開示は、電極体を包む外装フィルム(蓄電デバイス用外装材)と蓋体とを備える外装体を利用した蓄電デバイスにおいて、蓄電デバイスが高温及び低温の温度変化に繰り返し晒された場合に、外装フィルムの蓋体との封止部にひび割れが発生することが抑制された、蓄電デバイスを提供することを主な目的とする。
【0010】
また、本開示は、電極体を包む蓄電デバイス用外装材と蓋体とを備える外装体を利用した蓄電デバイスにおいて、蓄電デバイスが高温及び低温の温度変化に繰り返し晒された場合に、蓄電デバイス用外装材の蓋体との封止部にひび割れが発生することが抑制された、蓄電デバイス用外装材を提供することも目的とする。
【課題を解決するための手段】
(【0011】以降は省略されています)
この特許をJ-PlatPat(特許庁公式サイト)で参照する
関連特許
大日本印刷株式会社
移動体
17日前
大日本印刷株式会社
移動体
17日前
大日本印刷株式会社
写真撮影装置
18日前
大日本印刷株式会社
発電モジュール
7日前
大日本印刷株式会社
パネルの固定方法
4日前
大日本印刷株式会社
積層体及び包装容器
5日前
大日本印刷株式会社
積層体および包装容器
7日前
大日本印刷株式会社
積層体および包装容器
7日前
大日本印刷株式会社
積層体および包装容器
7日前
大日本印刷株式会社
積層体および包装容器
7日前
大日本印刷株式会社
包装装置および包装方法
19日前
大日本印刷株式会社
シール型熱転写受像シート
25日前
大日本印刷株式会社
シール型熱転写受像シート
25日前
大日本印刷株式会社
情報処理装置及びプログラム
7日前
大日本印刷株式会社
ポリエステルフィルム及び積層体
17日前
大日本印刷株式会社
リードフレーム及びその製造方法
19日前
大日本印刷株式会社
リードフレーム及びその製造方法
19日前
大日本印刷株式会社
クランプ装置及びウェブ搬送装置
7日前
大日本印刷株式会社
ウェブ搬送装置及びウェブ搬送方法
3日前
大日本印刷株式会社
作業装置、作業システム、作業方法
3日前
大日本印刷株式会社
バリア性フィルム、積層体および包装容器
7日前
大日本印刷株式会社
サーバ装置、動画配信方法及びプログラム
7日前
大日本印刷株式会社
バリア性フィルム、積層体および包装容器
7日前
大日本印刷株式会社
バリア性フィルム、積層体および包装容器
7日前
大日本印刷株式会社
転写シート、成形品の製造方法および成形品
3日前
大日本印刷株式会社
サーバ装置、注目度算出方法及びプログラム
17日前
大日本印刷株式会社
サーバ装置、仮想空間制御方法及びプログラム
17日前
大日本印刷株式会社
ボビン、熱転写シートリボン及び熱転写印画装置
7日前
大日本印刷株式会社
光学素子、前記光学素子を含む装置、及び光学素子の製造方法
4日前
大日本印刷株式会社
ゴルフボールスタンド、ゴルフボールパッケージおよびブランクシート
17日前
大日本印刷株式会社
コイル部品、コイル中間材、送電装置、受電装置、及び、電力伝送システム
19日前
大日本印刷株式会社
包装材料並びに袋及び包装体
3日前
大日本印刷株式会社
投射型表示装置及び作業装置
11日前
大日本印刷株式会社
ICカード、管理サーバ、電子情報記憶媒体、データ処理方法、及びプログラム
19日前
大日本印刷株式会社
ベーパーチャンバおよび電子機器
3日前
大日本印刷株式会社
蓄電デバイス、蓋体、蓄電デバイスの製造方法
11日前
続きを見る
他の特許を見る