TOP
|
特許
|
意匠
|
商標
特許ウォッチ
Twitter
他の特許を見る
公開番号
2025138738
公報種別
公開特許公報(A)
公開日
2025-09-25
出願番号
2025106606,2021144171
出願日
2025-06-24,2021-09-03
発明の名称
投射型表示装置及び作業装置
出願人
大日本印刷株式会社
代理人
個人
,
個人
,
個人
主分類
G03B
21/14 20060101AFI20250917BHJP(写真;映画;光波以外の波を使用する類似技術;電子写真;ホログラフイ)
要約
【課題】被照射面のある程度広い領域を、鮮明に照明可能な投射型表示装置及び投射型表示装置付き作業装置を提供する。
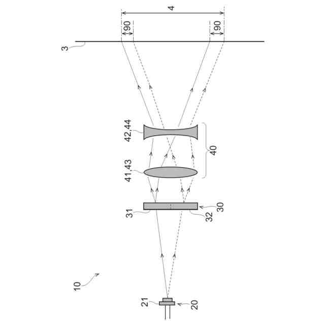
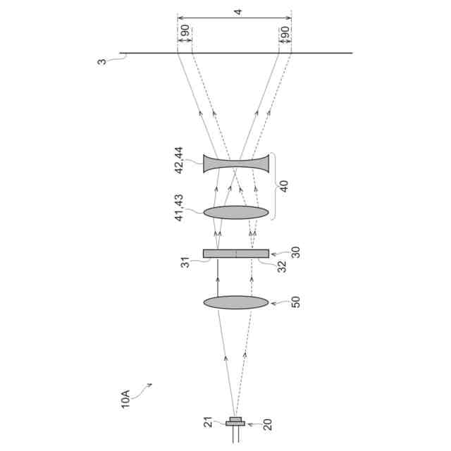
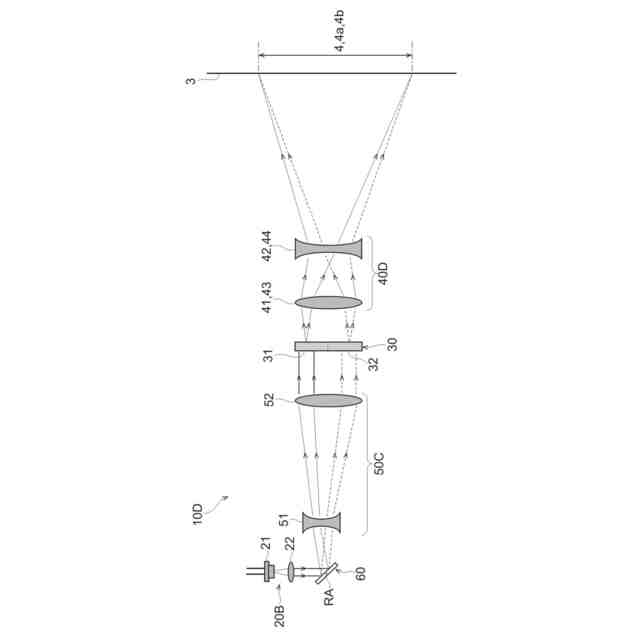
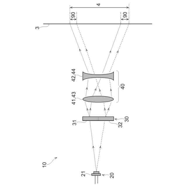
【解決手段】投射型表示装置10は、レーザー光源20と、レーザー光源20から射出された光を回折する回折光学素子30と、回折光学素子30で回折された光の光路上に設けられた第1光学系40と、を備えている。第1光学系40は、回折光学素子30で回折された光が入射する正のパワーを持つ第1レンズ群41と、第1レンズ群41から射出された光が入射する負のパワーを持つ第2レンズ群42と、を含んでいる。第1光学系40の角倍率が1より大きい。
【選択図】図3
特許請求の範囲
【請求項1】
レーザー光源と、
前記レーザー光源から射出された光を回折する回折光学素子と、
前記回折光学素子で回折された光の光路上に設けられた第1光学系と、
を備え、
前記第1光学系は、
前記回折光学素子で回折された光が入射する正のパワーを持つ第1レンズ群と、
前記第1レンズ群から射出された光が入射する負のパワーを持つ第2レンズ群と、
を含み、
前記回折光学素子での前記光の回折角度が、0±15°以下であり、
前記第1光学系の角倍率が1より大きい、投射型表示装置。
続きを表示(約 780 文字)
【請求項2】
前記第1光学系は、結像光学系を形成する、請求項1に記載の投射型表示装置。
【請求項3】
前記レーザー光源から射出された光の進行方向を変化させることで、前記レーザー光源からの光を前記回折光学素子上で走査させる走査装置を更に備えた、請求項1又は2に記載の投射型表示装置。
【請求項4】
前記レーザー光源は、レーザー光を発振する発光部と、前記発光部からの前記レーザー光をコリメートするコリメートレンズと、を含む、請求項1乃至3のいずれか一項に記載の投射型表示装置。
【請求項5】
前記回折光学素子は、複数の要素回折光学素子を含む、請求項1乃至4のいずれか一項に記載の投射型表示装置。
【請求項6】
前記複数の要素回折光学素子は、前記レーザー光源からの光の回折角度が互いに異なる少なくとも2つの要素回折光学素子を含む、請求項5に記載の投射型表示装置。
【請求項7】
前記複数の要素回折光学素子は、当該要素回折光学素子で回折される光の放射強度分布が互いに異なる少なくとも2つの要素回折光学素子を含む、請求項5に記載の投射型表示装置。
【請求項8】
前記レーザー光源からの光を平行光束に整形する第2光学系を更に備える、請求項1乃至7のいずれか一項に記載の投射型表示装置。
【請求項9】
前記レーザー光源からの光を拡幅して平行光束に整形する第2光学系を更に備える、請求項1乃至7のいずれか一項に記載の投射型表示装置。
【請求項10】
その一部または全体を移動させながら作業を行う作業装置と、
前記作業装置に取り付けられる請求項1乃至9のいずれか一項に記載の投射型表示装置と、
を備えた投射型表示装置付き作業装置。
発明の詳細な説明
【技術分野】
【0001】
本発明は、投射型表示装置及び投射型表示装置を備えた作業装置に関する。
続きを表示(約 1,200 文字)
【背景技術】
【0002】
例えば特許文献1及び特許文献2に開示されているような作業装置が、種々の分野において使用されている。作業装置は、その全体または一部を移動させながら何らかの作業を行う。作業装置として、台車を牽引して物品の運搬を行う自動搬送機や、油圧ショベル等の作業機械が例示される。
【0003】
昨今では、作業装置の利用に関して省人化や自動化が望まれている。このため、作業装置の周囲に注意喚起を行うための表示装置を、作業装置に搭載することが望まれている。表示装置は、作業装置の作業中に、周囲に対して作業装置の接近や可動領域を知らせる。
【先行技術文献】
【特許文献】
【0004】
特開平5-98674号公報
特開2015-081017号公報
【発明の概要】
【発明が解決しようとする課題】
【0005】
このような表示装置として、作業装置が配置された路面や床面に光を照射することで表示を行う投射型表示装置が検討されている。投射型表示装置を用いて作業装置の接近や可動領域を知らせる表示を行う場合、作業装置に搭載された投射型表示装置は、作業装置が配置された路面や床面(したがって、投射型表示装置からある程度近い距離にある被照射面)のある程度広い領域を、鮮明に照明する必要がある。
【0006】
本開示の実施形態は、被照射面のある程度広い領域を、鮮明に照明可能な投射型表示装置及び投射型表示装置付き作業装置を提供することを目的とする。
【課題を解決するための手段】
【0007】
本開示の一実施の形態による投射型表示装置は、
レーザー光源と、
前記レーザー光源から射出された光を回折する回折光学素子と、
前記回折光学素子で回折された光の光路上に設けられた第1光学系と、
を備え、
前記第1光学系は、
前記回折光学素子で回折された光が入射する正のパワーを持つ第1レンズ群と、
前記第1レンズ群から射出された光が入射する負のパワーを持つ第2レンズ群と、
を含み、
前記第1光学系の角倍率が1より大きい。
【0008】
本開示の一実施の形態による投射型表示装置において、前記回折光学素子での前記光の回折角度が、0±15°以下であってもよい。
【0009】
本開示の一実施の形態による投射型表示装置において、前記第1光学系は、結像光学系を形成していてもよい。
【0010】
本開示の一実施の形態による投射型表示装置において、前記第1レンズ群及び前記第2レンズ群は、前記第1レンズ群及び前記第2レンズ群の光軸が同一直線上に位置するように、且つ、前記第1レンズ群の後側焦点が前記第2レンズ群の前側焦点に一致するように配置されていてもよい。
(【0011】以降は省略されています)
この特許をJ-PlatPat(特許庁公式サイト)で参照する
関連特許
大日本印刷株式会社
額縁
21日前
大日本印刷株式会社
移動体
12日前
大日本印刷株式会社
移動体
12日前
大日本印刷株式会社
写真撮影装置
13日前
大日本印刷株式会社
発電モジュール
2日前
大日本印刷株式会社
熱転写システム
22日前
大日本印刷株式会社
熱転写システム
22日前
大日本印刷株式会社
積層体及び包装容器
今日
大日本印刷株式会社
積層体および包装容器
2日前
大日本印刷株式会社
積層体および包装容器
2日前
大日本印刷株式会社
積層体および包装容器
2日前
大日本印刷株式会社
積層体および包装容器
2日前
大日本印刷株式会社
包装装置および包装方法
14日前
大日本印刷株式会社
シール型熱転写受像シート
20日前
大日本印刷株式会社
シール型熱転写受像シート
20日前
大日本印刷株式会社
シール型熱転写受像シート
20日前
大日本印刷株式会社
レンズアレイ及び表示装置
22日前
大日本印刷株式会社
情報処理装置及びプログラム
2日前
大日本印刷株式会社
類似文書検索装置及びプログラム
21日前
大日本印刷株式会社
ポリエステルフィルム及び積層体
12日前
大日本印刷株式会社
リードフレーム及びその製造方法
14日前
大日本印刷株式会社
熱転写シートおよび中間転写媒体
20日前
大日本印刷株式会社
クランプ装置及びウェブ搬送装置
2日前
大日本印刷株式会社
リードフレーム及びその製造方法
14日前
大日本印刷株式会社
光学部材、ヘッドマウントディスプレイ
21日前
大日本印刷株式会社
サーバ装置、動画配信方法及びプログラム
2日前
大日本印刷株式会社
バリア性フィルム、積層体および包装容器
2日前
大日本印刷株式会社
バリア性フィルム、積層体および包装容器
2日前
大日本印刷株式会社
バリア性フィルム、積層体および包装容器
2日前
大日本印刷株式会社
サーバ装置、注目度算出方法及びプログラム
12日前
大日本印刷株式会社
サーバ装置、仮想空間制御方法及びプログラム
12日前
大日本印刷株式会社
ボビン、熱転写シートリボン及び熱転写印画装置
2日前
大日本印刷株式会社
賦形シート、賦形シートの製造方法および物品の製造方法
28日前
大日本印刷株式会社
ベーパーチャンバ
27日前
大日本印刷株式会社
ゴルフボールスタンド、ゴルフボールパッケージおよびブランクシート
12日前
大日本印刷株式会社
コイル部品、コイル中間材、送電装置、受電装置、及び、電力伝送システム
14日前
続きを見る
他の特許を見る