TOP
|
特許
|
意匠
|
商標
特許ウォッチ
Twitter
他の特許を見る
公開番号
2025138453
公報種別
公開特許公報(A)
公開日
2025-09-25
出願番号
2024037557
出願日
2024-03-11
発明の名称
工具ホルダー
出願人
エヌティーツール株式会社
代理人
弁理士法人勇智国際特許事務所
主分類
B23B
31/117 20060101AFI20250917BHJP(工作機械;他に分類されない金属加工)
要約
【課題】加圧空間内に充填されている流体の圧力を調整するための圧力調整ネジを容易に回転させることができる技術を開示する。
【解決手段】加圧空間205a、205b内に充填されている流体の圧力を調整する圧力調整手段300は、加圧室113S、ピストン310、アダプター330および圧力調整ネジ340を含んでいる。アダプター330のアダプター外周面332とシリンダ壁面部分113dは、ネジ結合可能に形成されている。圧力調整ネジ340のネジ部340aの外周面とアダプター330のアダプター内周面331は、ネジ結合可能に形成されている。加圧室113Sを規定するピストン310は、圧力調整ネジ340によって、加圧室113S内の流体の圧力が低下する側への移動が規制される。圧力調整ネジ340のネジ部340aの最大外径は、ピストン310の最大外径以下に設定されている。
【選択図】図3
特許請求の範囲
【請求項1】
本体部と、圧力調整手段を備え、
前記本体部は、軸方向に沿って延在する工具挿入空間を形成する工具挿入空間形成面と、加圧空間と、前記加圧空間と前記工具挿入空間形成面との間に設けられ、前記軸方向と交差する径方向に沿って弾性変形可能な把持部と、を含み、
前記圧力調整手段は、前記加圧空間内に充填されている流体の圧力を調整可能であり、
前記圧力調整手段によって前記加圧空間内に充填されている流体の圧力が高められることにより、前記把持部が前記径方向に沿って前記工具挿入空間側に弾性変形するように構成されている工具ホルダーであって、
前記圧力調整手段は、所定方向に沿って延在するシリンダ室を形成するシリンダ壁面と、前記シリンダ室内に配置されている圧力調整ネジおよびピストンと、前記シリンダ室内に形成されている加圧室と、を含み、
前記圧力調整ネジは、前記所定方向に沿って延在するネジ部を有し、前記ネジ部の外周面には、前記シリンダ壁面側に設けられている雌ネジにネジ結合可能な雄ネジが形成されており、
前記ピストンは、前記圧力調整ネジより前記所定方向に沿って第1側に配置され、
前記加圧室は、前記ピストンより前記所定方向に沿って前記第1側に、前記加圧空間と連通するように形成され、
前記ピストンの、前記所定方向に沿って前記第1側と反対側である第2側への移動が、前記圧力調整ネジによって規制されるように構成され、
前記圧力調整ネジの前記ネジ部の最大外径が、前記ピストンの最大外径以下に設定されていることを特徴とする工具ホルダー。
続きを表示(約 1,700 文字)
【請求項2】
請求項1に記載の工具ホルダーであって、
前記圧力調整手段は、前記シリンダ室内の、前記ピストンより前記所定方向に沿って前記第2側の位置に配置されているアダプターを含み、
前記シリンダ壁面には、雌ネジが形成されており、
前記アダプターは、前記所定方向に延在する筒状に形成され、アダプター内周面とアダプター外周面を有しており、前記アダプター内周面には、前記圧力調整ネジのネジ部の外周面に形成されている前記雄ネジとネジ結合可能な雌ネジが形成され、前記アダプター外周面には、前記シリンダ壁面に形成されている前記雌ネジとネジ結合可能な雄ネジが形成されていることを特徴とする工具ホルダー。
【請求項3】
請求項2に記載の工具ホルダーであって、
前記シリンダ壁面は、第1の内径を有する第1のシリンダ室部分を形成する第1のシリンダ壁面部分と、前記第1のシリンダ室より前記所定方向に沿って前記第2側に配置され、前記第1の内径より大きい第2の内径を有する第2のシリンダ室部分を形成する第2のシリンダ壁面部分と、前記第1のシリンダ壁面部分と前記第2のシリンダ壁面部分を接続する第3のシリンダ壁面部分を含んでおり、
前記第2のシリンダ壁面部分に、前記アダプター外周面に形成されている前記雄ネジとネジ結合可能な前記雌ネジが形成されていることを特徴とする工具ホルダー。
【請求項4】
請求項1~3のうちのいずれか一項に記載の工具ホルダーであって、
前記圧力調整手段は、第1の圧力調整手段と第2の圧力調整手段を含んでおり、
前記第1の圧力調整手段は、第1の方向に沿って延在する第1のシリンダ室を形成する第1のシリンダ壁面と、前記第1のシリンダ室内に配置されている第1の圧力調整ネジおよび第1のピストンと、前記第1のシリンダ室内に形成されている第1の加圧室と、を含み、
前記第1の圧力調整ネジは、前記第1の方向に沿って延在する第1のネジ部を有し、前記第1のネジ部の外周面には、前記第1のシリンダ壁面側に設けられている雌ネジにネジ結合可能な雄ネジが形成されており、
前記第1のピストンは、前記第1の圧力調整ネジより前記第1の方向に沿って第1側に配置され、
前記第1の加圧室は、前記第1のピストンより前記第1の方向に沿って前記第1側に、前記加圧空間と連通するように形成され、
前記第1のピストンの、前記第1の方向に沿って前記第1側と反対側である第2側への移動が、前記第1の圧力調整ネジによって規制されるように構成され、
前記第1の圧力調整ネジの前記第1のネジ部の最大外径が、前記第1のピストンの最大外径以下に設定され、
前記第2の圧力調整手段は、第2の方向に沿って延在する第2のシリンダ室を形成する第2のシリンダ壁面と、前記第2のシリンダ室内に配置されている第2の圧力調整ネジおよび第2のピストンと、前記第2のシリンダ室内に形成されている第2の加圧室と、を含み、
前記第2の圧力調整ネジは、前記第2の方向に沿って延在する第2のネジ部を有し、前記第2のネジ部の外周面には、前記第2のシリンダ壁面側に設けられている雌ネジにネジ結合可能な雄ネジが形成されており、
前記第2のピストンは、前記第2の圧力調整ネジより前記第2の方向に沿って第1側に配置され、
前記第2の加圧室は、前記第2のピストンより前記第2の方向に沿って前記第1側に、前記加圧空間と連通するように形成され、
前記第2のピストンの、前記第2の方向に沿って前記第1側と反対側である第2側への移動が、前記第2の圧力調整ネジによって規制されるように構成され、
前記第2の圧力調整ネジの前記第2のネジ部の最大外径が、前記第2のピストンの最大外径以下に設定されていることを特徴とする工具ホルダー。
【請求項5】
請求項4に記載の工具ホルダーであって、
前記第1のシリンダ室と前記第2のシリンダ室は、前記本体部の本体部中心線を挟んで対向する位置に、前記第1の方向と前記第2の方向が平行になるように形成されていることを特徴とする工具ホルダー。
発明の詳細な説明
【技術分野】
【0001】
本発明は、流体の圧力を利用して工具を保持する工具ホルダーに関し、特に、圧力調整ネジを用いて流体の圧力を調整する工具ホルダーに関する。
続きを表示(約 6,300 文字)
【背景技術】
【0002】
工具を保持する工具ホルダーとして、流体(例えば、油)の圧力を利用した工具ホルダー(「ハイドロホルダー」と呼ばれることもある)が用いられている。流体の圧力を利用した工具ホルダーは、例えば、特許文献1(特開2015-39753号公報)に開示されている。
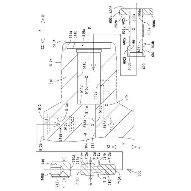
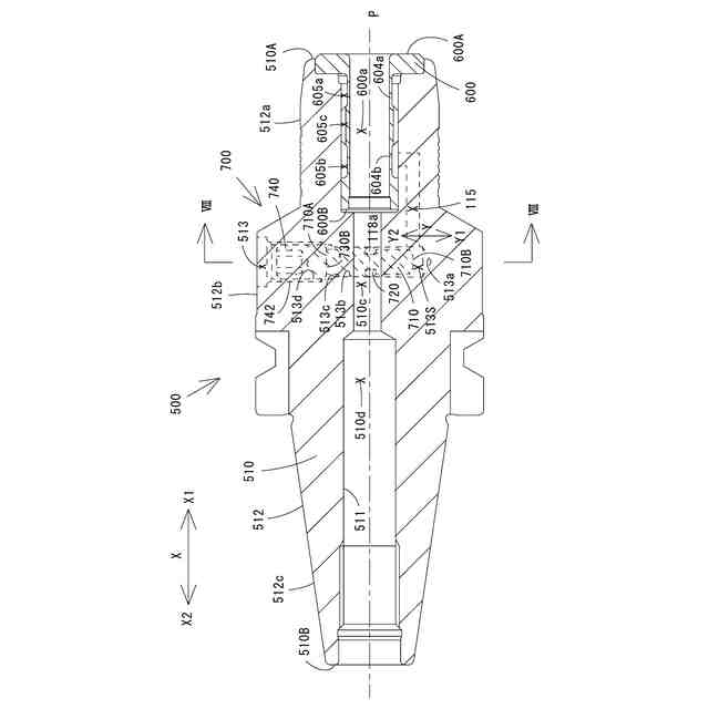
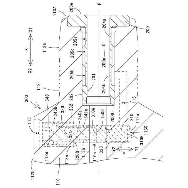
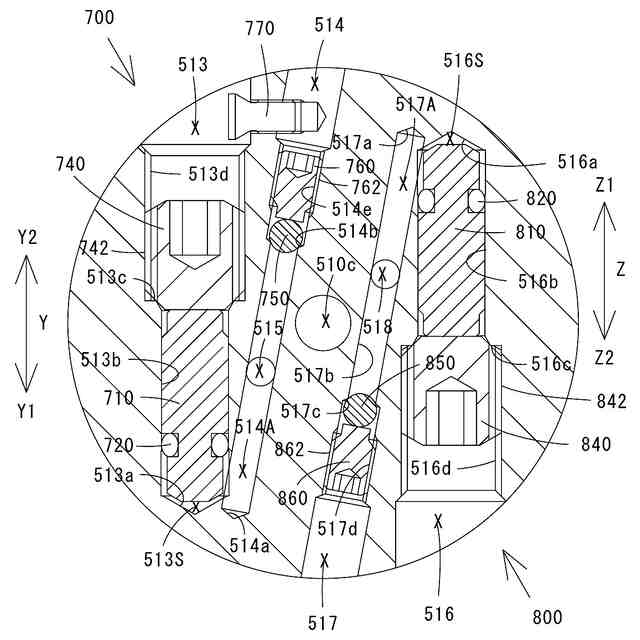
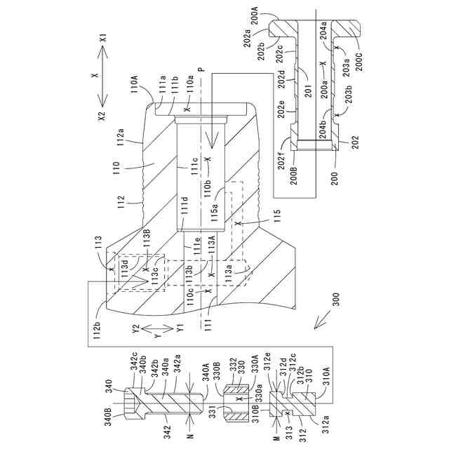
図6~図8に、特許文献1に開示されている工具ホルダー500が示されている。図6は、工具ホルダー500の断面図であり、図7は、図6の要部の拡大図であり、図8は、図6をVIII-VIII線方向から見た断面図である。
工具ホルダー500は、本体部材510、スリーブ600、圧力調整手段700および800を備えている。スリーブ600は、本体部材内周面511により形成される本体部材内側空間(詳しくは、本体部材内側空間部分510a、510b)内に挿入された状態で本体部材510に固着される。これにより、スリーブ外周面602と本体部材内周面511の間の、径方向に沿って弾性変形可能な把持部604a、604bに対応する箇所に、加圧空間605a、605bが形成される。加圧空間605a、605b内には流体(例えば、油)が充填される。加圧空間605a、605b内に充填されている流体の圧力が高くなると、把持部604a、604bが径方向内側に弾性変形し、スリーブ内側空間600a内に挿入されている工具が挟持される。
圧力調整手段700(800)は、加圧空間605a、605b内に充填されている流体の圧力を調整する。圧力調整手段700(800)は、シリンダ室513(516)内に配置されているピストン710(810)および圧力調整ネジ740(840)と、シリンダ室513(516)内に形成されている加圧室513S(516S)を含んでいる。加圧室513S(516S)は、連通路514A(517A)および本体部材通路515(518)を介して加圧空間605a、605bに連通している。
加圧室513S(516S)は、シリンダ室513(516)を形成するシリンダ壁面とピストン710(810)により規定される。圧力調整ネジ740(840)は、ピストン710(810)より、加圧室513S(516S)と反対側に配置されている。
【0003】
加圧室513S(516S)内に充填されている流体の圧力は、ピストン710(810)を圧力調整ネジ740(840)側に移動する力として作用する。ピストン710(810)の、圧力調整ネジ740(840)側への移動は、圧力調整ネジ740(840)の配置位置によって規制される。すなわち、加圧室513S(516S)内に充填されている流体の圧力は、圧力調整ネジ740(840)の配置位置によって調整される。
圧力調整ネジ740(840)の配置位置は、例えば、ドライバやレンチを用いて圧力調整ネジ740(840)を回転させることによって調整される。
例えば、圧力調整ネジ740(840)を第1の方向に回転させると、圧力調整ネジ740(840)が加圧室513S(516S)側に移動する。これにより、加圧室513S(516S)内、すなわち、加圧空間605a、605b内に充填されている流体の圧力が高められる。この場合、把持部604a、604bが径方向内側に弾性変形し、スリーブ内側空間600a内に挿入されている工具が挟持される。
一方、圧力調整ネジ740(840)を、第1の方向と逆方向である第2の方向に回転させると、圧力調整ネジ740(840)が加圧室513S(516S)と反対側に移動する。これにより、加圧室513S(516S)内、すなわち、加圧空間605a、605b内に充填されている流体の圧力が低下する。この場合、把持部604a、604bが径方向外側に弾性回復し、スリーブ内側空間600a内への工具の挿入あるいはスリーブ内側空間600a内に挿入されている工具の引き出しが可能となる。
【先行技術文献】
【特許文献】
【0004】
特開2015-39753号公報
【発明の概要】
【発明が解決しようとする課題】
【0005】
図7、図8に示されているように、シリンダ室513(516)は、シリンダ壁面部分513d(516d)により、奥側に形成されているシリンダ室部分513A(516A)と、シリンダ壁面部分513b(516b)により、開口部側に形成されているシリンダ室部分513B(516B)を有している。開口部側のシリンダ室部分513B(516B)は、奥側のシリンダ室部分513A(516A)の内径より大きい内径を有している。
従来の工具ホルダー500では、圧力調整ネジ740(840)の外周面742(842)に、シリンダ壁面部分513B(516B)に形成されている雌ネジにネジ結合可能な雄ネジが形成されている。このため、圧力調整ネジ740(840)のネジ部の最大外径nが、ピストン710(810)の最大外径mより大きい(n>m)。
従来の工具ホルダー500では、圧力調整ネジ740(840)を大きく回転させることなく、流体の圧力を調整することができる。一方、圧力調整ネジ740(840)を回転させる際、特に、流体の圧力を高める方向に回転させる際に、大きな力で圧力調整ネジ740(840)を回転させる必要があった。
本発明は、このような点に鑑みて創案されたものであり、流体の圧力を調整するための圧力調整ネジを容易に回転させることができる工具ホルダーを提供することを目的とする。
【課題を解決するための手段】
【0006】
本発明の工具ホルダーは、本体部と圧力調整手段を備えている。本体部は、工具挿入空間、加圧空間、把持部を有している。
工具挿入空間は、工具挿入空間形成面により形成され、軸方向に沿って延在している。加圧空間は、工具挿入空間形成面より径方向外側に設けられ、流体が充填される。把持部は、加圧空間と工具挿入空間形成面との間に形成されている。把持部は、軸方向と交差する径方向に沿って弾性変形可能に構成されている。
圧力調整手段は、加圧空間内に充填されている流体の圧力を調整可能に構成されている。圧力調整手段によって加圧空間内に充填されている流体の圧力が高められると、把持部が径方向に沿って径方向内側(工具挿入空間側)に弾性変形する。
圧力調整手段は、シリンダ壁面により形成されるシリンダ室、シリンダ室内に配置されている圧力調整ネジおよびピストン、シリンダ室内に形成されている加圧室を含んでいる。シリンダ室は、所定方向に沿って延在している。好適には、シリンダ室は、本体部に形成される。
圧力調整ネジは、所定方向に沿って延在するネジ部を有している。ネジ部の外周面には、シリンダ壁面側に設けられている雌ネジにネジ結合可能な雄ネジが形成されている。シリンダ壁面側に設けられている雌ネジは、シリンダ壁面に形成されている雌ネジあるいはシリンダ壁面に連結されている部材に設けられている雌ネジを含む。好適には、圧力調整ネジは、圧力調整ネジを回転させるためのドライバやレンチが挿入される穴が形成されている頭部を有している。
ピストンは、圧力調整ネジより、所定方向に沿って第1側に配置されている。圧力調整ネジによって、ピストンの、所定方向に沿って第1側と反対側である第2側への移動が規制されるように構成されている。ピストンの、所定方向に沿って第2側への移動は、圧力調整ネジによって直接規制されるように構成してもよく、他の部材を介して間接的に規制されるように構成してもよい。
加圧室は、ピストンより、所定方向に沿って第1側に形成され、加圧空間と連通している。
そして、本発明では、圧力調整ネジのネジ部の最大外径が、ピストンの最大外径以下に設定されている。これにより、従来の工具ホルダーに較べて、小さい力で圧力調整ネジを回転させることができる。
本発明では、圧力調整ネジを容易に回転させることができる。
本発明の異なる形態では、圧力調整手段は、シリンダ室内に配置されているアダプターを含んでいる。アダプターは、ピストンより、所定方向に沿って第2側に配置されている。
また、シリンダ壁面には、雌ネジが形成されている。
そして、アダプターは、所定方向に延在する筒状に形成され、アダプター内周面とアダプター外周面を有している。アダプター内周面には、圧力調整ネジのネジ部の外周面に形成されている雄ネジとネジ結合可能な雌ネジが形成されている。アダプター外周面には、シリンダ壁面に形成されている雌ネジとネジ結合可能な雄ネジが形成されている。
本形態では、容易に、圧力調整ネジのネジ部の最大外径をピストンの最大外径以下に設定することができる。
本発明の異なる形態では、シリンダ壁面は、第1~第3のシリンダ壁面部分を含んでいる、第1のシリンダ壁面部分は、第1の内径を有する第1のシリンダ室部分を形成する。第2のシリンダ壁面部分は、第1の内径より大きい第2の内径を有する第2のシリンダ室部分を形成する。第2のシリンダ室部分は、第1のシリンダ室部分より所定方向に沿って第2側に配置されている。第2のシリンダ壁面部分は、第1のシリンダ壁面部分と第2のシリンダ壁面部分を接続する。
そして、第2のシリンダ壁面部分に、アダプター外周面に形成されている雄ネジとネジ結合可能な雌ネジが形成されている。
本形態では、ピストンの最大外径以下の最大外径に設定されているネジ部を有する圧力調整ネジを、確実に保持することができる。
本発明の異なる形態では、圧力調整手段は、第1の圧力調整手段と第2の圧力調整手段を含んでいる。
第1の圧力調整手段は、第1のシリンダ壁面により形成される第1のシリンダ室、第1のシリンダ室内に配置されている第1の圧力調整ネジおよび第1のピストン、第1のシリンダ室内に形成されている第1の加圧室を含んでいる。
第1の圧力調整ネジは、第1の方向に沿って延在する第1のネジ部を有している。第1のネジ部の外周面には、第1のシリンダ壁面側に設けられている雌ネジにネジ結合可能な雄ネジが形成されている。
第1のピストンは、第1の圧力調整ネジより、第1の方向に沿って第1側に配置されている。第1の圧力調整ネジによって、第1のピストンの、第1の方向に沿って第1側と反対側である第2側への移動が規制されるように構成されている。
第1の加圧室は、第1のピストンより、第1の方向に沿って第1側に形成され、加圧空間と連通している。
第2の圧力調整手段は、第2のシリンダ壁面により形成される第2のシリンダ室、第2のシリンダ室内に配置されている第2の圧力調整ネジおよび第2のピストン、第2のシリンダ室内に形成されている第2の加圧室を含んでいる。
第2の圧力調整ネジは、第2の方向に沿って延在する第2のネジ部を有している。第2のネジ部の外周面には、第2のシリンダ壁面側に設けられている雌ネジにネジ結合可能な雄ネジが形成されている。
第2のピストンは、第2の圧力調整ネジより、第2の方向に沿って第1側に配置されている。第2の圧力調整ネジによって、第2のピストンの、第2の方向に沿って第1側と反対側である第2側への移動が規制されるように構成されている。
第2の加圧室は、第2のピストンより、第2の方向に沿って第1側に形成され、加圧空間と連通している。
そして、第1の圧力調整ネジの第1のネジ部の最大外径が、第1のピストンの最大外径以下に設定され、また、第2の圧力調整ネジの第2のネジ部の最大外径が、第2のピストンの最大外径以下に設定されている。
本形態では、加圧空間内に充填されている流体の圧力を容易に調整することができる。
本発明の異なる形態では、第1のシリンダ室と第2のシリンダ室は、本体部の本体部中心線を挟んで対向する位置に、第1の方向と第2の方向が平行(「略平行」を含む)になるように形成されている。
本形態では、第1の圧力調整手段と第2の圧力調整手段をバランスよく配置することができる。
【発明の効果】
【0007】
本発明の工具ホルダーでは、加圧空間内に充填されている流体の圧力を調整するための圧力調整ネジを容易に回転させることができる。
【図面の簡単な説明】
【0008】
一実施形態の工具ホルダーの断面図である。
図1をII-II線方向から見た断面図である。
図1の要部の拡大図である。
一実施形態の工具ホルダーの組み立て図である。
図1をV-V線方向から見た断面図である。
従来の工具ホルダーの断面図である。
従来の工具ホルダーの組み立て図である。
図6をVIII-VIII線方向から見た断面図である。
【発明を実施するための形態】
【0009】
以下に、本発明の工具ホルダーの実施形態を、図面を参照して説明する。
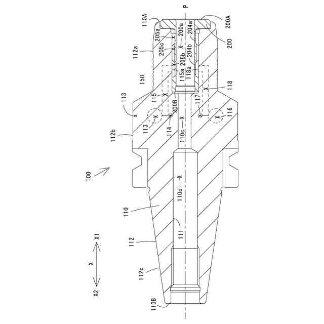
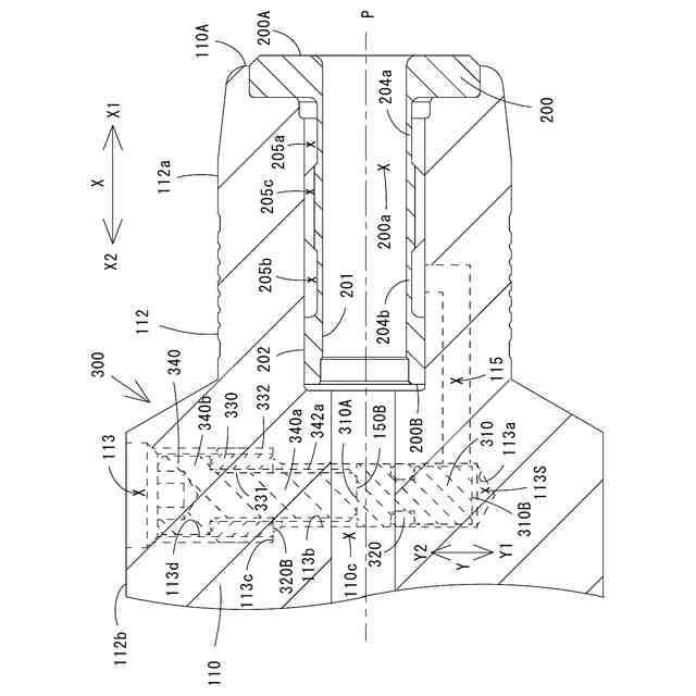
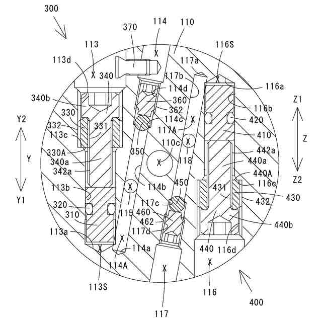
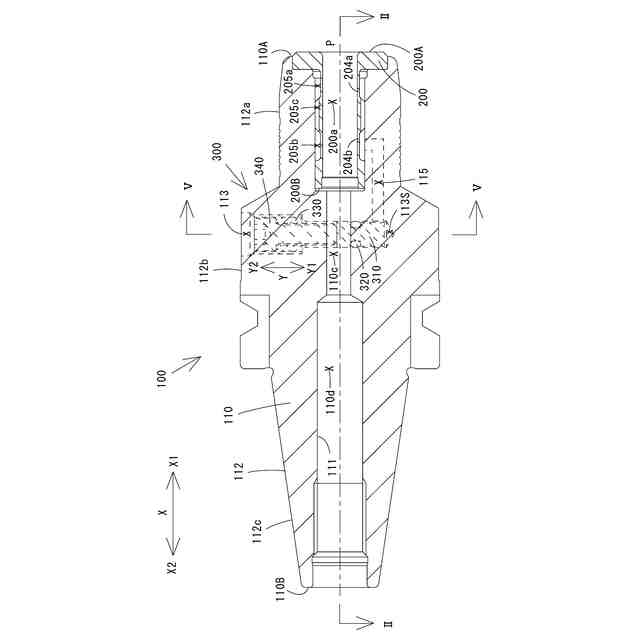
図1~図4に、一実施形態の工具ホルダー100が示されている。図1は、工具ホルダー100の断面図である。図2は、図1をII-II線方向から見た断面図である。図3は、図1の要部の拡大図である。図4は、工具ホルダー100の組み立て図である。図5は、図1をV-V線方向から見た断面図である。
なお、以下の説明では、本体部材110の本体部材中心線Pの延在方向(図1に示されているX方向)を「軸方向」という。また、軸方向一方側から見て(図5参照)、本体部材中心線Pを通る線の方向を「径方向」といい、本体部材中心線Pを中心とする円周方向を「周方向」という。また、軸方向に沿って工具が挿入される側(図1に示されている矢印X1側)を「軸方向第1側」あるいは「軸方向先端側」あるいは「先端側」といい、工具が挿入される側と反対側(図1に示されている矢印X2側)を「軸方向第2側」あるいは「軸方向後端側」あるいは「後端側」という。
第1のシリンダ室113が延在している方向(図5に示されているY方向)を「第1の方向」という。そして、第1の方向に沿って一方側(図5において矢印Y1側)を「第1の方向第1側」といい、第1の方向に沿って他方側(一方側と反対側)(図5において矢印Y2側)を「第1の方向第2側」という。また、第2のシリンダ室116が延在している方向(図5に示されているZ方向)を「第2の方向」という。そして、第2の方向に沿って一方側(図5において矢印Z1側)を「第2の方向第1側」といい、第2の方向に沿って他方側(一方側と反対側)(図5において矢印Z2側)を「第2の方向第2側」という。
【0010】
工具ホルダー100は、本体部材110、スリーブ200、第1の圧力調整手段300および第2の圧力調整手段400を備えている。
(【0011】以降は省略されています)
この特許をJ-PlatPat(特許庁公式サイト)で参照する
関連特許
個人
タップ
4か月前
個人
フライス盤
20日前
個人
加工機
4か月前
麗豊実業股フン有限公司
ラクトバチルス・パラカセイNB23菌株及びそれを筋肉量の増加や抗メタボリック症候群に用いる用途
4か月前
株式会社北川鉄工所
回転装置
3か月前
日東精工株式会社
ねじ締め機
1か月前
株式会社不二越
ドリル
4か月前
日東精工株式会社
ねじ締め機
20日前
日東精工株式会社
ねじ締め機
4か月前
株式会社ダイヘン
溶接電源装置
2か月前
日東精工株式会社
ねじ締め装置
11日前
日東精工株式会社
ねじ締め装置
3か月前
株式会社ダイヘン
溶接電源装置
1か月前
株式会社ダイヘン
溶接電源装置
2か月前
個人
切削油供給装置
1か月前
株式会社FUJI
工作機械
3か月前
株式会社FUJI
工作機械
2か月前
株式会社アンド
半田付け方法
4か月前
株式会社アンド
半田付け方法
4か月前
株式会社アンド
半田付け方法
22日前
キヤノン電子株式会社
加工システム
1か月前
個人
型枠製造装置のフレーム
1日前
株式会社ツガミ
工作機械
28日前
村田機械株式会社
レーザ加工機
4か月前
村田機械株式会社
レーザ加工機
4か月前
大見工業株式会社
ドリル
2か月前
株式会社トヨコー
被膜除去方法
4か月前
トヨタ自動車株式会社
溶接ヘッド
3か月前
株式会社不二越
ブローチ盤
1か月前
有限会社 ナプラ
ソルダペースト
2か月前
住友重機械工業株式会社
加工装置
2か月前
津田駒工業株式会社
センタリングバイス
1か月前
トヨタ自動車株式会社
溶接ヘッド
3か月前
株式会社ダイヘン
溶接装置
2か月前
トヨタ自動車株式会社
溶接マスク
3か月前
株式会社不二越
ブローチ盤
11日前
続きを見る
他の特許を見る