TOP
|
特許
|
意匠
|
商標
特許ウォッチ
Twitter
他の特許を見る
10個以上の画像は省略されています。
公開番号
2025138302
公報種別
公開特許公報(A)
公開日
2025-09-25
出願番号
2024037315
出願日
2024-03-11
発明の名称
カメラ装置
出願人
ニデックプレシジョン株式会社
代理人
個人
主分類
G03B
17/02 20210101AFI20250917BHJP(写真;映画;光波以外の波を使用する類似技術;電子写真;ホログラフイ)
要約
【課題】審美性が高く、分解が容易なカメラを提供する。
【解決手段】カメラ装置1は、内部に写真フィルムを収容するフィルム収容空間Sを有するフレーム20と、フレームを覆い、複数のフック孔62を有するサイドカバー5と、サイドカバーをフレームに対して固定するネジ65と、サイドカバーのフック孔に係合する複数のフック部52を有し、ネジ及びフック孔を覆う化粧プレート50とを備える。フレーム及びサイドカバーは、フレーム側から化粧プレートを外側に押して複数のフック部のうち少なくとも1つとフック孔との係合を外す工具を挿入するための工具挿入孔28,64を有する。
【選択図】図8
特許請求の範囲
【請求項1】
内部に写真フィルムを収容するフィルム収容空間を有するフレームと、
前記フレームの少なくとも一部を覆い、複数のフック孔を有するカバーと、
前記カバーを前記フレームに対して固定する固定具と、
前記カバーの前記複数のフック孔に係合する複数のフック部を有し、前記固定具及び前記複数のフック孔を覆う化粧プレートと
を備え、
前記フレーム及び前記カバーは、前記フレーム側から前記化粧プレートを外側に押して前記複数のフック部のうち少なくとも1つと前記フック孔との係合を外す工具を挿入するための工具挿入孔を有する、
カメラ装置。
続きを表示(約 280 文字)
【請求項2】
前記工具挿入孔は、前記複数のフック孔のうち前記化粧プレートの長手方向において最も外側に位置するフック孔よりもさらに外側に位置する、請求項1に記載のカメラ装置。
【請求項3】
前記工具挿入孔の周囲で前記工具が挿入される方向に沿って延びるガイド壁をさらに備える、請求項1に記載のカメラ装置。
【請求項4】
前記カバーは、少なくとも1つの位置決め孔を有し、
前記化粧プレートは、前記カバーの前記少なくとも1つの位置決め孔に挿入される突起を有する、
請求項1から3のいずれか一項に記載のカメラ装置。
発明の詳細な説明
【技術分野】
【0001】
本発明は、カメラ装置に関するものである。
続きを表示(約 2,700 文字)
【背景技術】
【0002】
一般的に、カメラの本体(フレーム)には外装カバーがネジなどの固定具を用いて取り付けられている(例えば、特許文献1参照)。近年、各種のカメラにおいて審美性が重視される傾向にあり、外装カバーを本体に固定しているネジなどの固定具が外部に見えないことが求められることが多くなっている。一方で、カメラの本体に外装カバーを取り付けた後に、内部部品の交換や修理のために外装カバーを本体から取り外してカメラを分解する必要が生じることがある。
【先行技術文献】
【特許文献】
【0003】
特開2014-56009号公報
【発明の概要】
【発明が解決しようとする課題】
【0004】
本発明は、このような従来技術の問題点に鑑みてなされたもので、審美性が高く、分解が容易なカメラを提供することを目的とする。
【課題を解決するための手段】
【0005】
本発明の一態様によれば、内部に写真フィルムを収容するフィルム収容空間を有するフレームと、上記フレームの少なくとも一部を覆い、複数のフック孔を有するカバーと、上記カバーを上記フレームに対して固定する固定具と、上記カバーの上記複数のフック孔に係合する複数のフック部を有し、上記固定具及び上記複数のフック孔を覆う化粧プレートとを備え、上記フレーム及び上記カバーは、上記フレーム側から上記化粧プレートを外側に押して上記複数のフック部のうち少なくとも1つと上記フック孔との係合を外す工具を挿入するための工具挿入孔を有する、カメラ装置が提供される。
【発明の効果】
【0006】
本発明によれば、カバーをフレームに固定している固定具及びフック孔を化粧プレートで隠すことで審美性を高めることができる。また、カメラ装置の分解が必要となった場合にはフレームの工具挿入孔から棒状の工具を工具挿入孔に挿入することでカバーから化粧プレートを容易に取り外すことができる。
【図面の簡単な説明】
【0007】
図1は、本発明の一実施形態におけるカメラ装置を示す前方斜視図である。
図2は、図1に示すカメラ装置の後方斜視図であり、ドア部が閉じた状態を示している。
図3は、図1に示すカメラ装置のケーシングの内部に収容されるフレームをフィルム排出カバーとともに示す後方斜視図である。
図4は、図1に示すカメラ装置の部分縦断面図である。
図5Aは、図3に示すフィルム排出カバーの平面図である。
図5Bは、図5Aに示すフィルム排出カバーの正面図である。
図5Cは、図5Aに示すフィルム排出カバーの左側面図である。
図6は、図3に示すフィルム排出カバーの取付状態を模式的に示す横断面図である。
図7は、図3に示すフィルム排出カバーをリアカバーに取り付ける工程を模式的に示す縦断面図である。
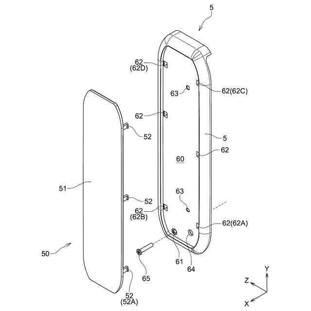
図8は、図2に示すカメラ装置のサイドカバー及び化粧プレートの分解斜視図である。
図9は、図8に示す化粧プレートの斜視図である。
図10は、図8に示すサイドカバー及びフレームの工具挿入孔を含む部分断面図である。
図11は、図8に示すサイドカバーの右側面図である。
図12は、図1に示すカメラ装置のドア部が開いた状態を示す後方斜視図である。
図13は、図2に示すカメラ装置のドア部の回転支持構造を含む部分を拡大して示す斜視図である。
図14は、図2に示すカメラ装置のドア部及びリアカバーの分解斜視図である。
図15は、図14に示すドア部の一部を示す背面図である。
図16は、図15のA-A線断面図である。
図17Aは、図14に示すドア部における外側カバーを示す斜視図である。
図17Bは、図17Aに示す外側カバーの平面図である。
図17Cは、図17Aに示す外側カバーの右側面図である。
図18は、図1に示すカメラ装置を図15のA-A線で切断したときの断面図である。
図19Aは、図18に示すドア部の回転支持構造を組み立てる工程を説明する断面図である。
図19Bは、図18に示すドア部の回転支持構造を組み立てる工程を説明する断面図である。
図20は、図2に示すカメラ装置のドア部の分解斜視図である。
図21は、図20に示す内側カバーをドア本体に取り付ける工程を説明する模式的断面図である。
【発明を実施するための形態】
【0008】
以下、本発明に係るカメラ装置の実施形態について図1から図21を参照して詳細に説明する。図1から図21において、同一又は相当する構成要素には、同一の符号を付して重複した説明を省略する。また、図1から図21においては、各構成要素の縮尺や寸法が誇張されて示されている場合や一部の構成要素が省略されている場合がある。以下の説明では、特に言及がない場合には、「第1」や「第2」などの用語は、構成要素を互いに区別するために使用されているだけであり、特定の順位や順番を表すものではない。
【0009】
カメラ装置の概要
図1は、本発明の一実施形態におけるカメラ装置1を示す前方斜視図、図2は後方斜視図である。本実施形態におけるカメラ装置1は、撮影後に自動的に現像が行われる写真フィルムを用いるカメラ(インスタントカメラ)であるが、本発明はこのようなインスタントカメラ以外にも適用できることは言うまでもない。なお、本実施形態では、便宜的に、光軸方向に沿ってカメラ装置1から被写体に向かう方向(図1における+Z方向)を「前」又は「前方」といい、被写体からカメラ装置1に向かう方向(-Z方向)を「後」又は「後方」ということとする。
【0010】
図1及び図2に示すように、カメラ装置1は、フロントカバー2と、フロントカバー2の後方にフロントカバー2に隣接して配置されるリアカバー3と、フロントカバー2及びリアカバー3の側方に装着されるサイドカバー4,5と、フロントカバー2とリアカバー3との間に配置されるフィルム排出カバー6と、リアカバー3の後部に取り付けられるドア部7と、内部にレンズユニットを収容したレンズ鏡筒8と、レンズ鏡筒8の周囲に回転可能に配置され、レンズ鏡筒8の沈胴及び繰出を操作するための操作リング9とを備えている。
(【0011】以降は省略されています)
この特許をJ-PlatPat(特許庁公式サイト)で参照する
関連特許
個人
表示装置
5日前
個人
雨用レンズカバー
3日前
株式会社シグマ
絞りユニット
1か月前
キヤノン株式会社
撮像装置
25日前
日本精機株式会社
車両用投射装置
11日前
キヤノン株式会社
撮像装置
1か月前
平和精機工業株式会社
雲台
1か月前
キヤノン株式会社
撮像装置
1か月前
株式会社リコー
画像形成装置
1か月前
株式会社リコー
画像形成装置
1か月前
株式会社リコー
画像形成装置
2か月前
株式会社リコー
画像形成装置
2か月前
株式会社リコー
画像形成装置
2か月前
株式会社リコー
画像形成装置
21日前
キヤノン株式会社
画像形成装置
1か月前
キヤノン株式会社
画像形成装置
6日前
キヤノン株式会社
画像形成装置
1か月前
株式会社オプトル
プロジェクタ
2か月前
キヤノン株式会社
画像形成装置
2か月前
シャープ株式会社
画像形成装置
2か月前
キヤノン株式会社
トナー
12日前
キヤノン株式会社
画像形成装置
2か月前
ブラザー工業株式会社
再生方法
2か月前
キヤノン株式会社
トナー
1か月前
キヤノン株式会社
画像形成装置
2か月前
株式会社オプトル
プロジェクタ
24日前
キヤノン株式会社
画像形成装置
2か月前
キヤノン株式会社
トナー
17日前
キヤノン株式会社
画像形成装置
2か月前
アイホン株式会社
カメラシステム
11日前
株式会社シグマ
絞り機構及びレンズ鏡筒
2か月前
キヤノン株式会社
レンズキャップ
4日前
沖電気工業株式会社
画像形成装置
1か月前
沖電気工業株式会社
画像形成装置
3日前
スタンレー電気株式会社
照明装置
13日前
キヤノン株式会社
現像装置
10日前
続きを見る
他の特許を見る