TOP
|
特許
|
意匠
|
商標
特許ウォッチ
Twitter
他の特許を見る
10個以上の画像は省略されています。
公開番号
2025138232
公報種別
公開特許公報(A)
公開日
2025-09-25
出願番号
2024037203
出願日
2024-03-11
発明の名称
カメラ装置
出願人
ニデックプレシジョン株式会社
代理人
個人
主分類
G03B
17/02 20210101AFI20250917BHJP(写真;映画;光波以外の波を使用する類似技術;電子写真;ホログラフイ)
要約
【課題】フレキシブルプリント基板をドア本体と内側カバーとの間で屈曲した状態で組み込み、内側カバーをドア本体に固定する際は、内側カバーの姿勢が安定しないためネジ止め作業が難しい。
【解決手段】カメラ装置1は、リアカバーに対して回転可能に取り付けられたドア部7を備え、ドア本体81と、ドア本体のフレーム側に取り付けられる内側カバー83と、ドア本体と内側カバーとの間に規定される空間に収容される電子部品100,110と、電子部品からドア本体と内側カバーとの間を通ってフレームに向かって延びるフレキシブルプリント基板102,112と、内側カバーをドア本体に固定するネジ130とを含む。内側カバーは、縁部141から突出する突出片145と、縁部142に設けられるフック部146とを有し。ドア本体は、内側カバーの突出片が係合するカバー係合孔131と、内側カバーのフック部が係合するカバー係合部132とを有する。
【選択図】図20
特許請求の範囲
【請求項1】
内部に写真フィルムを収容するフィルム収容空間を有するフレームと、
前記フレームの少なくとも一部を覆うケーシングと、
前記ケーシングに対して回転軸を中心として回転可能に取り付けられたドア部と
を備え、
前記ドア部は、
ドア本体と、
前記ドア本体の前記フレーム側に取り付けられる内側カバーと、
前記ドア本体と前記内側カバーとの間に規定される空間に収容される少なくとも1つの電子部品と、
前記少なくとも1つの電子部品から前記回転軸の近傍で前記ドア本体と前記内側カバーとの間を通って前記フレームに向かって延びる少なくとも1つのフレキシブルプリント基板と、
前記内側カバーを前記ドア本体に固定する少なくとも1つの固定具と
を含み、
前記内側カバーは、
前記回転軸から離れた第1の縁部と、
前記第1の縁部よりも前記回転軸に近い第2の縁部と、
前記第1の縁部から突出する複数の突出片と、
前記第2の縁部に設けられるフック部と
を有し、
前記ドア本体は、
前記内側カバーの前記複数の突出片が係合する少なくとも1つの第1のカバー係合部と、
前記内側カバーの前記フック部が係合する第2のカバー係合部と
を有する、
カメラ装置。
続きを表示(約 280 文字)
【請求項2】
前記少なくとも1つのフレキシブルプリント基板は、前記内側カバーの前記フック部の両側を通って延びる2つのフレキシブルプリント基板を含む、請求項1に記載のカメラ装置。
【請求項3】
前記少なくとも1つの固定具は、前記少なくとも1つの電子部品の四隅近傍に配置される4つの固定具を含む、請求項1に記載のカメラ装置。
【請求項4】
前記ドア部は、
前記ドア本体の外面のうち前記第2のカバー係合部が設けられる部分を覆う外側カバー
をさらに有する、
請求項1から3のいずれか一項に記載のカメラ装置。
発明の詳細な説明
【技術分野】
【0001】
本発明は、カメラ装置に関するものである。
続きを表示(約 3,000 文字)
【背景技術】
【0002】
従来から、写真フィルムパックなどを出し入れするための開口を開閉するドアを有するカメラが知られている(例えば、特許文献1参照)。このようなドアは、シャフトを含むヒンジ機構を介してカメラ本体に連結されており、このヒンジ機構のシャフトを中心としてドアを回転できるようになっている。
【先行技術文献】
【特許文献】
【0003】
特開2006-88498号公報
【発明の概要】
【発明が解決しようとする課題】
【0004】
最近では、カメラの多機能化に伴い、カメラ本体だけではなくこのようなドアにも電子部品を搭載することが増えてきている。上述したようにドアはカメラ本体に対して回転可能に設けられているため、電子部品をドアに搭載した場合には、電子部品とカメラ本体の制御部との間を接続するためにフレキシブルプリント基板が用いられる。このようなフレキシブルプリント基板はドア本体と内側カバーとの間で屈曲した状態で組み込まれているため、内側カバーをドア本体にネジにより固定する際には、フレキシブルプリント基板からの反発力を受けつつ内側カバーのネジ止めを行わなければならない。このような内側カバーの姿勢が安定しない状態でのネジ止め作業は難しい。
【0005】
本発明は、このような従来技術の問題点に鑑みてなされたもので、電子部品を搭載したドア部のネジ止め固定を容易にすることができるカメラ装置を提供することを目的とする。
【課題を解決するための手段】
【0006】
本発明の一態様によれば、内部に写真フィルムを収容するフィルム収容空間を有するフレームと、上記フレームの少なくとも一部を覆うケーシングと、上記ケーシングに対して回転軸を中心として回転可能に取り付けられたドア部とを備え、上記ドア部は、ドア本体と、上記ドア本体の上記フレーム側に取り付けられる内側カバーと、上記ドア本体と上記内側カバーとの間に規定される空間に収容される少なくとも1つの電子部品と、上記少なくとも1つの電子部品から上記回転軸の近傍で上記ドア本体と上記内側カバーとの間を通って上記フレームに向かって延びる少なくとも1つのフレキシブルプリント基板と、上記内側カバーを上記ドア本体に固定する少なくとも1つの固定具とを含み、上記内側カバーは、上記回転軸から離れた第1の縁部と、上記第1の縁部よりも上記回転軸に近い第2の縁部と、上記第1の縁部から突出する複数の突出片と、上記第2の縁部に設けられるフック部とを有し、上記ドア本体は、上記内側カバーの上記複数の突出片が係合する少なくとも1つの第1のカバー係合部と、上記内側カバーの上記フック部が係合する第2のカバー係合部とを有する、カメラ装置が提供される。
【発明の効果】
【0007】
本発明によれば、内側カバーをドア本体に取り付ける際に、内側カバーの突出片及びフック部をそれぞれドア本体の第1のカバー係合部及び第2のカバー係合部に係合させることで、フレキシブルプリント基板をドア本体と内側カバーとの間に挟み込んだ状態でドア本体と内側カバーとを仮止めすることができる。この仮止めによって、フレキシブルプリント基板からの反発力の影響を受けずに内側カバーをドア本体に固定具により固定することができるので、ドア本体への内側カバーの固定が容易になる。
【図面の簡単な説明】
【0008】
図1は、本発明の一実施形態におけるカメラ装置を示す前方斜視図である。
図2は、図1に示すカメラ装置の後方斜視図であり、ドア部が閉じた状態を示している。
図3は、図1に示すカメラ装置のケーシングの内部に収容されるフレームをフィルム排出カバーとともに示す後方斜視図である。
図4は、図1に示すカメラ装置の部分縦断面図である。
図5Aは、図3に示すフィルム排出カバーの平面図である。
図5Bは、図5Aに示すフィルム排出カバーの正面図である。
図5Cは、図5Aに示すフィルム排出カバーの左側面図である。
図6は、図3に示すフィルム排出カバーの取付状態を模式的に示す横断面図である。
図7は、図3に示すフィルム排出カバーをリアカバーに取り付ける工程を模式的に示す縦断面図である。
図8は、図2に示すカメラ装置のサイドカバー及び化粧プレートの分解斜視図である。
図9は、図8に示す化粧プレートの斜視図である。
図10は、図8に示すサイドカバー及びフレームの工具挿入孔を含む部分断面図である。
図11は、図8に示すサイドカバーの右側面図である。
図12は、図1に示すカメラ装置のドア部が開いた状態を示す後方斜視図である。
図13は、図2に示すカメラ装置のドア部の回転支持構造を含む部分を拡大して示す斜視図である。
図14は、図2に示すカメラ装置のドア部及びリアカバーの分解斜視図である。
図15は、図14に示すドア部の一部を示す背面図である。
図16は、図15のA-A線断面図である。
図17Aは、図14に示すドア部における外側カバーを示す斜視図である。
図17Bは、図17Aに示す外側カバーの平面図である。
図17Cは、図17Aに示す外側カバーの右側面図である。
図18は、図1に示すカメラ装置を図15のA-A線で切断したときの断面図である。
図19Aは、図18に示すドア部の回転支持構造を組み立てる工程を説明する断面図である。
図19Bは、図18に示すドア部の回転支持構造を組み立てる工程を説明する断面図である。
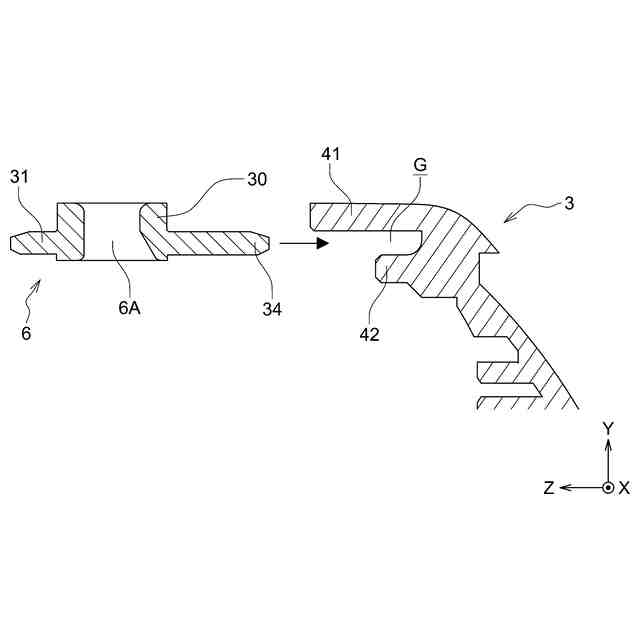
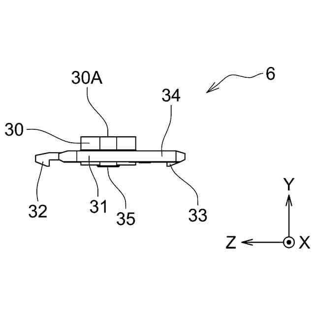
図20は、図2に示すカメラ装置のドア部の分解斜視図である。
図21は、図20に示す内側カバーをドア本体に取り付ける工程を説明する模式的断面図である。
【発明を実施するための形態】
【0009】
以下、本発明に係るカメラ装置の実施形態について図1から図21を参照して詳細に説明する。図1から図21において、同一又は相当する構成要素には、同一の符号を付して重複した説明を省略する。また、図1から図21においては、各構成要素の縮尺や寸法が誇張されて示されている場合や一部の構成要素が省略されている場合がある。以下の説明では、特に言及がない場合には、「第1」や「第2」などの用語は、構成要素を互いに区別するために使用されているだけであり、特定の順位や順番を表すものではない。
【0010】
カメラ装置の概要
図1は、本発明の一実施形態におけるカメラ装置1を示す前方斜視図、図2は後方斜視図である。本実施形態におけるカメラ装置1は、撮影後に自動的に現像が行われる写真フィルムを用いるカメラ(インスタントカメラ)であるが、本発明はこのようなインスタントカメラ以外にも適用できることは言うまでもない。なお、本実施形態では、便宜的に、光軸方向に沿ってカメラ装置1から被写体に向かう方向(図1における+Z方向)を「前」又は「前方」といい、被写体からカメラ装置1に向かう方向(-Z方向)を「後」又は「後方」ということとする。
(【0011】以降は省略されています)
この特許をJ-PlatPat(特許庁公式サイト)で参照する
関連特許
個人
表示装置
11日前
個人
雨用レンズカバー
9日前
株式会社シグマ
絞りユニット
1か月前
日本精機株式会社
車両用投射装置
17日前
キヤノン株式会社
撮像装置
2日前
キヤノン株式会社
撮像装置
2日前
平和精機工業株式会社
雲台
2か月前
キヤノン株式会社
撮像装置
1か月前
キヤノン株式会社
撮像装置
1か月前
キヤノン株式会社
撮像装置
2日前
キヤノン株式会社
撮像装置
1か月前
株式会社リコー
画像形成装置
2か月前
株式会社リコー
画像形成装置
1か月前
株式会社リコー
画像形成装置
2か月前
株式会社リコー
画像形成装置
1か月前
株式会社リコー
画像形成装置
27日前
株式会社リコー
画像形成装置
2か月前
キヤノン株式会社
トナー
5日前
株式会社オプトル
プロジェクタ
1か月前
キヤノン株式会社
トナー
18日前
キヤノン株式会社
トナー
1か月前
ブラザー工業株式会社
再生方法
2か月前
キヤノン株式会社
画像形成装置
2か月前
シャープ株式会社
画像形成装置
2か月前
キヤノン株式会社
画像形成装置
2か月前
キヤノン株式会社
画像形成装置
12日前
株式会社オプトル
プロジェクタ
2か月前
キヤノン株式会社
トナー
23日前
キヤノン株式会社
画像形成装置
1か月前
スタンレー電気株式会社
照明装置
19日前
キヤノン株式会社
レンズキャップ
10日前
アイホン株式会社
カメラシステム
17日前
キヤノン株式会社
現像装置
16日前
アイホン株式会社
機器の設置構造
2か月前
アイホン株式会社
機器の設置構造
2か月前
沖電気工業株式会社
画像形成装置
2か月前
続きを見る
他の特許を見る