TOP
|
特許
|
意匠
|
商標
特許ウォッチ
Twitter
他の特許を見る
公開番号
2025138003
公報種別
公開特許公報(A)
公開日
2025-09-25
出願番号
2024036611
出願日
2024-03-11
発明の名称
電極の製造方法
出願人
トヨタ自動車株式会社
代理人
個人
,
個人
,
個人
主分類
H01M
4/139 20100101AFI20250917BHJP(基本的電気素子)
要約
【課題】活物質合材未塗工部の金属箔の劣化を抑制することができる電極の製造方法を提供する。
【解決手段】搬送された金属箔上の活物質合材を輻射加熱する加熱工程を有する電極の製造方法であって、前記加熱工程では、前記金属箔の前記活物質合材が塗工されていない未塗工部上を自走し、且つ、平面視において前記活物質合材の搬送方向に直交する方向の両端部上を自走する自走装置により、前記金属箔の前記未塗工部を覆いながら、前記活物質合材を前記輻射加熱することを特徴とする電極の製造方法。
【選択図】図1
特許請求の範囲
【請求項1】
搬送された金属箔上の活物質合材を輻射加熱する加熱工程を有する電極の製造方法であって、
前記加熱工程では、前記金属箔の前記活物質合材が塗工されていない未塗工部上を自走し、且つ、平面視において前記活物質合材の搬送方向に直交する方向の両端部上を自走する自走装置により、前記金属箔の前記未塗工部を覆いながら、前記活物質合材を前記輻射加熱することを特徴とする電極の製造方法。
発明の詳細な説明
【技術分野】
【0001】
本開示は、電極の製造方法に関する。
続きを表示(約 1,400 文字)
【背景技術】
【0002】
特許文献1において開示されるような電極の製造方法に関して様々な技術が提案されている。
【先行技術文献】
【特許文献】
【0003】
特開2014-235975号公報
【発明の概要】
【発明が解決しようとする課題】
【0004】
特許文献1では、金属箔上に活物質合材が塗工された金属箔を、レーザーを用いて加熱する技術が開示されている。従来技術では、加熱時に活物質合材の未塗工部の金属箔が過昇温し、表面酸化等の劣化が発生する可能性がある。
【0005】
本開示は、上記実情に鑑みてなされたものであり、活物質合材未塗工部の金属箔の劣化を抑制することができる電極の製造方法を提供することを主目的とする。
【課題を解決するための手段】
【0006】
すなわち、本開示には、以下の態様が含まれる。
<1> 搬送された金属箔上の活物質合材を輻射加熱する加熱工程を有する電極の製造方法であって、
前記加熱工程では、前記金属箔の前記活物質合材が塗工されていない未塗工部上を自走し、且つ、平面視において前記活物質合材の搬送方向に直交する方向の両端部上を自走する自走装置により、前記金属箔の前記未塗工部を覆いながら、前記活物質合材を前記輻射加熱することを特徴とする電極の製造方法。
【発明の効果】
【0007】
本開示の電極の製造方法は、活物質合材未塗工部の金属箔の劣化を抑制することができる。
【図面の簡単な説明】
【0008】
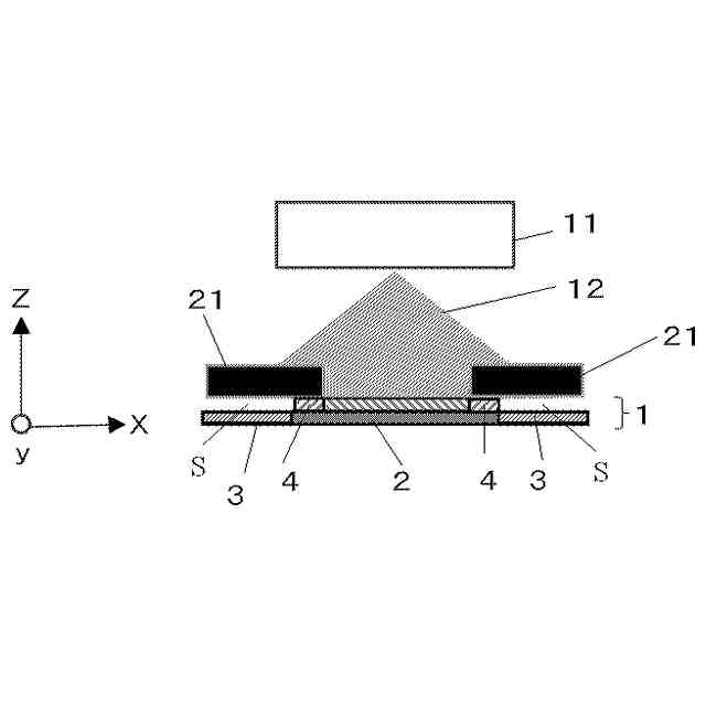
図1は、本開示の加熱工程の一例を示す模式図である。
図2は、図1に示す模式図を搬送方向の正面から視たときの模式図である。
【発明を実施するための形態】
【0009】
以下、本開示による実施の形態を説明する。なお、本明細書において特に言及している事項以外の事柄であって本開示の実施に必要な事柄(例えば、本開示を特徴付けない電極の一般的な構成および製造プロセス)は、当該分野における従来技術に基づく当業者の設計事項として把握され得る。本開示は、本明細書に開示されている内容と当該分野における技術常識とに基づいて実施することができる。
図における寸法関係(長さ、幅、厚さ等)は実際の寸法関係を反映するものではない。また、図には3次元直交座標系の方向も合わせて示した。ここではxy平面が水平面であり、z軸方向を鉛直方向とし、z軸方向に大きい方が上とする。また、本明細書において、ある部材に対して他の部材を配置する態様を表現するにあたり、単に「上に」または「下に」と表記する場合、特に断りの無い限りは、ある部材に接するように、直上または直下に他の部材を配置する場合と、ある部材の上方または下方に、別の部材を介して他の部材を配置する場合との両方を含む。
【0010】
本開示においては、搬送された金属箔上の活物質合材を輻射加熱する加熱工程を有する電極の製造方法であって、
前記加熱工程では、前記金属箔の前記活物質合材が塗工されていない未塗工部上を自走し、且つ、平面視において前記活物質合材の搬送方向に直交する方向の両端部上を自走する自走装置により、前記金属箔の前記未塗工部を覆いながら、前記活物質合材を前記輻射加熱することを特徴とする電極の製造方法を提供する。
(【0011】以降は省略されています)
この特許をJ-PlatPat(特許庁公式サイト)で参照する
関連特許
トヨタ自動車株式会社
電池
2日前
トヨタ自動車株式会社
車両
2日前
トヨタ自動車株式会社
ロータ
今日
トヨタ自動車株式会社
電動車
今日
トヨタ自動車株式会社
サーバ
6日前
トヨタ自動車株式会社
制御装置
2日前
トヨタ自動車株式会社
蓄電装置
2日前
トヨタ自動車株式会社
制御装置
2日前
トヨタ自動車株式会社
蓄電装置
今日
トヨタ自動車株式会社
冷却構造
5日前
トヨタ自動車株式会社
蓄電装置
2日前
トヨタ自動車株式会社
塗布装置
今日
トヨタ自動車株式会社
蓄電装置
2日前
トヨタ自動車株式会社
蓄電装置
2日前
トヨタ自動車株式会社
蓄電セル
今日
トヨタ自動車株式会社
検査装置
2日前
トヨタ自動車株式会社
蓄電装置
2日前
トヨタ自動車株式会社
制御装置
2日前
トヨタ自動車株式会社
二次電池
2日前
トヨタ自動車株式会社
蓄電装置
6日前
トヨタ自動車株式会社
蓄電セル
今日
トヨタ自動車株式会社
シート構造
2日前
トヨタ自動車株式会社
電気自動車
今日
トヨタ自動車株式会社
電池パック
6日前
トヨタ自動車株式会社
電池パック
2日前
トヨタ自動車株式会社
高圧タンク
2日前
トヨタ自動車株式会社
電気自動車
2日前
トヨタ自動車株式会社
電池パック
6日前
トヨタ自動車株式会社
電池パック
6日前
トヨタ自動車株式会社
情報処理装置
2日前
トヨタ自動車株式会社
情報処理装置
2日前
トヨタ自動車株式会社
情報処理装置
2日前
トヨタ自動車株式会社
情報処理装置
2日前
トヨタ自動車株式会社
情報処理装置
2日前
トヨタ自動車株式会社
作業分析装置
2日前
トヨタ自動車株式会社
情報処理装置
2日前
続きを見る
他の特許を見る