TOP
|
特許
|
意匠
|
商標
特許ウォッチ
Twitter
他の特許を見る
公開番号
2025136795
公報種別
公開特許公報(A)
公開日
2025-09-19
出願番号
2024035647
出願日
2024-03-08
発明の名称
電磁波吸収部材
出願人
リンテック株式会社
代理人
個人
,
個人
,
個人
主分類
H05K
9/00 20060101AFI20250911BHJP(他に分類されない電気技術)
要約
【課題】高温環境において、導電体層とスペーサ層を接合する粘着剤層中へ導電体の溶出を抑制した電磁波吸収部材を提供する。
【解決手段】導電体パターン12を有する抵抗層10と、粘着剤層20と、スペーサ層30と、反射層40と、を有し、抵抗層10と、粘着剤層20と、スペーサ層30と、反射層40とがこの順に積層されており、粘着剤層20が導電体パターン12と接するよう配置され、抵抗層10と粘着剤層20とからなる積層体において、120℃にて1000時間加熱後の反射計測における色差(ΔE)が6以下である、電磁波吸収部材1。
【選択図】図1
特許請求の範囲
【請求項1】
導電体パターンを有する抵抗層と、粘着剤層と、スペーサ層と、反射層と、を有し、
前記抵抗層と、前記粘着剤層と、前記スペーサ層と、前記反射層とがこの順に積層されており、
前記粘着剤層が前記導電体パターンと接するよう配置され、
前記抵抗層と前記粘着剤層とからなる積層体において、120℃にて1000時間加熱後の反射計測における色差(ΔE)が6以下である、電磁波吸収部材。
続きを表示(約 220 文字)
【請求項2】
前記積層体において、120℃にて1000時間加熱後の透過計測における色差(ΔE)が60以下である、請求項1に記載の電磁波吸収部材。
【請求項3】
前記積層体において、加熱前と120℃にて1000時間加熱後のヘーズ値の差(Δヘーズ値)が30ポイント以下である、請求項1または2に記載の電磁波吸収部材。
【請求項4】
前記粘着剤層が防錆剤を含有する、請求項1または2に記載の電磁波吸収部材。
発明の詳細な説明
【技術分野】
【0001】
本発明は、電磁波吸収部材に関する。
続きを表示(約 1,600 文字)
【背景技術】
【0002】
所定の周波数の電磁波を選択的に吸収するシート状の電磁波吸収部材が知られている。
電磁波吸収部材は、酸性やアルカリ性の飛沫の接触が予定される過酷な環境下において用いられることもある。
【0003】
従来、λ/4型の電磁波吸収部材としては、導電体層と、スペーサ層と、反射層とを備え、導電体層と、スペーサ層と、反射層とがこの順に積層された複層構成を有するものが知られている(例えば、特許文献1参照)。このような電磁波吸収部材では、各層の貼合に粘着層が設けられている場合が多い。
【先行技術文献】
【特許文献】
【0004】
国際公開第2020/179349号
【発明の概要】
【発明が解決しようとする課題】
【0005】
しかしながら、従来のλ/4型の電磁波吸収部材では、導電体層のインピーダンス変化が吸収特性に大きく影響を与える。そのため、高温環境では、導電体層とスペーサ層を接合する粘着剤層中に導電体層の導電体イオンが溶出するものと推定され、インピーダンス変化が生じ、吸収特性が変化(劣化)するという課題があった。
【0006】
本発明は、上記事情に鑑みてなされたものであって、高温環境において、導電体層とスペーサ層を接合する粘着剤層中へ導電体の溶出を抑制した電磁波吸収部材を提供することを目的とする。
【課題を解決するための手段】
【0007】
本発明は、以下の態様を有する。
[1]導電体パターンを有する抵抗層と、粘着剤層と、スペーサ層と、反射層と、を有し、
前記抵抗層と、前記粘着剤層と、前記スペーサ層と、前記反射層とがこの順に積層されており、
前記粘着剤層が前記導電体パターンと接するよう配置され、
前記抵抗層と前記粘着剤層とからなる積層体において、120℃にて1000時間加熱後の反射計測における色差(ΔE)が6以下である、電磁波吸収部材。
[2]前記積層体において、120℃にて1000時間加熱後の透過計測における色差(ΔE)が60以下である、[1]に記載の電磁波吸収部材。
[3]前記積層体において、加熱前と120℃にて1000時間加熱後のヘーズ値の差(Δヘーズ値)が30ポイント以下である、[1]または[2]に記載の電磁波吸収部材。
[4]前記粘着剤層が防錆剤を含有する、[1]~[3]のいずれかに記載の電磁波吸収部材。
【発明の効果】
【0008】
本発明によれば、高温環境において、導電体層とスペーサ層を接合する粘着剤層中へ導電体の溶出を抑制した電磁波吸収部材を提供することができる。
【図面の簡単な説明】
【0009】
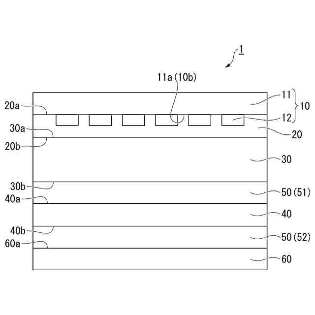
本発明の一実施形態に係る電磁波吸収部材を模式的に示し、厚みに沿う面の断面図である。
本発明の一実施形態に係る電磁波吸収部材を構成する抵抗層の一例を示す上面図である。
実験例1~3および比較例で得られた電磁波吸収部材について、フリースペース法にて、76GHzにおける電波の反射特性(S11)を取得した結果を示す図である。
実験例1~3および比較例で得られた電磁波吸収部材について、フリースペース法にて、79GHzにおける電磁波の反射特性(S11)を取得した結果を示す図である。
【発明を実施するための形態】
【0010】
本発明の電磁波吸収部材の実施の形態について説明する。
なお、本実施の形態は、発明の趣旨をより良く理解させるために具体的に説明するものであり、特に指定のない限り、本発明を限定するものではない。
(【0011】以降は省略されています)
この特許をJ-PlatPat(特許庁公式サイト)で参照する
関連特許
リンテック株式会社
ワーク加工用テープおよび積層体の製造方法
今日
リンテック株式会社
ワーク加工用テープおよび積層体の製造方法
今日
リンテック株式会社
ワーク加工用シートおよび加工済みワークの製造方法
今日
リンテック株式会社
保護膜形成フィルムおよび保護膜付きワーク個片化物の製造方法
今日
リンテック株式会社
硬化性組成物、硬化物、及び、硬化性組成物の使用方法
今日
株式会社コロナ
電気機器
3か月前
個人
電子部品の実装方法
6日前
株式会社遠藤照明
照明装置
3か月前
個人
非衝突型ガウス加速器
1か月前
日本精機株式会社
回路基板
28日前
キヤノン株式会社
電子機器
20日前
アイホン株式会社
電気機器
1か月前
キヤノン株式会社
電子機器
3か月前
個人
節電材料
2か月前
日本放送協会
基板固定装置
26日前
アイホン株式会社
電気機器
20日前
メクテック株式会社
配線基板
3か月前
メクテック株式会社
配線基板
1か月前
マクセル株式会社
配列用マスク
2か月前
東レ株式会社
霧化状活性液体供給装置
1か月前
イビデン株式会社
配線基板
1か月前
トキコーポレーション株式会社
照明器具
3か月前
イビデン株式会社
プリント配線板
3か月前
FDK株式会社
基板
5日前
イビデン株式会社
プリント配線板
3か月前
イビデン株式会社
プリント配線板
26日前
サクサ株式会社
筐体の壁掛け構造
1か月前
イビデン株式会社
配線基板
1か月前
イビデン株式会社
プリント配線板
2か月前
株式会社レゾナック
冷却装置
5日前
メクテック株式会社
伸縮性配線基板
3か月前
株式会社電気印刷研究所
金属画像形成方法
3か月前
株式会社電気印刷研究所
金属画像形成方法
3か月前
オムロン株式会社
端子折り曲げ治具
8日前
日産自動車株式会社
電子機器
2か月前
日産自動車株式会社
電子部品
18日前
続きを見る
他の特許を見る