TOP
|
特許
|
意匠
|
商標
特許ウォッチ
Twitter
他の特許を見る
公開番号
2025136401
公報種別
公開特許公報(A)
公開日
2025-09-19
出願番号
2024034958
出願日
2024-03-07
発明の名称
車両構造
出願人
三菱自動車工業株式会社
代理人
個人
,
個人
,
個人
,
個人
,
個人
主分類
B60K
1/00 20060101AFI20250911BHJP(車両一般)
要約
【課題】車両衝突時におけるモータユニットの損傷を抑制する。
【解決手段】走行用駆動源としてのモータと、車両の前端もしくは後端に設けられ、車両前後方向の貫通孔が形成されるとともに車幅方向に延在する第一クロスメンバと、前記モータに取り付けられ、前記貫通孔に向かって前後方向に延在する第一ブラケットと、前記貫通孔に篏合され、前後方向に延びる軸を有して前記第一ブラケットを軸支する第一軸支部と、を備える車両構造とした。
【選択図】図1
特許請求の範囲
【請求項1】
走行用駆動源としてのモータと、
車両の前端もしくは後端に設けられ、車両前後方向の貫通孔が形成されるとともに車幅方向に延在する第一クロスメンバと、
前記モータに取り付けられ、前記貫通孔に向かって前後方向に延在する第一ブラケットと、
前記貫通孔に篏合され、前後方向に延びる軸を有して前記第一ブラケットを軸支する第一軸支部と、を備える車両構造。
続きを表示(約 720 文字)
【請求項2】
前記第一ブラケットは、前記モータ側ほど上下方向の幅、又は、車幅方向の幅が大きくなる略三角錐形状の部分を有する請求項1に記載の車両構造。
【請求項3】
前記第一ブラケットは、径方向且つ車両前後方向に延びるリブを有する請求項1に記載の車両構造。
【請求項4】
前記第一ブラケットは、車両前後方向からみて、前記モータの躯体の縁部に取り付けられている請求項1に記載の車両構造。
【請求項5】
前記第一ブラケットと前記モータとの複数の取付部は、上下方向または車幅方向において異なる位置に配置されている請求項4に記載の車両構造。
【請求項6】
前記第一クロスメンバよりも車両の前後方向における中央側に配置され、車幅方向に延在する第二クロスメンバと、
前記第一クロスメンバおよび前記第二クロスメンバの車幅方向両端部に接続され、車両前後方向に延在する一対のサイドメンバと、
前記モータを前記第二クロスメンバに取り付ける第二ブラケットと、をさらに備え、
前記サイドメンバは、前記第一クロスメンバから前記第二クロスメンバまでの間に、上下方向又は車幅方向に屈曲する屈曲部を備えている請求項1に記載の車両構造。
【請求項7】
前記第二ブラケットは、車幅方向に延びる軸を有する第二軸支部を介して前記第二クロスメンバに取り付けられている請求項6に記載の車両構造。
【請求項8】
前記第二ブラケットは、車幅方向において、モータの車幅方向両端と重複する位置にて前記第二クロスメンバに取り付けられている請求項6又は7に記載の車両構造。
発明の詳細な説明
【技術分野】
【0001】
この発明は、電動車両の車両構造に関する。
続きを表示(約 1,300 文字)
【背景技術】
【0002】
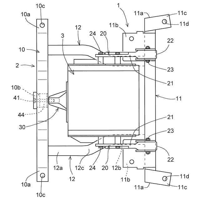
従来、電気自動車においては、走行用のモータに電力を供給するバッテリパックをフロアパネルの下方に備えたものがある。例えば、特許文献1には、サイドメンバに取り付けられたサスペンションメンバに対して車両下方側に配置されたモータユニット(モータ)と、前記モータに対して車両前後方向内側に設けられたバッテリユニット(バッテリパック)とを有する車両構造が開示されている。
【0003】
例えば、特許文献1では、車両前後方向に延びる一対のリヤサイドメンバの下部に、車幅方向に延びるリヤサスペンションメンバを備え、モータユニットは、その前方側がリヤサスペンションメンバの前側クロスメンバに取り付けられ、後方側はリヤサイドメンバに取り付けられている。また、リヤサスペンションメンバの前側クロスメンバの前方に、バッテリユニットが配置されている。
【0004】
また、特許文献2では、車両前後方向に延びる一対のフロントサイドメンバの下部に、車幅方向に延びるEVフレームを介してモータユニットが取り付けられている。また、そのモータの後方にバッテリユニットが配置されている。モータユニットの前方には、一対のフロントサイドメンバ間を結ぶクロスメンバが配置されている。
【先行技術文献】
【特許文献】
【0005】
特開2019-018686号公報
特開2015-182749号公報
【発明の概要】
【発明が解決しようとする課題】
【0006】
特許文献1,2の車両構造において、モータユニットの前方に車幅方向に延びるクロスメンバが配置されている。このため、車両が前方の車両等に強く衝突した場合、クロスメンバが後方に押されてモータユニットを損傷してしまう恐れがある。万が一の事故の場合においても、モータユニットはできる限り保護したいという要請がある。
【0007】
そこで、この発明の課題としては、車両衝突時におけるモータユニットの損傷を抑制することである。
【課題を解決するための手段】
【0008】
上記の課題を解決するために、この発明は、以下の構成1~構成4を備えるものを採用することができる。
【0009】
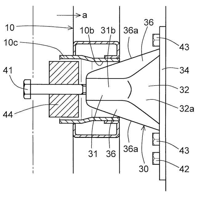
[構成1]
走行用駆動源としてのモータと、
車両の前端もしくは後端に設けられ、車両前後方向の貫通孔が形成されるとともに車幅方向に延在する第一クロスメンバと、
前記モータに取り付けられ、前記貫通孔に向かって前後方向に延在する第一ブラケットと、
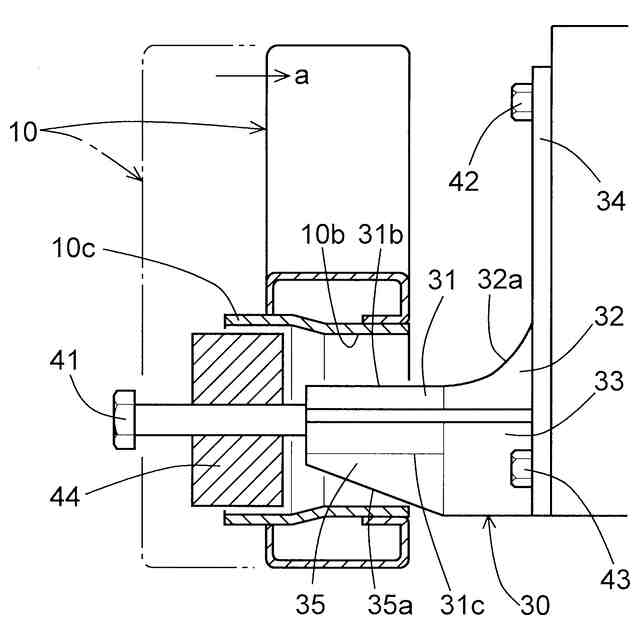
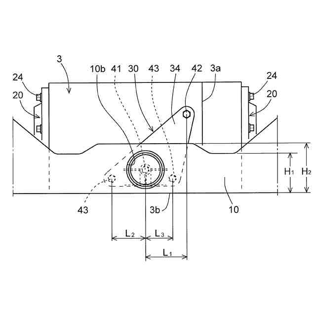
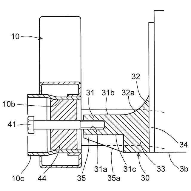
前記貫通孔に篏合され、前後方向に延びる軸を有して前記第一ブラケットを軸支する第一軸支部と、を備える車両構造。
【0010】
[構成2]
前記第一ブラケットは、前記モータ側ほど上下方向の幅、又は、車幅方向の幅が大きくなる略三角錐形状の部分を有する構成1に記載の車両構造。
(【0011】以降は省略されています)
この特許をJ-PlatPat(特許庁公式サイト)で参照する
関連特許
三菱自動車工業株式会社
自動車
今日
三菱自動車工業株式会社
車両の制御システム
今日
三菱自動車工業株式会社
回転電機の冷却構造
1日前
三菱自動車工業株式会社
可変抵抗回路および制御回路
今日
三菱自動車工業株式会社
水冷インタークーラシステム
今日
個人
カーテント
4か月前
個人
タイヤレバー
2か月前
個人
前輪キャスター
1か月前
個人
車窓用防虫網戸
4か月前
個人
ホイルのボルト締結
3か月前
個人
ルーフ付きトライク
1か月前
個人
タイヤ脱落防止構造
1か月前
個人
車輪清掃装置
4か月前
日本精機株式会社
表示装置
1か月前
井関農機株式会社
作業車両
3か月前
日本精機株式会社
表示装置
2か月前
個人
車両通過構造物
2か月前
日本精機株式会社
表示装置
2か月前
個人
マスタシリンダ
6日前
日本精機株式会社
表示装置
2か月前
井関農機株式会社
作業車両
3か月前
個人
キャンピングトライク
3か月前
個人
アクセルのソフトウェア
3か月前
個人
キャンピングトレーラー
3か月前
個人
ワイパーゴム性能保持具
4か月前
個人
車両用スリップ防止装置
3か月前
個人
乗合路線バスの客室装置
2か月前
井関農機株式会社
収穫作業車両
4か月前
個人
音声ガイド、音声サービス
2か月前
株式会社ニフコ
保持装置
3か月前
個人
円湾曲ホイール及び球体輪
2か月前
日本精機株式会社
車室演出装置
1か月前
日本精機株式会社
車載表示装置
3か月前
日本精機株式会社
車載表示装置
14日前
株式会社クラベ
ヒータユニット
4か月前
株式会社ニフコ
照明装置
1か月前
続きを見る
他の特許を見る