TOP
|
特許
|
意匠
|
商標
特許ウォッチ
Twitter
他の特許を見る
10個以上の画像は省略されています。
公開番号
2025135977
公報種別
公開特許公報(A)
公開日
2025-09-19
出願番号
2024034090
出願日
2024-03-06
発明の名称
携帯情報端末および撮像画像管理方法
出願人
株式会社キーエンス
代理人
個人
,
個人
主分類
H04N
23/60 20230101AFI20250911BHJP(電気通信技術)
要約
【課題】携帯情報端末に搭載されるカメラを画像処理対象の撮像に使用するにあたってカメラで撮像された画像の外部漏洩を防止可能とする。
【解決手段】セキュリティモードは、リアカメラ33により生成されたコード画像Icを不揮発性記憶部62に記憶することなく揮発性記憶部61から削除する(図6DのステップS604)。なお、セキュリティモードでは、かかる動作に代えて、不揮発性記憶部62に記憶されたコード画像Icを不揮発性記憶部62から強制的に削除するステップを実行してもよい。かかる構成では、セキュリティモードを選択することで、リアカメラ33により生成されたコード画像Icは削除されるため、外部に漏洩することがない。
【選択図】図2A
特許請求の範囲
【請求項1】
ワークを撮像して撮像画像を生成するカメラと、
前記撮像画像に基づいて画像処理を実行して、前記ワークに含まれる情報を取得する読取部と、
前記撮像画像を一時的に記憶する揮発性の第1記憶部と、
前記画像処理の設定を記憶するとともに、前記撮像画像の記憶が可能な不揮発性の第2記憶部と、
前記カメラに前記撮像画像を生成させて前記第1記憶部に記憶させ、記憶された当該撮像画像に基づいて前記読取部に前記画像処理を実行させる制御部と、
前記カメラにより生成された前記撮像画像を前記第2記憶部に記憶する第1モードと、前記カメラにより生成された前記撮像画像を前記第2記憶部に記憶することなく前記第1記憶部から削除し、または前記第2記憶部に記憶された前記撮像画像を前記第2記憶部から強制的に削除する第2モードとを含む複数のモードのいずれかを選択するモード選択部と、
を備える携帯情報端末。
続きを表示(約 1,400 文字)
【請求項2】
モード選択信号を受信する通信部をさらに備え、
前記モード選択部は、前記通信部を介して受信した前記モード選択信号に基づいて、前記複数のモードのいずれかを選択し、
前記モード選択信号は、前記複数のモードのいずれを選択するかを管理者権限による設定に基づき示す請求項1に記載の携帯情報端末。
【請求項3】
前記モード選択信号は、前記複数のモードのいずれを選択するかを管理者権限による設定と前記携帯情報端末の位置情報とに基づき示す請求項2に記載の携帯情報端末。
【請求項4】
表示部をさらに備え、
前記制御部は、前記モード選択部の前記第1モードの選択時および前記第2モードの選択時のいずれにおいても、前記第1記憶部に記憶されて前記読取部の画像処理の対象となる前記撮像画像を前記表示部に表示させる請求項1に記載の携帯情報端末。
【請求項5】
前記制御部は、前記モード選択部の前記第2モードの選択時には、前記撮像画像を表示する前記表示部のスクリーンショットを禁止する、または、前記撮像画像を表示する前記表示部のスクリーンショットの画像を無効化あるいはマスクした画像を前記第2記憶部に記憶する請求項4に記載の携帯情報端末。
【請求項6】
前記カメラにより前記撮像画像を生成して前記第2記憶部に記憶する写真撮影処理部をさらに備え、
前記制御部は、前記写真撮影処理部の要求に応じて前記撮像画像を生成するために前記カメラを制御する公開APIと、前記読取部の要求に応じて前記撮像画像を生成するために前記カメラを制御する非公開APIのいずれか一方を介して前記カメラを制御し、
前記第1モードにおいては、前記公開APIを介して前記カメラの制御および前記非公開APIを介した前記カメラの制御の両方を許可し、
前記第2モードにおいては、前記非公開APIを介した前記カメラの制御を許可する一方、前記公開APIを介した前記カメラの制御を禁止する請求項1に記載の携帯情報端末。
【請求項7】
通信回線を通じて通信を行う電話通信部をさらに備え、
前記制御部は、前記モード選択部の前記第2モードの選択時には、登録された電話番号の電話端末との前記電話通信部による音声通話を許可する一方、登録されていない電話番号の電話端末との前記電話通信部による音声通話を禁止する請求項1に記載の携帯情報端末。
【請求項8】
前記制御部は、前記モード選択部の前記第2モードの選択時には、前記電話通信部による音声通話の録音を禁止する請求項7に記載の携帯情報端末。
【請求項9】
インターネットを通じて通信を行うインターネット通信部をさらに備え、
前記制御部は、前記モード選択部の前記第2モードの選択時には、前記インターネット通信部によるインターネットへの接続を禁止する請求項1に記載の携帯情報端末。
【請求項10】
前記複数のモードは、前記カメラにより生成された前記画像処理が実行される前記撮像画像を前記第2記憶部に記憶する一方で、前記カメラにより生成された写真画像を前記第2記憶部に記憶することなく前記第1記憶部から削除し、または前記第2記憶部に記憶された前記写真画像を前記第2記憶部から強制的に削除する第3モードをさらに含む請求項1に記載の携帯情報端末。
(【請求項11】以降は省略されています)
発明の詳細な説明
【技術分野】
【0001】
この発明は、ワークに付されたコードを読み取る技術に関する。
続きを表示(約 3,600 文字)
【背景技術】
【0002】
特許文献1には、バーコードやQRコード(登録商標)といったコードを読み取る情報読取装置が開示されている。この情報読取装置は、筐体の上端に設けられたカメラ部によって画像を取得して、画像に含まれるコードを復号することで、コードを読み取る。
【先行技術文献】
【特許文献】
【0003】
特開2022-144178号公報
【発明の概要】
【発明が解決しようとする課題】
【0004】
ところで、スマートフォンに代表されるような携帯情報端末によって上記のようなコードの読み取りや、OCR(Optical Character Recognition/Reader)といった画像処理を簡便に行いたいというニーズがある。これに対して、携帯情報端末に搭載されるカメラを画像処理対象の撮像に使用することで、かかるニーズに応え得る。ただし、このカメラは、人物や風景といった写真の撮影にも使用できるものであり、カメラで撮像された画像には画像処理対象以外の情報も含まれるおそれがある。そのため、機密情報を扱うエリアでは、このような携帯情報端末に搭載されたカメラを画像処理対象の撮像に使用することは難しい事情があった。
【0005】
この発明は上記課題に鑑みなされたものであり、携帯情報端末に搭載されるカメラを画像処理対象の撮像に使用するにあたってカメラで撮像された画像の外部漏洩を防止可能とする技術の提供を目的とする。
【課題を解決するための手段】
【0006】
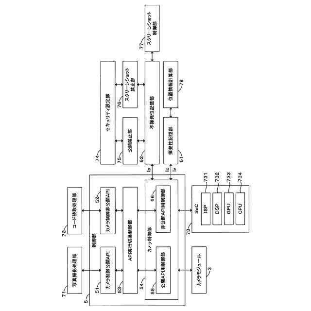
本発明に係る携帯情報端末は、ワークを撮像して撮像画像を生成するカメラと、撮像画像に基づいて画像処理を実行して、ワークに含まれる情報を取得する読取部と、撮像画像を一時的に記憶する揮発性の第1記憶部と、画像処理の設定を記憶するとともに、撮像画像の記憶が可能な不揮発性の第2記憶部と、カメラに撮像画像を生成させて第1記憶部に記憶させ、記憶された当該撮像画像に基づいて読取部に画像処理を実行させる制御部と、カメラにより生成された撮像画像を第2記憶部に記憶する第1モードと、カメラにより生成された撮像画像を第2記憶部に記憶することなく第1記憶部から削除し、または第2記憶部に記憶された撮像画像を第2記憶部から強制的に削除する第2モードとのいずれかを選択するモード選択部と、を備える。
【0007】
本発明に係る撮像画像管理方法は、カメラがワークを撮像して生成した撮像画像の第1記憶部あるいは第2記憶部による記憶を管理する撮像画像管理方法であって、カメラにより生成された撮像画像を第2記憶部に記憶する第1モードと、カメラにより生成された撮像画像を第2記憶部に記憶することなく第1記憶部から削除し、または第2記憶部に記憶された撮像画像を第2記憶部から強制的に削除する第2モードとのいずれかを選択する工程と、カメラに撮像画像を生成させて第1記憶部に記憶させ、記憶された当該撮像画像に基づいて画像処理を実行してワークに含まれる情報を取得する工程とを備え、第1記憶部は、撮像画像を一時的に記憶する揮発性の記憶部であり、第2記憶部は、画像処理の設定を記憶するとともに、撮像画像の記憶が可能な不揮発性の記憶部である。
【0008】
このように構成された本発明(携帯情報端末および撮像画像管理方法)では、撮像画像を記憶できる記憶部として揮発性の第1記憶部と不揮発性の第2記憶部とが用意されている。そして、画像処理には、これらのうち第1記憶部が用いられる。つまり、カメラが生成した撮像画像は第1記憶部に記憶され、記憶された当該撮像画像に基づいて読取部が画像処理を実行する。こうして、携帯端末情報のカメラを用いて画像処理対象(ワーク)が撮像されて、画像処理が実行される。また、カメラにより生成された撮像画像を記憶するモードとして第1モードおよび第2モードが設けられている。第1モードは、カメラにより生成された撮像画像を第2記憶部に記憶する。第2モードは、カメラにより生成された撮像画像を第2記憶部に記憶することなく第1記憶部から削除し、または第2記憶部に記憶された撮像画像を第2記憶部から強制的に削除する。したがって、第2モードを選択することで、カメラにより生成された撮像画像は削除されるため、外部に漏洩することがない。こうして、携帯情報端末に搭載されるカメラを画像処理対象の撮像に使用するにあたってカメラで撮像された画像の外部漏洩が防止可能となっている。
【発明の効果】
【0009】
以上のように、本発明によれば、携帯情報端末に搭載されるカメラを画像処理対象の撮像に使用するにあたってカメラで撮像された画像の外部漏洩を防止することが可能となっている。
【図面の簡単な説明】
【0010】
本発明に係る携帯情報端末の外観構成を示す正面図。
図1Aの携帯情報端末の外観構成を示す背面図。
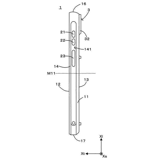
図1Aの携帯情報端末の外観構成を示す側面図。
図1Aの携帯情報端末の外観構成を示す部分斜視図。
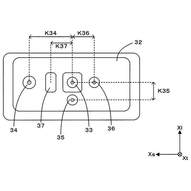
携帯情報端末のリアカメラユニットにおけるレイアウトを示す背面図。
図1Aの携帯情報端末のリアカメラユニットの動作を模式的に示す側面図。
図1Aの携帯情報端末が備える電気的構成を示すブロック図。
図1Aの携帯情報端末が備える電気的構成を示すブロック図。
図1Aの携帯情報端末が備える電気的構成を示すブロック図。
ユーザアプリケーション画面の一例を示す図。
イメージビューウィンドウの一例を示す図。
イメージビューウィンドウの一例を示す図。
ユーザアプリケーション画面とイメージビューウィンドウとの表示態様の一例を示す図。
バーチャルエイマによる位置合わせの様子を模式的に示す図。
エイマ光による位置合わせの様子を模式的に示す図。
サービス部が実行する複数コード読取モードの一例を示すフローチャート。
図5Aの複数コード読取モードに応じてユーザアプリケーションが実行する登録要否判定の一例を示すフローチャート。
図5Aの複数コード読取モードで実行される動作を模式的に示す図。
携帯情報端末によって実行されるコード読取の一例を示すフローチャート。
図6Aのコード読取で実行される単数コード読取モードの一例を示すフローチャート。
図6Aの動作で実行される複数コード読取モードの一例を示すフローチャート。
図6Aのコード読取で実行されるデータ保存処理の一例を示すフローチャート。
スクリーンショット制御の一例を示すフローチャート。
コード読取条件制御の一例を示すフローチャート。
図7Aのコード読取条件制御で実行される動作を模式的に示す図。
図7Aのコード読取条件制御で実行される動作を模式的に示す図。
図7Aのコード読取条件制御で実行される動作を模式的に示す図。
アタッチメントの例を示す背面図。
アタッチメントの例を示す背面図。
アタッチメントの例を示す背面図。
アタッチメントの例を示す背面図。
アタッチメントの例を示す背面図。
アタッチメントの種類を判定する携帯情報端末の電気的構成を示すブロック図。
セキュリティモードの設定方法の変形例を示すフローチャート。
リアカメラユニットにおけるレイアウトの変形例を示す背面図。
リアカメラユニットにおけるレイアウトの変形例を示す背面図。
リアカメラユニットにおけるレイアウトの変形例を示す背面図。
リアカメラユニットにおけるレイアウトの変形例を示す背面図。
ユーザアプリケーション画面とイメージビューウィンドウとの表示態様の第1変形例を示す図。
ユーザアプリケーション画面とイメージビューウィンドウとの表示態様の第1変形例を示す図。
ユーザアプリケーション画面とイメージビューウィンドウとの表示態様の第2変形例を示す図。
ユーザアプリケーション画面とイメージビューウィンドウとの表示態様の第2変形例を示す図。
イメージビューウィンドウの表示制御の第1変形例を示すフローチャート。
イメージビューウィンドウの表示制御の第2変形例を示すフローチャート。
ユーザアプリケーションによる読取データの登録管理の一例を示すフローチャート。
【発明を実施するための形態】
(【0011】以降は省略されています)
この特許をJ-PlatPat(特許庁公式サイト)で参照する
関連特許
個人
店内配信予約システム
2か月前
サクサ株式会社
中継装置
2か月前
WHISMR合同会社
収音装置
25日前
キヤノン株式会社
撮像装置
1か月前
キヤノン株式会社
撮像装置
3か月前
キヤノン株式会社
電子機器
2か月前
アイホン株式会社
電気機器
19日前
日本精機株式会社
画像投映システム
3か月前
ヤマハ株式会社
信号処理装置
3か月前
株式会社リコー
画像形成装置
1か月前
株式会社リコー
画像形成装置
1か月前
株式会社リコー
画像形成装置
1か月前
個人
ワイヤレスイヤホン対応耳掛け
17日前
キヤノン電子株式会社
モバイル装置
2か月前
キヤノン電子株式会社
画像読取装置
26日前
キヤノン株式会社
撮像システム
19日前
株式会社ニコン
撮像装置
2か月前
ブラザー工業株式会社
読取装置
1か月前
沖電気工業株式会社
画像形成装置
7日前
有限会社フィデリックス
マイクロフォン
3日前
パテントフレア株式会社
超高速電波通信
1か月前
国立大学法人電気通信大学
小型光学装置
1か月前
パテントフレア株式会社
水中電波通信法
2か月前
キヤノン電子株式会社
シート材搬送装置
1か月前
株式会社JVCケンウッド
通信システム
3日前
DXO株式会社
情報処理システム
2か月前
株式会社松平商会
携帯機器カバー
28日前
株式会社小糸製作所
画像照射装置
1か月前
大日本印刷株式会社
写真撮影装置
18日前
株式会社オーディオテクニカ
受光器
2か月前
株式会社大林組
監視システム
1か月前
株式会社JVCケンウッド
スピーカ
26日前
日本無線株式会社
無線通信システム
1か月前
日本無線株式会社
無線通信システム
28日前
日本無線株式会社
無線通信システム
1か月前
個人
外部ヘッダ変換通信装置および通信網
3か月前
続きを見る
他の特許を見る