TOP
|
特許
|
意匠
|
商標
特許ウォッチ
Twitter
他の特許を見る
10個以上の画像は省略されています。
公開番号
2025130331
公報種別
公開特許公報(A)
公開日
2025-09-08
出願番号
2024027438
出願日
2024-02-27
発明の名称
駐車場管理システム、駐車場管理方法、及びプログラム
出願人
アマノ株式会社
代理人
弁理士法人南青山国際特許事務所
主分類
G07B
15/00 20110101AFI20250901BHJP(チェック装置)
要約
【課題】駐車場を遠隔で管理するための運用コストを抑制することを可能とする駐車場管理システム、駐車場管理方法、及びプログラムを提供すること。
【解決手段】本駐車場管理システムでは、駐車場管理装置により、駐車場が管理される。発券装置により、駐車場を利用する利用者に、利用者の車両の入場日時と、駐車場管理装置による駐車場の管理に用いられる駐車場情報とを含む駐車券情報が格納されたコード画像が表示された駐車券が発行される。精算装置により、駐車券に表示されたコード画像を読み取った場合に、コード画像に格納された入場日時に基づいて、駐車料金の精算が実行される。また駐車場管理システムは、利用者のコード画像を読み取る機能を有する携帯端末によりコード画像が読み取られた場合に、携帯端末から駐車場管理装置へ、コード画像に格納された駐車券情報が送信されるように構成されている。
【選択図】図9
特許請求の範囲
【請求項1】
駐車場を管理する駐車場管理装置と、
前記駐車場を利用する利用者に、前記利用者の車両の入場日時と、前記駐車場管理装置による前記駐車場の管理に用いられる前記駐車場に関する駐車場情報とを含む駐車券情報が格納されたコード画像が表示された駐車券を発行する発券装置と、
前記コード画像を読み取る機能を有し、前記駐車券に表示された前記コード画像を読み取った場合に、前記コード画像に格納された前記入場日時に基づいて、駐車料金の精算を実行する精算装置と
を具備し、
前記利用者の前記コード画像を読み取る機能を有する携帯端末により前記コード画像が読み取られた場合に、前記携帯端末から前記駐車場管理装置へ、前記コード画像に格納された前記駐車券情報が送信されるように構成された
駐車場管理システム。
続きを表示(約 1,400 文字)
【請求項2】
請求項1に記載の駐車場管理システムであって、
前記駐車場情報は、前記駐車券の発行状態に関する情報、売り上げ金額の情報、釣銭に関する情報、料金設定に関する情報、前記駐車場に配置された装置の状態に関する情報、及び無効駐車券に関する情報の少なくとも1つを含む
駐車場管理システム。
【請求項3】
請求項1又は2に記載の駐車場管理システムであって、
前記駐車場管理装置は、前記コード画像に格納された前記駐車券情報を前記駐車場管理装置へ送信した前記携帯端末に、前記駐車場を管理するための管理情報が追加された前記駐車券情報が格納された管理側コード画像を送信する
駐車場管理システム。
【請求項4】
請求項3に記載の駐車場管理システムであって、
前記精算装置は、前記携帯端末により表示された前記管理側コード画像を読み取った場合に、前記管理側コード画像に格納された前記管理情報に基づいて前記駐車場の管理に関する処理を実行する
駐車場管理システム。
【請求項5】
請求項4に記載の駐車場管理システムであって、
前記管理情報は、料金設定の変更に関する情報、前記駐車場に配置された装置の設定変更に関する情報、前記駐車場に配置された装置の更新プログラムの情報、及び前記駐車場と提携する施設に関する情報の少なくとも1つを含む
駐車場管理システム。
【請求項6】
請求項3に記載の駐車場管理システムであって、
前記駐車場情報は、前記精算装置による前記管理側コード画像に格納された前記管理情報の読み取り状況に関する情報を含む
駐車場管理システム。
【請求項7】
請求項3に記載の駐車場管理システムであって、
前記駐車場管理装置は、前記携帯端末に、前記利用者による前記駐車料金の精算状況に関する情報が追加された前記駐車券情報が格納された前記管理側コード画像を送信する
駐車場管理システム。
【請求項8】
請求項7に記載の駐車場管理システムであって、
前記精算装置は、前記携帯端末により表示された前記管理側コード画像を読み取った場合に、前記管理側コード画像に格納された前記精算状況に関する情報に基づいて、前記駐車料金の精算を実行する
駐車場管理システム。
【請求項9】
請求項7に記載の駐車場管理システムであって、
前記駐車場管理装置は、前記携帯端末を介して入力される精算要求に基づいて前記駐車料金の精算を実行し、前記駐車料金の精算が完了した旨の情報が追加された前記駐車券情報が格納された前記管理側コード画像を前記携帯端末に送信する
駐車場管理システム。
【請求項10】
請求項3に記載の駐車場管理システムであって、さらに、
前記駐車場と提携する施設の前記コード画像を読み取る機能を有する店舗端末を具備し、
前記店舗端末は、前記コード画像又は前記管理側コード画像を読み取った場合に、前記利用者の買物に関する買物情報を、前記コード画像又は前記管理側コード画像に格納された前記駐車券情報に関連付けて、前記駐車場管理装置に送信し、
前記駐車場管理装置は、前記携帯端末に、前記買物情報が追加された前記駐車券情報が格納された前記管理側コード画像を送信する
駐車場管理システム。
(【請求項11】以降は省略されています)
発明の詳細な説明
【技術分野】
【0001】
本発明は、駐車場管理システム、駐車場管理方法、及びプログラムに関する。
続きを表示(約 1,500 文字)
【背景技術】
【0002】
特許文献1に記載の駐車場の精算システムでは、駐車場の出入り口ゲートにおいて、発券機及び精算機に駐車場の属性を表す2次元コードが属性標識として表示される。利用者は入場時及び出場時に、自身のスマートフォンを用いて当該属性標識を撮影する。撮影された属性情報は、決済運営会社のサーバに送信され、入場時及び出場時におけるゲートの開閉制御や駐車料金の決済が実行される。
【0003】
特許文献2に記載の駐車場の精算システムでは、出場口に配置された精算装置にて精算が行われる際には、精算装置から支払い要求が、利用者の携帯端末に出力される(例えば2次元コードの表示や近距離無線通信等が実行される)。支払い要求を取得した利用者の携帯端末は、通信回線を介して、決済要求を決済装置に送信する。決済要求を取得した決済装置は、決済処理を実行し、通信回線を介して決済完了通知を利用者の携帯端末に送信する。決済完了通知は、携帯端末から精算装置に出力され、出場口のゲートが開かれる。
【先行技術文献】
【特許文献】
【0004】
特開2019-40502号公報
特開2018-116338号公報
【発明の概要】
【発明が解決しようとする課題】
【0005】
駐車場を遠隔で管理するシステムにおいて、運用コストを抑制することが可能な技術が求められている。
【0006】
以上のような事情に鑑み、本発明の目的は、駐車場を遠隔で管理するための運用コストを抑制することを可能とする駐車場管理システム、駐車場管理方法、及びプログラムを提供することにある。
【課題を解決するための手段】
【0007】
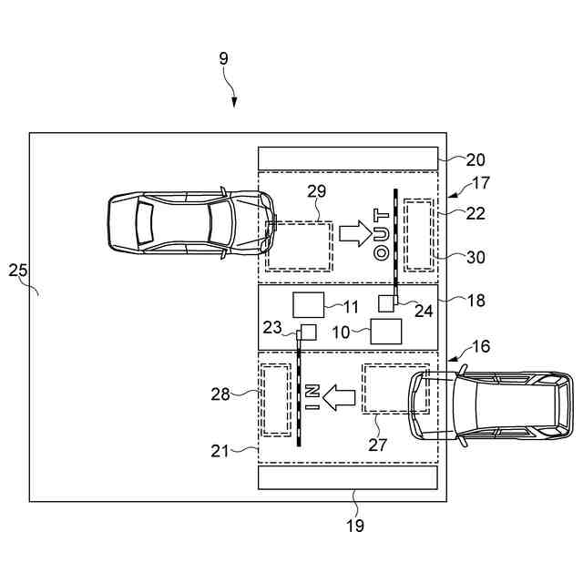
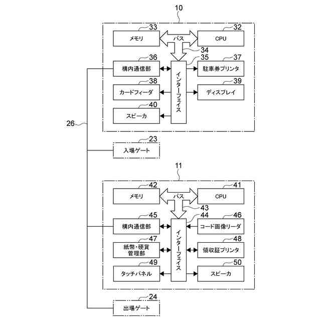
上記目的を達成するため、本発明の一形態に係る駐車場管理システムは、駐車場管理装置と、発券装置と、精算装置とを具備する。
前記駐車場管理装置は、駐車場を管理する。
前記発券装置は、前記駐車場を利用する利用者に、前記利用者の車両の入場日時と、前記駐車場管理装置による前記駐車場の管理に用いられる前記駐車場に関する駐車場情報とを含む駐車券情報が格納されたコード画像が表示された駐車券を発行する。
前記精算装置は、前記コード画像を読み取る機能を有し、前記駐車券に表示された前記コード画像を読み取った場合に、前記コード画像に格納された前記入場日時に基づいて、駐車料金の精算を実行する。
前記駐車場管理システムは、前記利用者の前記コード画像を読み取る機能を有する携帯端末により前記コード画像が読み取られた場合に、前記携帯端末から前記駐車場管理装置へ、前記コード画像に格納された前記駐車券情報が送信されるように構成されている。
【0008】
前記駐車場情報は、前記駐車券の発行状態に関する情報、売り上げ金額の情報、釣銭に関する情報、料金設定に関する情報、前記駐車場に配置された装置の状態に関する情報、及び無効駐車券に関する情報の少なくとも1つを含んでもよい。
【0009】
前記駐車場管理装置は、前記コード画像に格納された前記駐車券情報を前記駐車場管理装置へ送信した前記携帯端末に、前記駐車場を管理するための管理情報が追加された前記駐車券情報が格納された管理側コード画像を送信してもよい。
【0010】
前記精算装置は、前記携帯端末により表示された前記管理側コード画像を読み取った場合に、前記管理側コード画像に格納された前記管理情報に基づいて前記駐車場の管理に関する処理を実行してもよい。
(【0011】以降は省略されています)
この特許をJ-PlatPat(特許庁公式サイト)で参照する
関連特許
アマノ株式会社
駐車場管理システム、駐車場管理方法、及びプログラム
今日
株式会社イシダ
商品処理装置
6日前
富士電機株式会社
通貨識別装置
2か月前
沖電気工業株式会社
媒体処理装置
1か月前
沖電気工業株式会社
紙幣処理装置
1か月前
沖電気工業株式会社
媒体処理装置
1か月前
沖電気工業株式会社
媒体処理装置
1か月前
株式会社ライト
情報処理装置
1か月前
株式会社ライト
情報処理装置
1か月前
富士電機株式会社
自動販売機
1か月前
株式会社ライト
情報処理装置
2か月前
富士電機株式会社
金銭処理装置
2か月前
株式会社デンソー
車載器
4日前
グローリー株式会社
物品投出装置
28日前
株式会社トイスピリッツ
景品提供システム
1か月前
日本金銭機械株式会社
硬貨処理装置
8日前
日本金銭機械株式会社
硬貨処理装置
8日前
ユニティガードシステム株式会社
入館監視システム
1か月前
沖電気工業株式会社
媒体処理装置
1か月前
沖電気工業株式会社
棒金収納装置
1か月前
沖電気工業株式会社
棒金収納装置
5日前
沖電気工業株式会社
現金処理装置
1か月前
旭精工株式会社
紙葉類処理装置および紙葉類処理方法
18日前
沖電気工業株式会社
現金処理装置及び印字装置
18日前
沖電気工業株式会社
媒体識別装置及び媒体処理装置
1か月前
株式会社東芝
ドア構造
1か月前
独立行政法人 国立印刷局
画像観察装置及び画像観察方法
1か月前
中井銘鈑株式会社
商品見本取付け構造
1か月前
沖電気工業株式会社
硬貨処理装置及び貨幣取扱装置
1か月前
株式会社寺岡精工
施設管理システム
1か月前
グローリー株式会社
紙幣処理方法
2か月前
東芝テック株式会社
会計装置
今日
富士電機株式会社
自動販売機
2か月前
東芝テック株式会社
ゲート装置
2か月前
東芝テック株式会社
ゲート装置
2か月前
富士電機株式会社
硬貨処理装置
1か月前
続きを見る
他の特許を見る