TOP
|
特許
|
意匠
|
商標
特許ウォッチ
Twitter
他の特許を見る
公開番号
2025109375
公報種別
公開特許公報(A)
公開日
2025-07-25
出願番号
2024003222
出願日
2024-01-12
発明の名称
ゲート装置
出願人
東芝テック株式会社
代理人
弁理士法人鈴榮特許綜合事務所
主分類
G07C
9/29 20200101AFI20250717BHJP(チェック装置)
要約
【課題】 2次元コードなどの画像を適正にカメラに翳すことを容易とするように支援する。
【解決手段】 実施形態のゲート装置は、撮影手段、表示手段、判定手段及び形成手段を備える。撮影手段は、撮影範囲を撮影して画像を得る。表示手段は、撮影手段により得られた画像を表示する。判定手段は、撮影手段により得られた画像に基づいて通過許容条件が成立することを判定する。形成手段は、通過許容条件が成立することが判定手段により判定されたことに応じて通過許容状態を形成する。
【選択図】 図3
特許請求の範囲
【請求項1】
撮影範囲を撮影して画像を得る撮影手段と、
前記撮影手段により得られた画像を表示する表示手段と、
前記撮影手段により得られた画像に基づいて通過許容条件が成立することを判定する判定手段と、
通過許容条件が成立することが前記判定手段により判定されたことに応じて通過許容状態を形成する形成手段と、
を具備するゲート装置。
続きを表示(約 550 文字)
【請求項2】
前記撮影手段は、動画像を得て、
前記表示手段は、前記撮影手段により得られた動画像をリアルタイムに表示する、
請求項1に記載のゲート装置。
【請求項3】
前記表示手段は、前記撮影範囲の周囲に設けられる、
請求項1に記載のゲート装置。
【請求項4】
前記表示手段は、前記撮影範囲に対して、通過方向奥側に位置する状態で設けられる、
請求項1に記載のゲート装置。
【請求項5】
前記判定手段は、前記撮影手段により得られた画像に映り込んだ識別情報に基づいて通過者を識別し、当該通過者が通過権限を有する場合に通過許容条件が成立すると判定する、
請求項1に記載のゲート装置。
【請求項6】
通路を形成する筐体をさらに備え、
前記形成手段は、前記通路を閉鎖する状態及び開放する状態を選択的に形成する開閉部材を含み、当該開閉部材を開放する状態とすることで前記通過許容状態を形成し、
前記表示手段は、前記通路の通過者にとって前記開閉部材より手前に設けられ、
前記撮影手段は、前記通路の通過者にとって前記表示手段より手前に設けられている、
請求項5に記載のゲート装置。
発明の詳細な説明
【技術分野】
【0001】
本発明の実施形態は、ゲート装置に関する。
続きを表示(約 2,200 文字)
【背景技術】
【0002】
スマートフォンの画面、あるいは券面に光学的に読み取り可能に形成されている2次元コードなどの画像をカメラにより読み取って入退場を制御するゲート装置は知られている。
このゲート装置を通過しようとする者は、2次元コードなどの画像がカメラにより良好に撮影されるように当該画像を適正にカメラに翳す必要がある。
このような事情から、画像を適正にカメラに翳すことを容易とするように通過者を支援することが望まれていた。
【先行技術文献】
【特許文献】
【0003】
特開2012-155371号公報
【発明の概要】
【発明が解決しようとする課題】
【0004】
本発明が解決しようとする課題は、2次元コードなどの画像を適正にカメラに翳すことを容易とするように通過者を支援できるゲート装置を提供することである。
【課題を解決するための手段】
【0005】
実施形態のゲート装置は、撮影手段、表示手段、判定手段及び形成手段を備える。撮影手段は、撮影範囲を撮影して画像を得る。表示手段は、撮影手段により得られた画像を表示する。判定手段は、撮影手段により得られた画像に基づいて通過許容条件が成立することを判定する。形成手段は、通過許容条件が成立することが判定手段により判定されたことに応じて通過許容状態を形成する。
【図面の簡単な説明】
【0006】
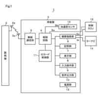
一実施形態に係るゲート装置の外観を表す俯瞰図。
ゲート装置の電気的な構成に関する要部回路構成を表すブロック図。
制御処理のフローチャート。
店外側ディスプレイに表示させる待機画面の一例を表す図。
店内側ディスプレイに表示させる待機画面の一例を表す図。
店外カメラ画像を表している画面の一例を表す図。
案内画面の一例を表す図。
【発明を実施するための形態】
【0007】
以下、実施の形態の一例について図面を用いて説明する。なお、本実施の形態では、店舗への客の入退出を制御するためのゲート装置を例に説明する。
図1は本実施形態に係るゲート装置1の外観を表す俯瞰図である。
ゲート装置1は、第1のユニット100及び第2のユニット200を含む。
【0008】
第1のユニット100は、筐体101、フラップ102、店外側カメラ103及び店外側ディスプレイ104を含む。第2のユニット200は、筐体201及びフラップ202を含む。
筐体101,201は、水平面形状が面取りした長方形をなす直方体の外形を有する。筐体101,201の高さは、客が上面に手を翳すことが容易となる程度の適宜の高さである。そして筐体101,201は、それぞれの水平面形状の長手方向を互いに並行させる状態で互いに対向して配置されている。筐体101,201の離間距離は、その間を客が通過することが可能な程度に定められる。かくして筐体101,201は、互いの間に、客が通過する通路AIAを形成している。
なお、本実施形態においては、店に入る客は、通路AIAを図1中の手前側から奥側に進むこととする。店から出る客は、通路AIAを図1中の奥側から手前側に進むこととする。そこで以下においては、図1中の手前側を店外側と称し、奥側を店内側と称する。
【0009】
フラップ102,202は、通路AIAを遮る状態で筐体101,201から突出している。フラップ102,202は、一部又は全部を筐体101,201内に収容可能であり、収容状態にあっては通路AIAを遮らない。つまりフラップ102,202は、通路AIAを閉鎖する状態及び開放する状態を選択的に形成する開閉部材に相当する。
店外側カメラ103は、筐体101の上面の店外側端部付近に、上方を撮影方向とするように設けられている。店外側カメラ103は、その取り付け位置の上方の空間を撮影範囲として撮影する。そして店外側カメラ103は、撮影により得た画像を表す画像データを生成する。なお、本実施形態においては、店外側カメラ103として、動画像を撮影可能なカメラを用いることとする。しかしながら店外側カメラ103としては、静止画像を撮影するカメラが用いられても構わない。店外側カメラ103は、撮影手段の一例である。
【0010】
店外側ディスプレイ104は、筐体101の上面の店外側端部寄りに設けられている。店外側ディスプレイ104の表示面は、店外側に位置している客により目視容易なように傾けられている。店外側ディスプレイ104は、店外側に位置している客に対する情報提示のための各種の画面を表示する。店外側ディスプレイ104は、表示手段の一例である。
なお、店外側カメラ103及び店外側ディスプレイ104は、第2のユニット200に設けられても構わない。つまり例えば、筐体201の上面の店外側端部付近に上記と同様な位置関係で店外側カメラ103及び店外側ディスプレイ104が設けられても構わない。
(【0011】以降は省略されています)
この特許をJ-PlatPat(特許庁公式サイト)で参照する
関連特許
株式会社イシダ
商品処理装置
2日前
株式会社バンダイ
物品供給装置
2か月前
株式会社バンダイ
物品供給装置
3か月前
株式会社バンダイ
物品供給装置
2か月前
株式会社バンダイ
物品供給装置
2か月前
株式会社バンダイ
物品供給装置
2か月前
株式会社バンダイ
物品供給装置
3か月前
株式会社バンダイ
物品供給装置
3か月前
富士電機株式会社
通貨識別装置
2か月前
沖電気工業株式会社
媒体処理装置
1か月前
沖電気工業株式会社
媒体処理装置
1か月前
沖電気工業株式会社
紙幣処理装置
1か月前
沖電気工業株式会社
媒体処理装置
1か月前
株式会社ライト
情報処理装置
1か月前
富士電機株式会社
自動販売機
1か月前
株式会社ライト
情報処理装置
1か月前
株式会社ライト
情報処理装置
2か月前
富士電機株式会社
金銭処理装置
2か月前
株式会社デンソー
車載器
今日
トヨタ車体株式会社
出入検知装置
3か月前
グローリー株式会社
硬貨処理装置
2か月前
トヨタ車体株式会社
出入検知装置
3か月前
グローリー株式会社
物品投出装置
24日前
株式会社トイスピリッツ
景品提供システム
1か月前
日本金銭機械株式会社
硬貨処理装置
4日前
日本金銭機械株式会社
硬貨処理装置
4日前
トヨタ自動車株式会社
記録装置
3か月前
ユニティガードシステム株式会社
入館監視システム
1か月前
パイオニア株式会社
ドライブレコーダ
3か月前
沖電気工業株式会社
媒体処理装置
3か月前
沖電気工業株式会社
媒体処理装置
3か月前
旭精工株式会社
紙葉類処理装置および紙葉類処理方法
14日前
沖電気工業株式会社
棒金収納装置
1日前
沖電気工業株式会社
媒体処理装置
28日前
沖電気工業株式会社
現金処理装置及び印字装置
14日前
沖電気工業株式会社
現金処理装置
1か月前
続きを見る
他の特許を見る