TOP
|
特許
|
意匠
|
商標
特許ウォッチ
Twitter
他の特許を見る
公開番号
2025130216
公報種別
公開特許公報(A)
公開日
2025-09-08
出願番号
2024027232
出願日
2024-02-27
発明の名称
除去装置及び搬送設備
出願人
日本製鉄株式会社
代理人
アセンド弁理士法人
主分類
B65G
45/10 20060101AFI20250901BHJP(運搬;包装;貯蔵;薄板状または線条材料の取扱い)
要約
【課題】障害物があっても円滑な運転を継続することが可能な、地面上の堆積物を除去するための除去装置を提供する。
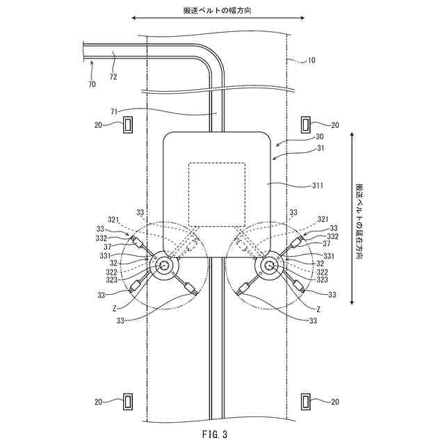
【解決手段】除去装置(30)は、地面(G)上の堆積物(200a)を除去する。除去装置(30)は、移動体(31)と、回転体(32)と、ロープ状部材(33)とを備える。回転体(32)は、移動体(31)に対し、上下方向に延びる回転軸(Z)周りに回転可能に設けられる。ロープ状部材(33)の基端部(331)は、回転体(32)に取り付けられる。ロープ状部材(33)は、回転体(32)の回転に伴って移動体(31)の外側に堆積物(200a)を掻き出すように構成される。
【選択図】図4
特許請求の範囲
【請求項1】
地面上の堆積物を除去するための除去装置であって、
移動体と、
前記移動体に対し、上下方向に延びる回転軸周りに回転可能に設けられた回転体と、
基端部が前記回転体に取り付けられ、前記回転体の回転に伴って前記移動体の外側に前記堆積物を掻き出すように構成されたロープ状部材と、
を備える除去装置。
続きを表示(約 560 文字)
【請求項2】
請求項1に記載の除去装置であって、さらに、
前記ロープ状部材の先端部に取り付けられた錘を備える、除去装置。
【請求項3】
請求項1に記載の除去装置であって、
複数の前記ロープ状部材を備える、除去装置。
【請求項4】
請求項3に記載の除去装置であって、
前記ロープ状部材の各々は、他のロープ状部材と異なる高さで前記基端部が前記回転体に取り付けられる、除去装置。
【請求項5】
搬送設備であって、
地面よりも上方に配置される無端状の搬送ベルトと、
前記搬送ベルトの幅方向の両側において前記搬送ベルトの延在方向に間隔を空けて設けられ、前記搬送ベルトを支持する複数の支持体と、
前記搬送ベルトの下方に配置される、請求項1から4のいずれか1項に記載の除去装置と、
を備え、
前記移動体は、前記幅方向における前記支持体の内側で、前記延在方向に沿って移動自在に構成される、搬送設備。
【請求項6】
請求項5に記載の搬送設備であって、
前記ロープ状部材は、前記回転体の回転時に当該ロープ状部材の先端部が前記幅方向において前記支持体の外側を通過するように構成されている、搬送設備。
発明の詳細な説明
【技術分野】
【0001】
本開示は、地面上の堆積物を除去するための除去装置に関する。また、本開示は、その除去装置を備えた搬送設備に関する。
続きを表示(約 2,000 文字)
【背景技術】
【0002】
従来、種々の施設において、ベルトコンベヤが利用されている。例えば、港湾施設においては、貨物船から陸揚げされた鉄鉱石、石炭等の原料(ばら物)を搬送するために、ベルトコンベヤが利用されている。
【0003】
ベルトコンベヤは、無端状の搬送ベルトを備える。搬送ベルトは、上側をキャリヤ側、下側をリターン側として原料を搬送する。搬送ベルトのリターン側では、搬送ベルト上に残留した粉状の原料が搬送ベルトから剥がれて地面に落下することがある。落下した原料は、搬送ベルトの下方で地面上に堆積する。原料の堆積物が成長した場合、例えば搬送ベルトのリターン側等、ベルトコンベヤの部品が堆積物によって擦られ、ベルトコンベヤが短寿命化する可能性がある。
【0004】
従来、搬送ベルトの下方に落下した原料は、作業者により、スコップ等を用いて搬送ベルトの下方から掻き出され、回収されている。回収された原料は、作業者の手によって、あるいは小型ユンボ等の重機を用い、搬送ベルト上に戻される。
【0005】
通常、搬送ベルトの下方には、スコップ等での原料の回収作業を容易にするために、極力広い空間が設けられる。しかしながら、近年は、安全面から金網等でベルトコンベヤの両側が覆われているため、搬送ベルトの下方の原料をベルトコンベヤの運転中に回収することは困難である。また、搬送ベルトの下方には搬送ベルトの支持体(支柱)が所定の間隔で設けられており、重機による作業が困難であることから、作業者による原料の回収作業が必要である。したがって、ベルトコンベヤが比較的長期間停止する際に集中して人員が投入され、搬送ベルトの下方に落下した原料の処理が行われる。ただし、日程の確定が難しい等の理由により、人員の確保が困難であるという問題がある。
【0006】
これに対して、特許文献1には、搬送ベルトから落下した原料を回収するための回収装置が開示されている。特許文献1の回収装置は、回収ベルトと、複数のガイド板とを含む。回収ベルトは、搬送ベルトの側方において地面上に配置されている。ガイド板は、搬送ベルトのリターン側の下方に配列され、それぞれ振動が発生するように構成されている。ガイド板の各々は、例えば、上方に向かって凸の円弧状に湾曲する。搬送ベルトから落下した原料は、ガイド板の振動によって回収ベルトに導かれる。回収ベルト上の原料は、移載部を介して搬送ベルトに戻される。特許文献1には、作業員の特別な作業を必要とせず、搬送ベルトから回収ベルト上に落下した原料を搬送ベルトに戻すことができると記載されている。
【0007】
例えば、特許文献1の回収装置では、搬送ベルトから落下した原料がガイド板との摩擦によってガイド板上に残留したとしても、原料が堆積し、成長して搬送ベルト等に接触した際には、接触時の振動でガイド板から原料が滑落する。滑落した原料はベルトコンベヤの側方に排出されるため、ベルトコンベヤの両側の領域でのみ、原料の回収作業を行えばよい。しかしながら、ガイド板上に堆積する原料が多すぎたり、原料がガイド板上で固まったりした場合には、自然の流下のみでは原料をベルトコンベヤの側方に導くことが難しい。
【0008】
一方、特許文献2には、搬送ベルトのリターン側の下方に堆積した原料の堆積物を除去するための除去装置が開示されている。特許文献2の除去装置は、移動体と、排出部とを備えている。移動体は、搬送ベルトのリターン側の下方であって搬送ベルトを支持する複数の支持体の内側において、搬送ベルトの延在方向に沿って移動自在に構成されている。排出部は、上下軸心周りに回転自在に設けられた回転体を有している。回転体は、例えば複数の回転ブレードを含む。移動体が搬送ベルトの延在方向に移動する際、搬送ベルトの下方の堆積物は、回転駆動された回転体により、ベルトコンベヤの側方(幅方向の外側)に向かって掻き出される。
【先行技術文献】
【特許文献】
【0009】
特開2020-66492号公報
特開2021-130557号公報
【発明の概要】
【発明が解決しようとする課題】
【0010】
特許文献2の除去装置では、回転体に設けられた回転ブレードにより、堆積物が除去される。しかしながら、石や塊状の堆積物等が地面に埋まった状態で存在している場合、これらが除去装置の障害物となり得る。すなわち、特許文献2の除去装置では、剛体である回転ブレードがこれらの障害物に干渉した際に回転体の回転が停止し、円滑な運転が妨げられる可能性がある。
(【0011】以降は省略されています)
この特許をJ-PlatPat(特許庁公式サイト)で参照する
関連特許
日本製鉄株式会社
鋼材
1か月前
日本製鉄株式会社
鋼材
1か月前
日本製鉄株式会社
鋼材
1か月前
日本製鉄株式会社
車輪
1か月前
日本製鉄株式会社
鋼材
1か月前
日本製鉄株式会社
剪断機
7日前
日本製鉄株式会社
ボルト
7日前
日本製鉄株式会社
床構造
7日前
日本製鉄株式会社
ボルト
1か月前
日本製鉄株式会社
床構造
7日前
日本製鉄株式会社
筒型構造
1か月前
日本製鉄株式会社
管理装置
28日前
日本製鉄株式会社
構造部材
17日前
日本製鉄株式会社
耐摩耗鋼
1か月前
日本製鉄株式会社
リクレーマ
28日前
日本製鉄株式会社
耐火構造物
19日前
日本製鉄株式会社
耐火構造物
19日前
日本製鉄株式会社
耐火構造物
19日前
日本製鉄株式会社
高炉操業方法
1か月前
日本製鉄株式会社
鋼の製造方法
1か月前
日本製鉄株式会社
転炉精錬方法
17日前
日本製鉄株式会社
高Ni合金板
28日前
日本製鉄株式会社
高炉の操業方法
27日前
日本製鉄株式会社
高炉の冷却構造
1か月前
日本製鉄株式会社
溶鉄の製造方法
1か月前
日本製鉄株式会社
ステンレス鋼板
1か月前
日本製鉄株式会社
溶鉄の製造方法
2か月前
日本製鉄株式会社
高炉の操業方法
25日前
日本製鉄株式会社
溶鉄の製造方法
2か月前
日本製鉄株式会社
焼結鉱の製造方法
17日前
日本製鉄株式会社
鋼の連続鋳造方法
3日前
日本製鉄株式会社
焼結鉱の製造方法
1か月前
日本製鉄株式会社
焼結鉱の製造方法
25日前
日本製鉄株式会社
スポット溶接継手
25日前
日本製鉄株式会社
金属材の製造方法
3日前
日本製鉄株式会社
合成梁及び床構造
17日前
続きを見る
他の特許を見る