TOP
|
特許
|
意匠
|
商標
特許ウォッチ
Twitter
他の特許を見る
公開番号
2025114455
公報種別
公開特許公報(A)
公開日
2025-08-05
出願番号
2024189829,2024008470
出願日
2024-10-29,2024-01-24
発明の名称
再生装置、再生方法、プログラム、および再生システム
出願人
株式会社ドワンゴ
代理人
個人
,
個人
,
個人
主分類
G10L
21/003 20130101AFI20250729BHJP(楽器;音響)
要約
【課題】再生中のコンテンツの音声の声質を変換する。
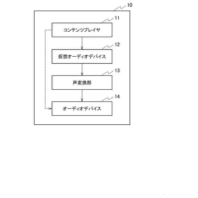
【解決手段】再生装置10は、コンテンツを再生するコンテンツプレイヤー11と、コンテンツプレイヤー11の出力するオーディオ信号を入力する仮想オーディオデバイス12と、仮想オーディオデバイス12からオーディオ信号を入力し、オーディオ信号に含まれる音声の声質を変換する声変換部13と、音声の声質を変換したオーディオ信号を出力するオーディオデバイス14を備える。
【選択図】図1
特許請求の範囲
【請求項1】
コンテンツを再生する再生部と、
前記再生部の出力するオーディオ信号を入力する仮想オーディオデバイスと、
前記仮想オーディオデバイスから前記オーディオ信号を入力し、前記オーディオ信号に含まれる音声の声質を変換する変換部と、
声質を変換した前記音声を出力するオーディオデバイスを備える
再生装置。
続きを表示(約 1,100 文字)
【請求項2】
請求項1に記載の再生装置であって、
前記変換部は、
前記オーディオ信号に含まれる音声と音声以外の背景音とを分離する分離部と、
前記音声の声質を変換する声変換部と、
声質を変換した音声と前記背景音とを合成するミキサーを備える
再生装置。
【請求項3】
請求項1に記載の再生装置であって、
前記変換部は、
前記オーディオ信号に含まれる音声を音声認識してテキストに変換する音声認識部と、
前記テキストの表現を変換するテキスト変換部と、
表現が変換されたテキストを読み上げる音声を合成する声合成部を備える
再生装置。
【請求項4】
請求項1ないし3のいずれかに記載の再生装置であって、
当該再生装置の既定のオーディオ出力とオーディオ入力をそれぞれ前記仮想オーディオデバイスに設定し、前記変換部のオーディオ出力を前記オーディオデバイスに設定する
再生装置。
【請求項5】
再生装置による再生方法であって、
コンテンツを再生してオーディオ信号を仮想オーディオデバイスに入力し、
前記仮想オーディオデバイスから前記オーディオ信号を入力し、前記オーディオ信号に含まれる音声の声質を変換し、
声質を変換した前記音声を出力する
再生方法。
【請求項6】
コンピュータに、
コンテンツを再生してオーディオ信号を仮想オーディオデバイスに入力する処理と、
前記仮想オーディオデバイスから前記オーディオ信号を入力し、前記オーディオ信号に含まれる音声の声質を変換する処理と、
声質を変換した前記音声を出力する処理を実行させる
プログラム。
【請求項7】
再生装置と声質変換サーバとを備える再生システムであって、
前記再生装置は、
コンテンツを再生する再生部と、
前記再生部の出力するオーディオ信号を入力する仮想オーディオデバイスと、
前記仮想オーディオデバイスから前記オーディオ信号を入力し、前記オーディオ信号に含まれる音声の声質を変換する変換部と、
声質を変換した前記音声を出力するオーディオデバイスを備える
再生システム。
【請求項8】
請求項7に記載の再生システムであって、
前記変換部は、前記オーディオ信号を前記声質変換サーバへ送信し、声質が変換されたオーディオ信号を受信する
再生システム。
発明の詳細な説明
【技術分野】
【0001】
本開示は、再生装置、再生方法、プログラム、および再生システムに関する。
続きを表示(約 1,300 文字)
【背景技術】
【0002】
近年、リアルタイムで声質を変換する声質変換技術が発達している。非特許文献1の技術は、自分の声を別のキャラクターの音声にリアルタイムで変換することができる。特許文献1の技術は、ささやき声、裏声、および怒り声などの声の特徴を反映させて声質を変換することができる。
【先行技術文献】
【特許文献】
【0003】
特許7179216号
【非特許文献】
【0004】
“Voice Changer”、[online]、株式会社CoeFont、インターネット〈 URL:https://vc.coefont.cloud/ 〉
【発明の概要】
【発明が解決しようとする課題】
【0005】
従来の声質変換アプリケーションは、マイクから入力した自分の声を深層学習モデルに入力して自分の声の声質を変換するものであり、携帯端末やパーソナルコンピュータなどで再生中のコンテンツ(動画やラジオ)の音声の声質を変換することを想定していない。そもそも、コンテンツの音声の声質をリアルタイムで変換するという課題は認識されていない。
【0006】
例えば講義を録音または録画したコンテンツなど、コンテンツの内容には興味があるものの視聴する気が起きない状況を改善するためには、コンテンツの音声の声質をユーザの好みに合わせて変換することが効果的であると考えられる。あるいは、コンテンツの音声の声質を変換することで、コンテンツの新たな面白さを発見できることもある。
【0007】
本開示は、上記に鑑みてなされたものであり、再生中のコンテンツの音声の声質を変換することを目的とする。
【課題を解決するための手段】
【0008】
本開示の一態様の再生装置は、コンテンツを再生する再生部と、前記再生部の出力するオーディオ信号を入力する仮想オーディオデバイスと、前記仮想オーディオデバイスから前記オーディオ信号を入力し、前記オーディオ信号に含まれる音声の声質を変換する変換部と、声質を変換した前記音声を出力するオーディオデバイスを備える。
【発明の効果】
【0009】
本開示によれば、再生中のコンテンツの音声の声質を変換することができる。
【図面の簡単な説明】
【0010】
図1は、第1の実施形態の再生装置の構成の一例を示す図である。
図2は、第1の実施形態の再生装置の処理の流れの一例を示すフローチャートである。
図3は、再生装置のサウンド設定画面の一例を示す図である。
図4は、第2の実施形態の再生装置の構成の一例を示す図である。
図5は、第2の実施形態の再生装置の処理の流れの一例を示すフローチャートである。
図6は、第3の実施形態の再生装置の構成の一例を示す図である。
図7は、第3の実施形態の再生装置の処理の流れの一例を示すフローチャートである。
【発明を実施するための形態】
(【0011】以降は省略されています)
この特許をJ-PlatPat(特許庁公式サイト)で参照する
関連特許
株式会社ドワンゴ
再生装置、再生方法、プログラム、および再生システム
1か月前
株式会社ドワンゴ
仮想空間制御システム、仮想空間制御方法、およびプログラム
20日前
個人
破裂爆発波動体感バルーン
1か月前
株式会社白鳩
音漏れ抑制マスク
28日前
株式会社白鳩
音漏れ抑制マスク
28日前
株式会社豊田中央研究所
吸音構造体
2日前
株式会社イシダ
商品処理装置
1か月前
株式会社東芝
吸音装置
今日
日本音響エンジニアリング株式会社
騒音低減装置
1か月前
川崎重工業株式会社
表面材
1か月前
ヤマハ株式会社
リード
1か月前
株式会社フジタ
環境音快音化システム
1か月前
株式会社イノアックコーポレーション
吸音材
21日前
個人
歌唱技術表示装置および歌唱技術表示方法
1か月前
NOK株式会社
吸音構造体
1か月前
カシオ計算機株式会社
減音器具
今日
株式会社第一興商
カラオケ装置
22日前
株式会社第一興商
カラオケ装置
2日前
株式会社第一興商
カラオケ装置
1か月前
カシオ計算機株式会社
減音器具
今日
KDDI株式会社
認証装置、認証方法及び認証プログラム
21日前
株式会社第一興商
カラオケ装置
1か月前
株式会社エクシング
端末装置、及び、端末装置用プログラム
1か月前
中原大學
能動騒音除去機能を持つレンジフード
2日前
シャープ株式会社
電子機器および電子機器の制御方法
1か月前
個人
楽曲検索装置、楽曲検索方法、及び楽曲検索プログラム
1か月前
トヨタ自動車株式会社
防音カバー
1か月前
マツダ株式会社
内燃機関の吸気音増幅装置
1か月前
トヨタ自動車株式会社
電気自動車
22日前
株式会社麗光
防音積層体とその製造に用いる遮音膜、および遮音膜シート
1か月前
株式会社JVCケンウッド
クリッピング装置及びクリッピング方法
2日前
富士通株式会社
情報処理プログラム、情報処理方法及び情報処理装置
1か月前
株式会社東芝
吸音装置及び音響メタマテリアル
今日
宮澤フル-ト製造株式会社
タンポ及び木管楽器
1か月前
ローランド株式会社
打楽器および打面の形成方法
29日前
カシオ計算機株式会社
制御装置、方法およびプログラム
2日前
続きを見る
他の特許を見る