TOP
|
特許
|
意匠
|
商標
特許ウォッチ
Twitter
他の特許を見る
10個以上の画像は省略されています。
公開番号
2025121174
公報種別
公開特許公報(A)
公開日
2025-08-19
出願番号
2024016459
出願日
2024-02-06
発明の名称
内燃機関の吸気音増幅装置
出願人
マツダ株式会社
代理人
弁理士法人前田特許事務所
主分類
G10K
11/02 20060101AFI20250812BHJP(楽器;音響)
要約
【課題】吸気音を増幅させる周波数帯を拡大させる。
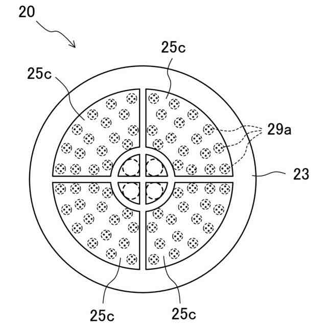
【解決手段】吸気通路2からの吸気脈動により振動する振動体21と、振動体21に対して分岐管10の吸気通路2側の部分に配置された第1筐体22と、振動体21に対して分岐管10の車室R側の部分に配置された第2筐体26と、を備える。振動体21は、第1筐体22と第2筐体26とにより挟まれており、第1筐体22及び第2筐体26の一方は、振動体21を複数の領域に区画する格子25a,25bを有する格子プレート25を含み,第1筐体22及び第2筐体26の他方は、格子プレート25により区画された領域の最小の面積よりも小さい面積の小孔29aを複数有する孔プレート29を含む。
【選択図】図4
特許請求の範囲
【請求項1】
車両に搭載された内燃機関の吸気通路から分岐しかつ吸気音を車室に伝達する分岐管に設けられた内燃機関の吸気音増幅装置であって、
前記吸気通路からの吸気脈動により振動するプレート状の振動体と、
前記振動体に対して前記分岐管の前記吸気通路側の部分に配置された第1筐体と、
前記振動体に対して前記分岐管の前記車室側の部分に配置された第2筐体と、を備え、
前記振動体は、前記第1筐体と前記第2筐体とにより挟まれており、
前記第1筐体及び前記第2筐体の一方は、前記振動体の面直方向から見て、該振動体を複数の領域に区画する格子を有する格子プレートを含み、
前記第1筐体及び前記第2筐体の他方は、前記振動体の面直方向から見て、前記格子プレートにより区画された領域の最小の面積よりも小さい面積の孔を複数有する孔プレートを含む内燃機関の吸気音増幅装置。
続きを表示(約 410 文字)
【請求項2】
請求項1に記載の内燃機関の吸気音増幅装置において、
前記格子プレートは、前記第1筐体に設けられ、
前記孔プレートは、前記第2筐体に設けられている内燃機関の吸気音増幅装置。
【請求項3】
請求項1に記載の内燃機関の吸気音増幅装置において、
前記孔プレートの前記孔の数は、前記格子プレートの区画数よりも多い内燃機関の吸気音増幅装置。
【請求項4】
請求項1に記載の内燃機関の吸気音増幅装置において、
前記格子プレートは、相対的に面積の大きい第1区画部と、相対的に面積の小さい第2区画部とを有し、
前記孔の面積は、前記第2区画部の面積よりも小さい内燃機関の吸気音増幅装置。
【請求項5】
請求項1~4のいずれか1つに記載の内燃機関の吸気音増幅装置において、
前記振動体は、ゴムである内燃機関の吸気音増幅装置。
発明の詳細な説明
【技術分野】
【0001】
ここに開示された技術は、内燃機関の吸気音増幅装置に関する技術分野に属する。
続きを表示(約 1,600 文字)
【背景技術】
【0002】
従来より、内燃機関の吸気通路で発生した吸気音を、車室内などエンジンルームの外部に伝達する構造が知られている。
【0003】
例えば、特許文献1では、内燃機関の吸気通路から分岐する分岐路と、分岐路の車室側端部に接続され該分岐路に連通する導入管と、該導入管の車室側端部に設けられ分岐路及び導入管内を伝わる吸気音の吸気脈動によって振動する振動体と、導入管との間に空間部が形成されるように導入管を囲む筐体とを有したサウンドクリエータと、サウンドクリエータの筐体に連通して振動体の振動を車室内に伝達する伝達路と、を備える吸気音導入装置が開示されている。特許文献1では、振動体の振動を音源とする音振動のうち特定の周波数の振動が筐体の気柱共鳴により増幅されて、車室内に伝達される。
【先行技術文献】
【特許文献】
【0004】
特許第06216527号公報
【発明の概要】
【発明が解決しようとする課題】
【0005】
ところで、吸気音を車室に伝達する目的としては、スポーティ感を演出して、ドライバの気分を向上させる側面以外に、ドライバの操作に対するフィードバックを与える運転補助の側面がある。吸気脈動の周波数は、内燃機関の回転数に応じて変化するため、特に運転補助の観点からは、低周波から高周波まで広い範囲で吸気音を増幅させることが求められる。
【0006】
ここに開示された技術は斯かる点に鑑みてなされたものであり、その目的とするところは、吸気音増幅装置において、吸気音を増幅させる周波数帯を拡大させることにある。
【課題を解決するための手段】
【0007】
前記課題を解決するために、ここに開示された技術の第1の態様は、車両に搭載された内燃機関の吸気通路から分岐し、吸気音を車室に伝達する分岐管に設けられた内燃機関の吸気音増幅装置を対象として、前記吸気通路からの吸気脈動により振動するプレート状の振動体と、前記振動体に対して前記分岐管の前記吸気通路側の部分に配置された第1筐体と、前記振動体に対して前記分岐管の前記車室側の部分に配置された第2筐体と、を備え、前記振動体は、前記第1筐体と前記第2筐体とにより挟まれており、前記第1筐体及び前記第2筐体の一方は、前記振動体の面直方向から見て、該振動体を複数の領域に区画する格子を有する格子プレートを含み、前記第1筐体及び前記第2筐体の他方は、前記振動体の面直方向から見て、前記格子プレートにより区画された最小の面積よりも小さい面積の孔を複数有する孔プレートを含む。
【0008】
第1の態様では、吸気通路には内燃機関の回転数に応じた周波数の吸気音の吸気脈動が発生する。吸気脈動は、分岐管により振動体に伝達される。振動体は、吸気脈動により振動する。振動体のうち格子プレートにより区画された部分は、比較的周波数が低い低周波数帯の吸気脈動と共鳴して、低周波数帯の吸気音を増幅させる。一方で、振動体のうち孔に位置する部分は、比較的周波数が高い高周波数帯の吸気脈動と共鳴して、高周波数帯の吸気音を増幅させる。これにより、吸気音を増幅させる周波数帯を拡大できる。
【0009】
第2の態様は、第1の態様において、前記格子プレートは、前記第1筐体に設けられ、前記孔プレートは、前記第2筐体に設けられている。
【0010】
第2の態様では、格子プレートの区画面積は、孔の面積よりも大きいため、格子プレートが相対的に上流側に位置することで、低周波数帯の音波が、振動体のうち格子プレートにより区画された部分全体に直接作用する。これにより、低周波数帯の吸気音を効率良く増幅できる。
(【0011】以降は省略されています)
この特許をJ-PlatPat(特許庁公式サイト)で参照する
関連特許
マツダ株式会社
エンジン
1日前
マツダ株式会社
二次電池
21日前
マツダ株式会社
二次電池
今日
マツダ株式会社
二次電池
今日
マツダ株式会社
車載機器
今日
マツダ株式会社
運転支援装置
今日
マツダ株式会社
運転支援装置
今日
マツダ株式会社
運転支援装置
今日
マツダ株式会社
排気システム
2日前
マツダ株式会社
排気システム
2日前
マツダ株式会社
排気浄化装置
1か月前
マツダ株式会社
排気浄化装置
1か月前
マツダ株式会社
インバータ装置
1日前
マツダ株式会社
車両用駆動装置
29日前
マツダ株式会社
車両用駆動装置
29日前
マツダ株式会社
車両の前部構造
今日
マツダ株式会社
車両用駆動装置
29日前
マツダ株式会社
インバータ装置
1日前
マツダ株式会社
インバータ装置
1日前
マツダ株式会社
インバータ装置
1日前
マツダ株式会社
車両用駆動装置
29日前
マツダ株式会社
車両用駆動装置
29日前
マツダ株式会社
冷媒循環システム
23日前
マツダ株式会社
冷媒循環システム
23日前
マツダ株式会社
冷媒循環システム
23日前
マツダ株式会社
冷媒循環システム
23日前
マツダ株式会社
冷媒循環システム
23日前
マツダ株式会社
燃料改質システム
1か月前
マツダ株式会社
冷媒循環システム
23日前
マツダ株式会社
冷媒循環システム
23日前
マツダ株式会社
冷媒循環システム
23日前
マツダ株式会社
エンジンシステム
1か月前
マツダ株式会社
エンジンシステム
1か月前
マツダ株式会社
バッテリの制御装置
3日前
マツダ株式会社
車両の下部車体構造
7日前
マツダ株式会社
車両の下部車体構造
7日前
続きを見る
他の特許を見る