TOP
|
特許
|
意匠
|
商標
特許ウォッチ
Twitter
他の特許を見る
公開番号
2025113033
公報種別
公開特許公報(A)
公開日
2025-08-01
出願番号
2024007651
出願日
2024-01-22
発明の名称
高圧水素ガス配管からの水素ガス漏洩検知システム
出願人
株式会社三井E&S
代理人
個人
,
個人
,
個人
主分類
F17D
5/04 20060101AFI20250725BHJP(ガスまたは液体の貯蔵または分配)
要約
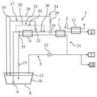
【課題】舶用機関室への水素燃料供給が高圧噴射であっても、舶用機関室内への水素漏洩を防止し、内管からの水素漏洩をいち早く検知できる水素漏洩検知システムを提供すること。
【解決手段】二重管の内管101には高圧の水素ガスが流れ、外管環状部104には窒素ガスが流れる構造であり、外管環状部104の出口は、排気ファン105に接続されており、外管環状部104の窒素ガスの圧力は、内管101の水素ガスの圧力より低圧である状態を維持し、且つ大気圧より高圧である状態を維持するように、排気ファン105によって調整され、外管環状部104の出口側配管に水素漏洩を検知する水素ガスセンサ106を設置する。
【選択図】図3
特許請求の範囲
【請求項1】
高圧の水素ガス燃料を舶用機関へ供給する水素ガス燃料配管のうち、ガス安全機関区域内に位置する前記水素ガス燃料配管を二重管で構成してなる高圧水素ガス配管からの水素ガス漏洩検知システムであって、
前記二重管の内管には高圧の水素ガスが流れ、外管環状部には窒素ガスが流れる構造であり、
前記外管環状部の出口は、排気ファンに接続されており、
前記外管環状部の窒素ガスの圧力は、前記内管の水素ガスの圧力より低圧である状態を維持し、且つ大気圧より高圧である状態を維持するように、前記排気ファンによって調整され、
前記外管環状部の出口側配管に水素漏洩を検知する水素ガスセンサを設置することを特徴とする高圧水素ガス配管からの水素ガス漏洩検知システム。
続きを表示(約 470 文字)
【請求項2】
前記外管環状部の圧力を検知する圧力センサを備え、
前記圧力センサで検知された圧力と、前記ガス安全機関区域の大気圧とを検知して、
前記水素ガスの圧力(P1)、前記窒素ガスの圧力(P2)および前記大気圧(P3)の関係が
(P1)>(P2)>(P3)
となるように、前記排気ファンの吐出圧を調整することを特徴とする請求項1記載の高圧水素ガス配管からの水素ガス漏洩検知システム。
【請求項3】
液化水素タンクと、該液化水素タンクから送られる液化水素を蒸発して水素ガスを得る蒸発器と、前記水素ガスを圧縮して高圧の水素ガスを生成するガスコンプレッサとを備えることを特徴とする請求項1記載の高圧水素ガス配管からの水素ガス漏洩検知システム。
【請求項4】
液化水素タンクと、該液化水素タンクから送られる液化水素を加圧するポンプと、前記加圧された液化水素を蒸発して水素ガスを得る蒸発器とを備えることを特徴とする請求項1記載の高圧水素ガス配管からの水素ガス漏洩検知システム。
発明の詳細な説明
【技術分野】
【0001】
本発明は、水素漏洩検知システムに関し、詳しくは、水素燃料をディーゼルエンジンのような舶用機関に安全に供給できる水素漏洩検知システムに関する。
続きを表示(約 1,700 文字)
【背景技術】
【0002】
特許文献1では、舶用ボイラに可燃ガスを送る管を二重管にして、その環状部に窒素を内管の可燃性ガスより高い圧力で封入することで、可燃性ガスが環状部へ漏洩することを防止するとともに、環状部の圧力を監視して警報を出す仕組みが報告されている。
【0003】
しかしながら、ディーゼルエンジンへの水素燃料供給は、高圧噴射(例えば30MPa)が必要であり、二重管の内管圧力が高圧であるため、環状部をそれ以上に高圧にする必要があるが、高圧にすることは設備が重厚となり、コスト増を招く問題がある。
【0004】
また、特許文献2では、0.1~1MPaの低圧の水素ガス供給ラインの二重管(導管)の環状部に窒素を流して、複数の分岐管の末端に水素センサを配置して水素の漏洩を検知している。しかしながら、この手法では内管の圧力が高圧水素ガス(例えば30MPa)のような場合には、環状部(外管)をそれ以上の高圧にしようとすると、複数の分岐管を設置することは設備的に製造困難である。
【先行技術文献】
【特許文献】
【0005】
特許第4508374号公報
特開2023-148911号公報
【発明の概要】
【発明が解決しようとする課題】
【0006】
そこで、本発明は、上記の問題を解決するものであり、舶用機関室への水素燃料供給が高圧噴射(例えば30MPa)であっても、舶用機関室内への水素漏洩を防止し、内管からの水素漏洩をいち早く検知できる水素漏洩検知システムを提供することを課題とする。
【0007】
さらに本発明の他の課題は、以下の記載によって明らかとなる。
【課題を解決するための手段】
【0008】
上記課題は以下の各発明によって解決される。
【0009】
1.
高圧の水素ガス燃料を舶用機関へ供給する水素ガス燃料配管のうち、ガス安全機関区域内に位置する前記水素ガス燃料配管を二重管で構成してなる高圧水素ガス配管からの水素ガス漏洩検知システムであって、
前記二重管の内管には高圧の水素ガスが流れ、外管環状部には窒素ガスが流れる構造であり、
前記外管環状部の出口は、排気ファンに接続されており、
前記外管環状部の窒素ガスの圧力は、前記内管の水素ガスの圧力より低圧である状態を維持し、且つ大気圧より高圧である状態を維持するように、前記排気ファンによって調整され、
前記外管環状部の出口側配管に水素漏洩を検知する水素ガスセンサを設置することを特徴とする高圧水素ガス配管からの水素ガス漏洩検知システム。
2.
前記外管環状部の圧力を検知する圧力センサを備え、
前記圧力センサで検知された圧力と、前記ガス安全機関区域の大気圧とを検知して、
前記水素ガスの圧力(P1)、前記窒素ガスの圧力(P2)および前記大気圧(P3)の関係が
(P1)>(P2)>(P3)
となるように、前記排気ファンの吐出圧を調整することを特徴とする前記1記載の高圧水素ガス配管からの水素ガス漏洩検知システム。
3.
液化水素タンクと、該液化水素タンクから送られる液化水素を蒸発して水素ガスを得る蒸発器と、前記水素ガスを圧縮して高圧の水素ガスを生成するガスコンプレッサとを備えることを特徴とする前記1記載の高圧水素ガス配管からの水素ガス漏洩検知システム。
4.
液化水素タンクと、該液化水素タンクから送られる液化水素を加圧するポンプと、前記加圧された液化水素を蒸発して水素ガスを得る蒸発器とを備えることを特徴とする前記1記載の高圧水素ガス配管からの水素ガス漏洩検知システム。
【発明の効果】
【0010】
本発明によれば、舶用機関室への水素燃料供給が高圧噴射(例えば30MPa)であっても、舶用機関室内への水素漏洩を防止し、内管からの水素漏洩をいち早く検知できる水素漏洩検知システを提供することができる。
【図面の簡単な説明】
(【0011】以降は省略されています)
この特許をJ-PlatPat(特許庁公式サイト)で参照する
関連特許
川崎重工業株式会社
極低温流体用配管設備
12日前
岩谷産業株式会社
燃料ガス充填設備
21日前
株式会社タツノ
充填ノズル
1か月前
株式会社タツノ
充填ノズル
1か月前
三菱重工業株式会社
ポンプシステム
10日前
三菱自動車工業株式会社
水素ガス供給システム
24日前
JFEエンジニアリング株式会社
液化二酸化炭素冷却システム
1か月前
トヨタ自動車株式会社
ガスタンク
10日前
三浦工業株式会社
水素貯蔵供給装置
6日前
川崎重工業株式会社
液化ガス導入システム
1か月前
トヨタ自動車株式会社
ガス供給装置
1か月前
トヨタ自動車株式会社
ガス利用装置
2か月前
トヨタ自動車株式会社
ガスタンク構造
1か月前
株式会社FTS
圧力容器の製造方法
1か月前
トヨタ自動車株式会社
水素貯蔵装置
18日前
ケーシー カンパニー リミテッド
ガス供給システム及び方法
6日前
株式会社 商船三井
二酸化炭素貯留装置
1か月前
本田技研工業株式会社
タンク配置構造
13日前
日立建機株式会社
水素供給システム
17日前
トヨタ自動車株式会社
ガスタンクの交換方法
24日前
トヨタ自動車株式会社
水素ガスタンクシステム
4日前
トヨタ自動車株式会社
水素タンクのバルブ構造
1か月前
株式会社エス.ケーガス
水素ステーション及び水素ステーションの運転方法
1か月前
大陽日酸株式会社
液化ガス充填システム及び液化ガスの充填方法
11日前
新富士バーナー株式会社
カセット式ガスボンベ用キャップ
1か月前
株式会社IHIプラント
アンモニア受入設備
2か月前
川崎重工業株式会社
極低温用圧縮設備、及びそれを備えるボイルオフガス液化システム
12日前
ジョンウ イーエヌイー カンパニー リミテッド
サポータ構造体を含む極低温液体貯蔵タンク
18日前
三菱重工業株式会社
水素供給システムおよび方法
21日前
ギャズトランスポルト エ テクニギャズ
タンクのコーナ部を組み立てるための方法
1か月前
株式会社SUBARU
水素供給システム及び当該水素供給システムの制御装置
17日前
株式会社SUBARU
水素供給システム及び当該水素供給システムの制御装置
17日前
株式会社神戸製鋼所
移動機械システムおよび移動機械の運用方法
12日前
川崎重工業株式会社
多重殻タンク
1か月前
ギャズトランスポルト エ テクニギャズ
高圧および低圧ガス消費機器のためのガス供給システム
5日前
株式会社東芝
情報処理装置、情報処理方法およびプログラム
2か月前
続きを見る
他の特許を見る