TOP
|
特許
|
意匠
|
商標
特許ウォッチ
Twitter
他の特許を見る
公開番号
2025110162
公報種別
公開特許公報(A)
公開日
2025-07-28
出願番号
2024003942
出願日
2024-01-15
発明の名称
冷凍庫
出願人
東芝ライフスタイル株式会社
代理人
弁理士法人サトー
主分類
F25D
11/00 20060101AFI20250718BHJP(冷凍または冷却;加熱と冷凍との組み合わせシステム;ヒートポンプシステム;氷の製造または貯蔵;気体の液化または固体化)
要約
【課題】コストの増加を抑えつつ、冷却器の冷媒管に対する孔食腐食を抑制できる冷凍庫を提供する。
【解決手段】冷凍庫は、貯蔵室と、冷媒を圧縮する圧縮機と、圧縮機で圧縮された冷媒が流れる冷媒管を有し、貯蔵室を冷却するための冷気を生成する冷却器と、貯蔵室内の温度である貯蔵室温度を検出する貯蔵室温度検出部と、冷却器の温度である冷却器温度を検出する冷却器温度検出部と、貯蔵室温度が冷蔵温度帯の目標温度に達した場合に貯蔵室温度を下げるように圧縮機を制御する制御部と、を備え、制御部は、貯蔵室温度が目標温度に達していない状態で冷却器温度が氷点以下の閾値温度に達した場合に、冷却器温度を下げるように圧縮機を制御する。
【選択図】図4
特許請求の範囲
【請求項1】
貯蔵室と、
冷媒を圧縮する圧縮機と、
前記圧縮機で圧縮された前記冷媒が流れる冷媒管を有し、前記貯蔵室を冷却するための冷気を生成する冷却器と、
前記貯蔵室内の温度である貯蔵室温度を検出する貯蔵室温度検出部と、
前記冷却器の温度である冷却器温度を検出する冷却器温度検出部と、
前記貯蔵室温度が冷蔵温度帯の目標温度に達した場合に前記貯蔵室温度を下げるように前記圧縮機を制御する制御部と、を備え、
前記制御部は、前記貯蔵室温度が前記目標温度に達していない状態で前記冷却器温度が氷点以下の閾値温度に達した場合に、前記冷却器温度を下げるように前記圧縮機を制御する、
冷凍庫。
続きを表示(約 490 文字)
【請求項2】
前記制御部は、前記冷却器温度が前記閾値温度に達した場合に、前記貯蔵室温度が前記目標温度に達するまで前記貯蔵室温度を断続的に上昇させるように前記圧縮機を制御する、
請求項1に記載の冷凍庫。
【請求項3】
前記制御部は、前記冷却器温度が前記閾値温度に達した場合に、前記貯蔵室温度が前記目標温度に達するまで前記圧縮機の運転を断続的に行う又は前記圧縮機の冷媒圧縮能力を変更させる、
請求項1に記載の冷凍庫。
【請求項4】
前記冷却器によって生成される前記冷気を送風する送風機を更に備え、
前記制御部は、前記圧縮機が駆動している期間の少なくとも一部において前記送風機による前記送風を抑制する、
請求項2又は3に記載の冷凍庫。
【請求項5】
前記貯蔵室内を加熱する加熱部を更に備え、
前記制御部は、前記貯蔵室温度が前記目標温度に達していない状態で前記冷却器温度が氷点以下の閾値温度に達した場合に、前記加熱部によって前記貯蔵室内を加熱する、
請求項1に記載の冷凍庫。
発明の詳細な説明
【技術分野】
【0001】
本発明の実施形態は、冷凍庫に関する。
続きを表示(約 1,800 文字)
【背景技術】
【0002】
従来、冷凍サイクルを備える冷蔵庫において、庫内の空気の温度を計測する庫内センサから入力される計測データに基づいて圧縮機及び庫内ファンを制御することで、冷却運転を実行するものが知られている。また、近年は、一つの貯蔵室で構成された家庭用の冷凍庫において、冷蔵温度帯と冷凍温度帯とに切り替えて使用可能なものが市場に流通している。
【先行技術文献】
【特許文献】
【0003】
特開2007-315716号公報
【発明の概要】
【発明が解決しようとする課題】
【0004】
ところで、冷凍サイクルの一部を構成する冷却器において、冷媒を通す冷媒管にはアルミ製のものが広く使用されている。アルミ製の冷媒管は、表面に水が付着すると孔食腐食が発生するリスクがある。孔食腐食を抑制するために、冷媒管の材質を例えば銅製にするあるいは冷媒管の表面を防食塗料で保護することが考えられるが、これらはコストの増加につながるため実現が難しい場合がある。
【0005】
また、庫内温度に基づいて圧縮機の制御が行われる場合、冷却器が設けられた空間の温度がプラス温度帯になることがあり、冷却器の冷媒管に水が付着してしまい、この水によって孔食腐食が促進されてしまうおそれがある。このように、コストの増加を抑えつつ、冷却器の冷媒管に対する孔食腐食を抑制する点において改善の余地があった。
【0006】
そこで、本実施形態は、コストの増加を抑えつつ、冷却器の冷媒管に対する孔食腐食を抑制できる冷凍庫を提供する。
【課題を解決するための手段】
【0007】
実施形態の冷凍庫は、貯蔵室と、冷媒を圧縮する圧縮機と、前記圧縮機で圧縮された前記冷媒が流れる冷媒管を有し、前記貯蔵室を冷却するための冷気を生成する冷却器と、前記貯蔵室内の温度である貯蔵室温度を検出する貯蔵室温度検出部と、前記冷却器の温度である冷却器温度を検出する冷却器温度検出部と、前記貯蔵室温度が冷蔵温度帯の目標温度に達した場合に前記貯蔵室温度を下げるように前記圧縮機を制御する制御部と、を備え、前記制御部は、前記貯蔵室温度が前記目標温度に達していない状態で前記冷却器温度が氷点以下の閾値温度に達した場合に、前記冷却器温度を下げるように前記圧縮機を制御する。
【図面の簡単な説明】
【0008】
第1実施形態による冷凍庫の構成の一例を示す斜視図
第1実施形態による冷凍庫の構成の一例を示す断面図
第1実施形態による冷凍庫の電気的構成の一例を示すブロック図
第1実施形態による冷凍庫について、冷蔵運転において制御部で実行される制御内容の一例を示すタイムチャート
第2実施形態による冷凍庫について、冷蔵運転において制御部で実行される制御内容の一例を示すタイムチャート
第2実施形態による冷凍庫について、冷蔵運転において制御部で実行される制御内容の他の例を示すタイムチャート
第3実施形態による冷凍庫について、冷蔵運転において制御部で実行される制御内容の一例を示すタイムチャート
第3実施形態による冷凍庫について、冷蔵運転において制御部で実行される制御内容の他の例を示すタイムチャート
【発明を実施するための形態】
【0009】
以下、本発明の複数の実施形態について図面を参照しながら説明する。なお、各実施形態において実質的に同一の要素には同一の符号を付し、説明を省略する。
【0010】
(第1実施形態)
まず、第1実施形態について、図1から図4を参照して説明する。
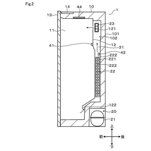
冷凍庫1は、図1及び図2に示すように、前面が開口した縦長矩形箱状の冷凍庫本体10内に一つの貯蔵室を有して構成されている。以下の説明では、冷凍庫本体10の開口側を冷凍庫1の前側とし、開口とは反対側を冷凍庫1の後側とする。また、冷凍庫1を図2の姿勢で床面に設置した場合における重力方向に対する上下方向を、冷凍庫1の上下方向とする。冷凍庫1を前方から見た場合における左右方向を、冷凍庫1の左右方向つまり幅方向とし、冷凍庫1の前後方向を、冷凍庫1の奥行方向とする。
(【0011】以降は省略されています)
この特許をJ-PlatPat(特許庁公式サイト)で参照する
関連特許
タニコー株式会社
貯水槽
29日前
株式会社コロナ
空気調和装置
2か月前
株式会社コロナ
ヒートポンプ装置
1か月前
アクア株式会社
冷蔵庫
29日前
アクア株式会社
冷蔵庫
1か月前
ホシザキ株式会社
製氷機
7日前
個人
ヒートポンプ型空気調和機
13日前
富士電機株式会社
冷却装置
6日前
富士電機株式会社
冷却装置
1か月前
フクシマガリレイ株式会社
冷却庫
2か月前
富士電機株式会社
冷却装置
1か月前
ホシザキ株式会社
冷凍装置
2か月前
株式会社ツインバード
スターリング機関
1か月前
シャープ株式会社
冷却庫
1か月前
個人
液体窒素凝縮による冷凍サイクル
1か月前
ホシザキ株式会社
製氷機
2か月前
シャープ株式会社
冷蔵庫
1か月前
富士電機株式会社
冷却システム
22日前
シャープ株式会社
冷却庫
1か月前
シャープ株式会社
冷蔵庫
1か月前
富士ベンダーサービス株式会社
保管庫
15日前
ホシザキ株式会社
製氷機
2か月前
ホシザキ株式会社
製氷機
2か月前
シャープ株式会社
冷蔵庫
1か月前
シャープ株式会社
冷却庫
2か月前
シャープ株式会社
冷却装置
1か月前
三菱重工冷熱株式会社
低温冷水供給装置
13日前
シャープ株式会社
冷却装置
1か月前
シャープ株式会社
冷却装置
2か月前
株式会社ゼロカラ
冷凍装置
1か月前
シャープ株式会社
冷却装置
1か月前
アクア株式会社
冷蔵庫
今日
株式会社前川製作所
冷凍機
1か月前
ホシザキ株式会社
液体凍結装置
27日前
シャープ株式会社
冷蔵庫
21日前
FrostiX株式会社
急速冷凍装置
1か月前
続きを見る
他の特許を見る