TOP
|
特許
|
意匠
|
商標
特許ウォッチ
Twitter
他の特許を見る
公開番号
2025109534
公報種別
公開特許公報(A)
公開日
2025-07-25
出願番号
2024003478
出願日
2024-01-12
発明の名称
高電子移動度トランジスタ
出願人
住友化学株式会社
代理人
個人
,
個人
主分類
H10D
30/47 20250101AFI20250717BHJP()
要約
【課題】III族窒化物を用いたHEMTにおける、III族窒化物の表面の欠陥に起因する電流コラプスの影響を抑制する技術を提供する。
【解決手段】高電子移動度トランジスタは、基板、基板上に設けられ、第1のIII族窒化物で構成されたチャネル層、および、チャネル層上に設けられ、第1のIII族窒化物のバンドギャップよりも大きいバンドギャップを有する第2のIII族窒化物で構成されたバリア層、を有するIII族窒化物積層体と、III族窒化物積層体の表面上に設けられたゲート電極、ソース電極、および、ドレイン電極と、III族窒化物積層体の表面上の、平面視におけるゲート電極、ソース電極、および、ドレイン電極の外側部分の少なくとも一部と接するように設けられ、チオフェン環を含有するp型の有機半導体で構成された保護膜と、を備える。
【選択図】図1
特許請求の範囲
【請求項1】
基板、
前記基板上に設けられ、第1のIII族窒化物で構成されたチャネル層、および、
前記チャネル層上に設けられ、前記第1のIII族窒化物のバンドギャップよりも大きいバンドギャップを有する第2のIII族窒化物で構成されたバリア層、
を有するIII族窒化物積層体と、
前記III族窒化物積層体の表面上に設けられたゲート電極、ソース電極、および、ドレイン電極と、
前記III族窒化物積層体の表面の、平面視における前記ゲート電極、前記ソース電極、および、前記ドレイン電極の外側部分の少なくとも一部と接するように設けられ、チオフェン環を含有するp型の有機半導体で構成された保護膜と、
を備える高電子移動度トランジスタ。
続きを表示(約 300 文字)
【請求項2】
前記有機半導体の正孔移動度が、0.1cm
2
/Vs以上である、請求項1に記載の高電子移動度トランジスタ。
【請求項3】
前記有機半導体は、高分子有機半導体である、請求項1または2に記載の高電子移動度トランジスタ。
【請求項4】
前記有機半導体は、ユニポーラ有機半導体である、請求項1または2に記載の高電子移動度トランジスタ。
【請求項5】
前記保護膜は、前記ゲート電極の上面、および、前記ドレイン電極の上面、の少なくとも一部と接するように設けられている、請求項1または2に記載の高電子移動度トランジスタ。
発明の詳細な説明
【技術分野】
【0001】
本発明は、高電子移動度トランジスタに関する。
続きを表示(約 3,000 文字)
【背景技術】
【0002】
III族窒化物を用いた高電子移動度トランジスタ(HEMT)において、高電圧印加に起因してドレイン電流が低下する現象である電流コラプスが知られている。電流コラプスの影響を抑制するための各種技術が提案されている(例えば特許文献1参照)。電流コラプスの原因の一つとして、後述のように、III族窒化物の表面の欠陥に起因するものが挙げられる。
【先行技術文献】
【特許文献】
【0003】
特開2018-200934号公報
【発明の概要】
【発明が解決しようとする課題】
【0004】
本発明の一目的は、III族窒化物を用いたHEMTにおける、III族窒化物の表面の欠陥に起因する電流コラプスの影響を抑制する技術を提供することである。
【課題を解決するための手段】
【0005】
本発明の一態様によれば、
基板、
前記基板上に設けられ、第1のIII族窒化物で構成されたチャネル層、および、
前記チャネル層上に設けられ、前記第1のIII族窒化物のバンドギャップよりも大きいバンドギャップを有する第2のIII族窒化物で構成されたバリア層、
を有するIII族窒化物積層体と、
前記III族窒化物積層体の表面上に設けられたゲート電極、ソース電極、および、ドレイン電極と、
前記III族窒化物積層体の表面の、平面視における前記ゲート電極、前記ソース電極、および、前記ドレイン電極の外側部分の少なくとも一部と接するように設けられ、チオフェン環を含有するp型の有機半導体で構成された保護膜と、
を備える高電子移動度トランジスタ
が提供される。
【発明の効果】
【0006】
III族窒化物を用いたHEMTにおける、III族窒化物の表面の欠陥に起因する電流コラプスの影響を抑制する技術が提供される。
【図面の簡単な説明】
【0007】
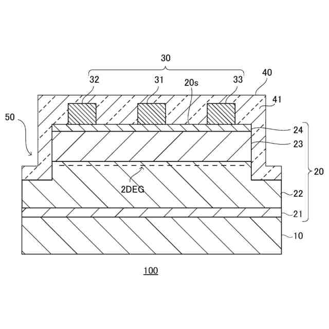
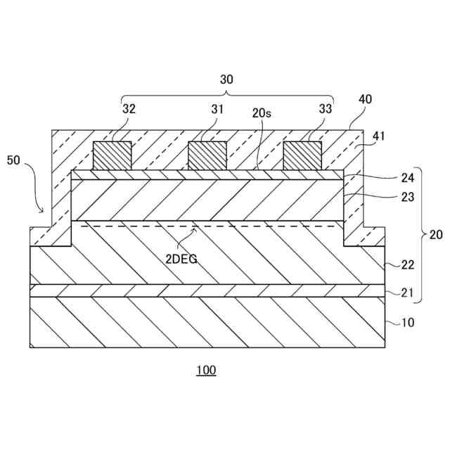
図1は、本発明の実施形態によるHEMT100を模式的に例示する断面図である。
図2は、第1の実験例での、保護膜が材料A、B、および、C(C1~C4)のそれぞれで構成されたHEMTにおける規格化ドレイン電流の時間変化を示すグラフである。
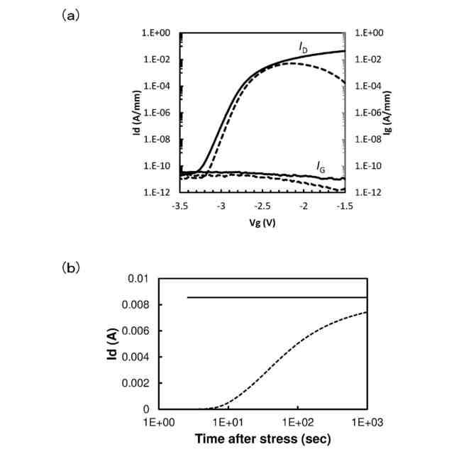
図3(a)は、第2の実験例における、材料C1に係るストレス付加前と付加後におけるId-Vg特性を示すグラフである。図3(b)は、第3の実験例における、材料C1に係るストレス付加前と付加後におけるドレイン電流Idを示すグラフである。図3(c)は、材料C1(PDPP2T-TT-ОD)の化学構造式である。
図4(a)は、第2の実験例における、材料C2に係るストレス付加前と付加後におけるId-Vg特性を示すグラフである。図4(b)は、第3の実験例における、材料C2に係るストレス付加前と付加後におけるドレイン電流Idを示すグラフである。図4(c)は、材料C2(PDPP3T)の化学構造式である。
図5(a)は、第2の実験例における、材料C3に係るストレス付加前と付加後におけるId-Vg特性を示すグラフである。図5(b)は、第3の実験例における、材料C3に係るストレス付加前と付加後におけるドレイン電流Idを示すグラフである。図5(c)は、材料C3の化学構造式である。
図6(a)は、第2の実験例における、材料C4に係るストレス付加前と付加後におけるId-Vg特性を示すグラフである。図6(b)は、第3の実験例における、材料C4に係るストレス付加前と付加後におけるドレイン電流Idを示すグラフである。図6(c)は、材料C4の化学構造式である。
図7(a)は、第2の実験例における、材料Aに係るストレス付加前と付加後におけるId-Vg特性を示すグラフである。図7(b)は、第3の実験例における、材料Aに係るストレス付加前と付加後におけるドレイン電流Idを示すグラフである。図7(c)は、材料Aの化学構造式である。
図8(a)は、第2の実験例における、材料Bに係るストレス付加前と付加後におけるId-Vg特性を示すグラフである。図8(b)は、第3の実験例における、材料Bに係るストレス付加前と付加後におけるドレイン電流Idを示すグラフである。図8(c)は、材料B(N2200)の化学構造式である。
図9(a)は、第2の実験例における、保護膜なしの試料Dのストレス付加前と付加後におけるId-Vg特性を示すグラフである。図9(b)は、第3の実験例における、保護膜なしの試料Dのストレス付加前と付加後におけるドレイン電流Idを示すグラフである。
図10(a)は、第2の実験例における、材料aに係るストレス付加前と付加後におけるId-Vg特性を示すグラフである。図10(b)は、第3の実験例における、材料aに係るストレス付加前と付加後におけるドレイン電流Idを示すグラフである。図10(c)は、材料a(TIPSペンタセン)の化学構造式である。
図11(a)は、第1の実験例におけるゲート電圧Vg、ドレイン電圧Vd、および、ドレイン電流Idの変化を示すタイミングチャートであり、図11(b)は、第3の実験例におけるゲート電圧Vg、ドレイン電圧Vd、および、ドレイン電流Idの変化を示すタイミングチャートである。
図12(a)~図12(h)は、材料C1~C4の他の、チオフェン環を含有するp型の高分子有機半導体を例示する化学構造式である。
【発明を実施するための形態】
【0008】
まず、本発明の実施形態による高電子移動度トランジスタ(HEMT)に関する予備的な知見について概説する。本願発明者は、III族窒化物を用いたHEMTにおける電流コラプスの影響を抑制する技術について検討した。電流コラプスには、いくつかの原因が考えられるが、このうち特に、III族窒化物の、ゲート電極等が配置される電極側の表面の欠陥に起因する電流コラプスの影響を抑制する技術について検討した。
【0009】
具体的には、III族窒化物の当該表面上に形成される保護膜の材料として、有機半導体を用いることで、電流コラプスの影響を抑制することを試みた。有機半導体として、p型でチオフェン環を含有しないもの(後述の材料A)、n型でチオフェン環を含有するもの(後述の材料B)、および、p型でチオフェン環を含有するもの(後述の材料C)を比較検討した。この結果、p型でチオフェン環を含有する有機半導体により当該保護膜を形成することで、電流コラプスからの回復の時定数を小さくすることができる、という新規な知見が得られた。本発明の実施形態によるHEMTは、このような知見に基づいて得られたものである。
【0010】
図1を参照して、本発明の実施形態によるHEMT100について説明する。図1は、HEMT100を模式的に例示する断面図である。HEMT100は、基板10と、III族窒化物積層体20と、電極30と、保護膜40と、を有する。
(【0011】以降は省略されています)
この特許をJ-PlatPat(特許庁公式サイト)で参照する
関連特許
住友化学株式会社
偏光板
1か月前
住友化学株式会社
偏光板
1か月前
住友化学株式会社
化合物
17日前
住友化学株式会社
着色剤
17日前
住友化学株式会社
発光素子
2か月前
住友化学株式会社
樹脂組成物
3日前
住友化学株式会社
体液に由来する試料
7日前
住友化学株式会社
芳香族ポリスルホン
17日前
住友化学株式会社
成形原料及びフィルム
1か月前
住友化学株式会社
金属有機構造体の製造方法
1か月前
住友化学株式会社
複合偏光板及び画像表示装置
5日前
住友化学株式会社
積層体の製造方法及び積層体
1か月前
住友化学株式会社
光学積層体及びその製造方法
19日前
住友化学株式会社
粘着剤付き偏光板及び表示装置
27日前
住友化学株式会社
プロピレン樹脂組成物及び成形体
1か月前
住友化学株式会社
プロピレン樹脂組成物及び成形体
1か月前
住友化学株式会社
プロピレン樹脂組成物及び成形体
1か月前
住友化学株式会社
着色剤及び着色硬化性樹脂組成物
4日前
住友化学株式会社
プロピレン樹脂組成物及び成形体
1か月前
住友化学株式会社
接着剤組成物及び偏光板の製造方法
27日前
住友化学株式会社
芳香族ポリスルホン及び耐熱フィルム
17日前
住友化学株式会社
高分子化合物、組成物、及び発光素子
1か月前
住友化学株式会社
非水電解液二次電池用積層セパレータ
7日前
住友化学株式会社
リチウム二次電池用正極活物質の製造方法
28日前
住友化学株式会社
浮選剤およびヒ素非含有銅鉱物の回収方法
2か月前
住友化学株式会社
窒化物積層体の製造方法および窒化物積層体
2か月前
住友化学株式会社
複素環化合物を用いる有害節足動物防除方法
3日前
住友化学株式会社
膜、積層体、素子、デバイス、及び、構造体
1か月前
住友化学株式会社
リチウム二次電池用負極及びリチウム二次電池
28日前
住友化学株式会社
ペレット、ペレットの製造方法、成形体及びギア
1か月前
住友化学株式会社
レジスト組成物及びレジストパターンの製造方法
3日前
住友化学株式会社
除草剤耐性作物の栽培地における雑草の防除方法
17日前
住友化学株式会社
化合物、樹脂組成物、光学フィルタ及び固体撮像素子
1か月前
住友化学株式会社
カラーフィルタ及び該カラーフィルタを含む表示装置
28日前
住友化学株式会社
着色硬化性樹脂組成物、カラーフィルタ及び表示装置
3日前
住友化学株式会社
ジホスファイト系化合物、その製造方法およびその用途
17日前
続きを見る
他の特許を見る