TOP
|
特許
|
意匠
|
商標
特許ウォッチ
Twitter
他の特許を見る
公開番号
2025088550
公報種別
公開特許公報(A)
公開日
2025-06-11
出願番号
2023203324
出願日
2023-11-30
発明の名称
金属資源の乾式精錬方法及び乾式精錬装置
出願人
学校法人法政大学
代理人
個人
,
個人
,
個人
主分類
C22B
5/12 20060101AFI20250604BHJP(冶金;鉄または非鉄合金;合金の処理または非鉄金属の処理)
要約
【課題】金属資源から所望の金属を効率的に回収し、かつ環境負荷の小さい乾式精錬方法及び当該方法を用いた乾式精錬装置を提供する。
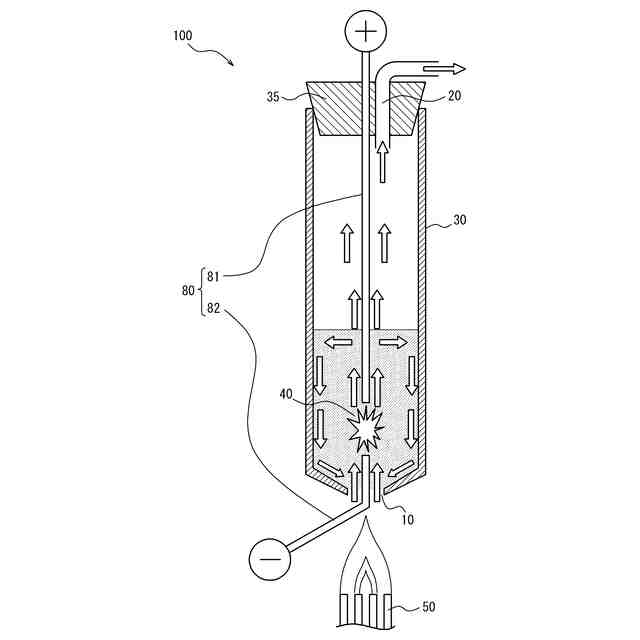
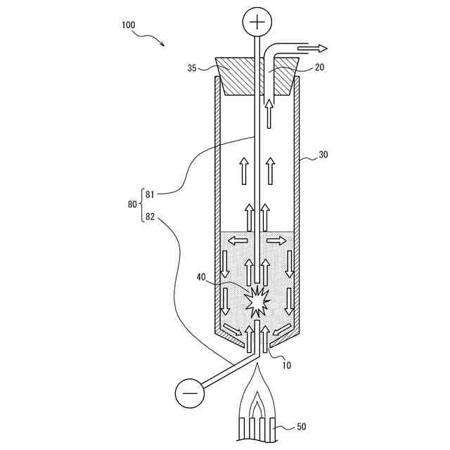
【解決手段】本発明による金属資源の乾式精錬方法は、ガス流入口及びガス流出口を有する炉に金属化合物を含む金属資源を格納する第1工程と、前記ガス流入口に燃焼ガスを流入させつつ、前記ガス流出口から前記燃焼ガスを排気して前記炉の内部を還元雰囲気に保持する第2工程と、前記還元雰囲気下にて、前記金属資源に対し、パルス放電を間欠的に照射する第3工程と、前記第3工程により分解した前記金属化合物を精製物として回収する第4工程と、を含み、前記第3工程において、前記燃焼ガスの貫流方向に沿って前記パルス放電を行う。
【選択図】図1
特許請求の範囲
【請求項1】
ガス流入口及びガス流出口を有する炉に金属化合物を含む金属資源を格納する第1工程と、
前記ガス流入口に燃焼ガスを流入させつつ、前記ガス流出口から前記燃焼ガスを排気して前記炉の内部を還元雰囲気に保持する第2工程と、
前記還元雰囲気下にて、前記金属資源に対し、パルス放電を間欠的に照射する第3工程と、
前記第3工程により分解した前記金属化合物を精製物として回収する第4工程と、を含み、
前記第3工程において、前記燃焼ガスの貫流方向に沿って前記パルス放電を行う、金属資源の乾式精錬方法。
続きを表示(約 740 文字)
【請求項2】
炭化水素ガス及び/又は水素を含むガスの燃焼により前記燃焼ガスを生成する、請求項1に記載の乾式精錬方法。
【請求項3】
前記第4工程では、前記燃焼ガスの貫流方向の上流側と下流側とで異なる元素混合比で前記精製物を得る、請求項1に記載の乾式精錬方法。
【請求項4】
前記第3工程において、前記炉中の前記ガス流入口側の温度が前記精製物の融点よりも100℃以上低い、請求項1に記載の乾式精錬方法。
【請求項5】
前記パルス放電の周波数は50Hz以上である、請求項1に記載の乾式精錬方法。
【請求項6】
前記炉は、縦型の管状炉である、請求項1に記載の乾式精錬方法。
【請求項7】
前記金属資源は都市鉱石である、請求項1に記載の金属資源の乾式精錬方法。
【請求項8】
前記金属資源は、粉鉱石である、請求項1に記載の乾式精錬方法。
【請求項9】
前記第4工程で回収する前記精製物は粒子状であり、
前記炉は、縦型の管状炉であって、前記炉の下部に前記精製物が堆積する、請求項1に記載の乾式精錬方法。
【請求項10】
ガス流入口及びガス流出口を有し、金属化合物を含む金属資源を格納する炉と、
前記ガス流入口の上流側に位置し、前記炉内に前記ガス流入口から燃焼ガスを流入させる燃焼装置と、
前記ガス流入口に挿入された電極及び前記ガス流出口の側に設置された電極を備え、前記ガス流入口に挿入された電極の下流側及び前記ガス流出口の側に設置された電極の上流側の間の経路が前記炉の中心軸方向に沿うパルス放電ユニットと、
を有する乾式精錬装置。
発明の詳細な説明
【技術分野】
【0001】
本発明は金属資源の乾式精錬方法に関し、特に、金、白金族、銀、亜鉛、マグネシウム、アルミニウム、ケイ素、カルシウム、チタン、バナジウム、クロム、マンガン、鉄、コバルト、ニッケル、銅、鉛、スズ、ビスマス、ガリウム、インジウム、ゲルマニウム、モリブデン、テルル、セシウム及びタングステンからなる群から選択された金属を構成元素とする金属化合物を含む金属資源の乾式精錬方法に関するものである。
続きを表示(約 1,700 文字)
【背景技術】
【0002】
近年、廃電子機器などの都市鉱石からガリウム、インジウム等のレアメタル及び貴金属を再資源化する需要が高まっている。例えば、GaN半導体、Ga
2
O
3
半導体、LED素子、IGZO液晶ディスプレイ、ITO透明電極をはじめとする電子部品には、ガリウムやインジウムの他、金や銀などの有価金属が含まれている。また、この他にもプリント基板には銅、鉛フリーはんだにはスズやビスマス等の金属も含まれている。このような廃電子部品から、ガリウムやインジウムを分離、回収する方法として、例えば、噴流床による乾式精錬方法が提案されている(例えば、特許文献1)。
【先行技術文献】
【特許文献】
【0003】
特開2017-119914号公報
【発明の概要】
【発明が解決しようとする課題】
【0004】
しかしながら、このような都市鉱石等の金属資源には様々な形態があることから、乾式精錬方法にはまだ改善の余地があった。特にLED(Light Emitting Diode)照明は高い発光効率を持ち長寿命であるため、省エネルギーの観点から広く普及している一方で、LED素子の発光部に用いられるガリウムの再資源化に関しては未だ技術が確立していなかった。また、その他にも、今後普及することが予想されるGa
2
O
3
パワー半導体やGaNパワー半導体からガリウム等の金属資源を精錬して再資源化することも必要とされている。
【0005】
また、環境負荷の点でも、これまでの乾式精錬技術においては、還元プロセスにおいて燃焼反応等の膨大なエネルギーを投入することで、還元と同時に大量のCO
2
を排出する。例えば、鉄鉱石を還元及び焼結する際にはコークスを用いるため、大量のCO
2
を排出する。カーボンニュートラルの観点から、投入エネルギーが少なく、よりCO
2
排出の少ないプロセスの実現が望まれている。近年では、例示したガリウム及び鉄鉱石に限らず、種々の金属元素を対象とする金属資源の再利用手法の改良が希求されている。そこで、本発明は、金属資源から所望の金属を効率的に回収し、かつ環境負荷の小さい乾式精錬方法及び当該方法を用いた乾式精製装置を提供することを目的とする。
【課題を解決するための手段】
【0006】
上記課題を解決すべく本発明者は鋭意検討したところ、還元雰囲気下において金属資源に対し、パルス放電を間欠的に照射することを着想し、金属資源から所望の金属を効率的に回収できることを知見した。すなわち、本発明の要旨構成は以下のとおりである。
【0007】
<1> ガス流入口及びガス流出口を有する炉に金属化合物を含む金属資源を格納する第1工程と、
前記ガス流入口に燃焼ガスを流入させつつ、前記ガス流出口から前記燃焼ガスを排気して前記炉の内部を還元雰囲気に保持する第2工程と、
前記還元雰囲気下にて、前記金属資源に対し、パルス放電を間欠的に照射する第3工程と、
前記第3工程により分解した前記金属化合物を精製物として回収する第4工程と、を含み、
前記第3工程において、前記燃焼ガスの貫流方向に沿って前記パルス放電を行う、金属資源の乾式精錬方法。
【0008】
<2> 炭化水素ガス及び/又は水素を含むガスの燃焼により前記燃焼ガスを生成する、<1>に記載の乾式精錬方法。
【0009】
<3> 前記第4工程では、前記燃焼ガスの貫流方向の上流側と下流側とで異なる元素混合比で前記精製物を得る、<1>又は<2>に記載の乾式精錬方法。
【0010】
<4> 前記第3工程において、前記炉中の前記ガス流入口側の温度が前記精製物の融点よりも100℃以上低い、<1>~<3>のいずれかに記載の乾式精錬方法。
(【0011】以降は省略されています)
この特許をJ-PlatPat(特許庁公式サイト)で参照する
関連特許
学校法人法政大学
腕部支持具
5日前
学校法人法政大学
バルブハンドル締め付け方法
2か月前
学校法人法政大学
磁化推定装置、磁化推定方法、及びプログラム
3か月前
学校法人法政大学
情報処理装置、情報処理システム、及び情報処理方法
5か月前
学校法人法政大学
層状複水酸化物、硝酸イオンの除去方法、及び、硝酸イオンの回収方法
2か月前
個人
銅鉄合金の製造
4か月前
日本製鉄株式会社
鋳片
12日前
宏幸株式会社
金属回収方法
8か月前
個人
高強度せん断補強筋用の鋼材
8か月前
JX金属株式会社
鉛の回収方法
2か月前
株式会社神戸製鋼所
鋼材
7か月前
JX金属株式会社
鉛の回収方法
2か月前
三菱マテリアル株式会社
切削工具
2か月前
株式会社神戸製鋼所
銅合金
1か月前
古河電気工業株式会社
銅線
1か月前
株式会社クボタ
比重分離装置
8か月前
株式会社神戸製鋼所
銅合金板
3か月前
株式会社クボタ
比重分離装置
8か月前
株式会社クボタ
比重分離装置
8か月前
日本製鉄株式会社
鋼材
3か月前
日本製鉄株式会社
線材
5か月前
株式会社神戸製鋼所
ボルト用鋼
1か月前
日本製鉄株式会社
鋼材
6か月前
日本製鉄株式会社
鋼線
5か月前
日本製鉄株式会社
鋼材
3か月前
日本製鉄株式会社
鋼材
7か月前
日本製鉄株式会社
鋼材
7か月前
住友金属鉱山株式会社
金属の抽出方法
2か月前
日本製鉄株式会社
鋼材
3か月前
日本製鉄株式会社
鋼材
4か月前
日本製鉄株式会社
鋼材
3か月前
日本製鉄株式会社
鋼材
8か月前
日本製鉄株式会社
鋼部品
2か月前
日本製鉄株式会社
ボルト
3か月前
大同特殊鋼株式会社
鋼材及び金型
4か月前
日本製鉄株式会社
鋼部品
2か月前
続きを見る
他の特許を見る