TOP
|
特許
|
意匠
|
商標
特許ウォッチ
Twitter
他の特許を見る
公開番号
2025073901
公報種別
公開特許公報(A)
公開日
2025-05-13
出願番号
2023185059
出願日
2023-10-27
発明の名称
音響拡散パネル
出願人
学校法人 工学院大学
代理人
弁理士法人太陽国際特許事務所
主分類
G10K
11/28 20060101AFI20250502BHJP(楽器;音響)
要約
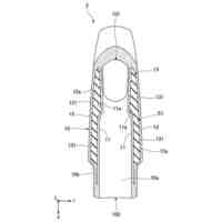
【課題】表面の全体に亘って凹凸を形成しなくても音響拡散効果を得ることができる音響拡散パネルを提供する。
【解決手段】音響拡散パネル(パネル10)は、音を反射する反射パネル12と、反射パネル12における音の入射方向に配置され、複数の領域に区画された減速層14と、領域ごとに異なる密度で保持された障害物30と、を備える。
【選択図】図4
特許請求の範囲
【請求項1】
音を反射する反射パネルと、
前記反射パネルにおける音の入射方向に配置され、複数の領域に区画された減速層と、
前記領域ごとに異なる密度で保持された障害物と、
を備えた音響拡散パネル。
続きを表示(約 1,500 文字)
【請求項2】
複数の前記領域に同時に音が入射された場合において、
前記減速層に入射してから前記反射パネルを反射して前記減速層から出射されるまでの時間が最も速い領域及び最も遅い領域での所要時間差τ
max
は、
拡散対象音の波長をλ、拡散対象音の音速をC
0
として、次の(I)式で示される、
請求項1に記載の音響拡散パネル。
τ
max
=(λ/2)/C
0
・・・(I)
【請求項3】
複数の前記領域は、任意の素数をPとして前記減速層の幅方向を(P-1)個に分割した各領域であり、
前記素数Pの原始根を底として(P-1)個の連続した整数を冪指数として生成された(P-1)個の冪乗数をそれぞれPで除した際の各剰余をmとした場合に、
前記減速層に入射してから前記反射パネルを反射して前記減速層から出射されるまでの時間が最も速い領域及び(P-1)個の各領域での所要時間差τ
m
は、次の(II)式で示される、請求項2に記載の音響拡散パネル。
τ
m
=τ
max
×(m-1)/(P-1)・・・(II)
【請求項4】
前記障害物が球体である場合に、(P-1)個の前記領域それぞれの単位体積当たりの前記障害物の数量N
m
は、
前記球体の半径をa、前記減速層の厚みをLとして、次の(III)式で示される、請求項3に記載の音響拡散パネル。
N
m
={3/(2πa
3
)}×[[{(m-1)λ/(4(P-1)L)}+1]
2
-1]
・・・(III)
【請求項5】
前記障害物が、面内方向が拡散対象音の入射方向と直交する円盤である場合に、(P-1)個の前記領域それぞれの単位体積当たりの前記障害物の数量N
m
は、
前記円盤の半径をr、前記減速層の厚みをLとして、次の(IV)式で示される、請求項3に記載の音響拡散パネル。
N
m
={3/(8πr
3
)}×[[{(m-1)λ/(4(P-1)L)}+1]
2
-1]
・・・(IV)
【請求項6】
前記障害物が、面内方向が拡散対象音の入射方向と直交する板である場合に、(P-1)個の前記領域それぞれの、前記障害物の端面からみた単位面積当たりの前記障害物の数量N
m
は、
前記板の幅をd、前記減速層の厚みをLとして、次の(V)式で示される、請求項3に記載の音響拡散パネル。
N
m
={4/(πd
2
)}×[[{(m-1)λ/(4(P-1)L)}+1]
2
-1]
・・・(V)
【請求項7】
前記連続した整数は、10から始まる(P-1)個の整数である、請求項3~6の何れか1項に記載の音響拡散パネル。
【請求項8】
前記原始根が複数ある場合は、最も大きな原始根を底とする、請求項3~6の何れか1項に記載の音響拡散パネル。
【請求項9】
前記複数の領域は、
前記反射パネルの幅がW、拡散対象音の波長がλである場合に、
W/(λ/4)で示される値に最も近い素数をPとして、
前記減速層の幅方向を等分割した(P-1)個の領域である、
請求項3~6の何れか1項に記載の音響拡散パネル。
発明の詳細な説明
【技術分野】
【0001】
本発明は、音響拡散パネルに関する。
続きを表示(約 1,000 文字)
【背景技術】
【0002】
下記特許文献1には、音を散乱させるための二次元状原始根形拡散器が開示されている。この二次元状原始根形拡散器を形成する各ウェルは長方形ブロックにより形成され、その深さは原始根シーケンス理論を演算することにより決定されている。これにより、各ウェルの深さが他のウェルの深さと異なる深さを有する二次元状原始根形拡散器が形成される。
【先行技術文献】
【特許文献】
【0003】
特開平8-87281号公報
【発明の概要】
【発明が解決しようとする課題】
【0004】
上記特許文献1の二次元状原始根形拡散器は、長方形ブロックを格子状に配置して形成されている。このような二次元状原始根形拡散器を用いた音響拡散パネルは、パネル表面の全体に亘って、表面に不規則な凹凸が形成される。
【0005】
しかしながら、意匠上の理由等から、音響拡散パネルの表面の全体に亘って凹凸を形成したくない場合がある。
【0006】
本開示は、上記事実を考慮して、表面の全体に亘って凹凸を形成しなくても音響拡散効果を得ることができる音響拡散パネルを提供する。
【課題を解決するための手段】
【0007】
第一態様の音響拡散パネルは、音を反射する反射パネルと、前記反射パネルにおける音の入射方向に配置され、複数の領域に区画された減速層と、前記領域ごとに異なる密度で保持された障害物と、を備える。
【0008】
第一態様の音響拡散パネルは、反射パネルにおける音の入射方向に減速層が配置されている。減速層には障害物が保持されている。このため、減速層に入射した拡散対象音は障害物によって減速される。
【0009】
そして、障害物は複数の領域ごとに異なる密度で保持されている。このため、減速層を通過する拡散対象音の速度が、領域ごとに異なる。この結果、反射パネルに入射する音に対して、反射音の位相がランダムになる。
【0010】
これにより、入射音と反射音との干渉や、反射音同士の干渉によって形成される音の波形がランダムな形状となる。すなわち、入射音及び反射音によって音が増幅される位置の分布が、空間内における特定の場所に集中しない。これにより、音の拡散性を高めることができる。
(【0011】以降は省略されています)
この特許をJ-PlatPat(特許庁公式サイト)で参照する
関連特許
学校法人 工学院大学
電磁装置
3か月前
学校法人 工学院大学
脳波計測装置
8か月前
学校法人 工学院大学
音響拡散パネル
6か月前
学校法人 工学院大学
判定回路、及び制御システム
4か月前
学校法人 工学院大学
情報処理装置、方法、及びプログラム
20日前
学校法人 工学院大学
水素分離膜の製造方法及び水素分離方法
2か月前
星和電機株式会社
金属膜片形成部材およびその製造方法
2か月前
学校法人 工学院大学
音響アレイ制御装置、音響アレイシステム、及び制御プログラム
9か月前
学校法人 工学院大学
花粉破裂防止剤及び花粉破裂防止方法、並びに、アレルゲン微粒子飛散防止剤及びアレルゲン微粒子飛散防止方法
1か月前
個人
遮音材
19日前
個人
歌唱補助器具
28日前
個人
管楽器用リガチャ-
1か月前
個人
音声出力装置
19日前
横浜ゴム株式会社
音響材
12日前
大和ハウス工業株式会社
音低減設備
29日前
DIC株式会社
吸音材及び吸音部品
1か月前
個人
管楽器用音質改善留め具
6日前
NOK株式会社
吸音構造体
21日前
株式会社SinasSP
自動騒音低減装置
1か月前
横浜ゴム株式会社
多層空洞音響材
19日前
矢崎総業株式会社
車両用対話システム
20日前
株式会社第一興商
カラオケ装置
20日前
カシオ計算機株式会社
発音装置、発音方法及びプログラム
1か月前
トヨタ自動車株式会社
判定装置
1か月前
ブラザー工業株式会社
カラオケ用プログラム、及び、カラオケ装置
1か月前
大建工業株式会社
吸音体及び音環境調整構造
1か月前
ブラザー工業株式会社
音声録音装置、及び、音声録音用プログラム
1か月前
株式会社JVCケンウッド
収音装置、収音方法、およびプログラム
1か月前
有限会社ツバサ
エレキギターおよび保護フィルム付きの樹脂プレート
1か月前
ヤマハ株式会社
音処理装置及び音処理方法
6日前
有限会社 宮脇工房
モーター挙動音発生装置
28日前
株式会社デンソー
制御装置、制御方法、及び制御プログラム
12日前
株式会社リコー
対話装置、対話システム、対話方法及びプログラム
1か月前
株式会社SUBARU
乗物用遮音構造体、及び車両
1か月前
株式会社第一興商
カラオケ装置、カラオケシステム
14日前
本田技研工業株式会社
能動型振動騒音制御装置
1か月前
続きを見る
他の特許を見る