TOP
|
特許
|
意匠
|
商標
特許ウォッチ
Twitter
他の特許を見る
公開番号
2025062193
公報種別
公開特許公報(A)
公開日
2025-04-14
出願番号
2023171094
出願日
2023-10-02
発明の名称
杭及び杭の施工方法
出願人
清水建設株式会社
,
日本ジオス株式会社
代理人
個人
,
個人
,
個人
主分類
E02D
5/28 20060101AFI20250407BHJP(水工;基礎;土砂の移送)
要約
【課題】障害物を効率的に切断及び除去することができる杭及び杭の施工方法を提供する。
【解決手段】杭1は、筒状に形成された杭本体10と、杭本体10の軸線方向の一方側の先端部に設けられたビット部20と、を備え、ビット部20は、筒状に形成されたビット本体21と、ビット本体21の軸線方向の一方側の先端面21dから軸線方向の一方側に突出し、周方向に間隔を有して配置された複数の突起26を有し、突起26は、突起26それぞれの周方向の中央側に向かうにしたがって、次第に軸線方向の他方側に向かう傾斜面27を有する。
【選択図】図3
特許請求の範囲
【請求項1】
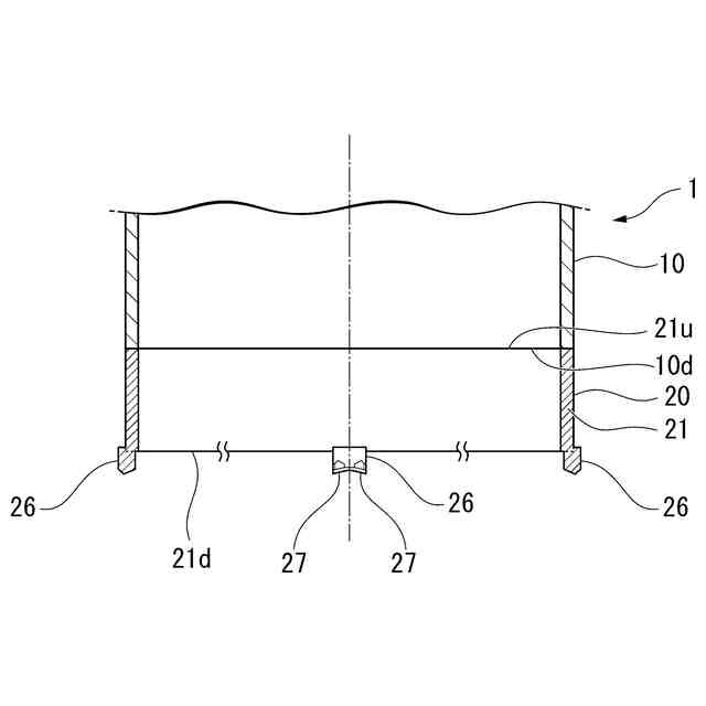
筒状に形成された杭本体と、
前記杭本体の軸線方向の一方側の先端部に設けられたビット部と、を備え、
前記ビット部は、
筒状に形成されたビット本体と、
前記ビット本体の軸線方向の一方側の先端面から軸線方向の一方側に突出し、周方向に間隔を有して配置された複数の突起を有し、
前記突起は、
前記突起それぞれの前記周方向の中央側に向かうにしたがって、次第に軸線方向の他方側に向かう傾斜面を有する杭。
続きを表示(約 540 文字)
【請求項2】
前記突起は、前記ビット本体の前記先端面の径方向の内側寄り及び外側寄りに交互に配置されている請求項1に記載の杭。
【請求項3】
前記ビット本体の前記先端面の径方向の外側寄りに配置される前記突起は、前記先端面の外縁よりも前記径方向の外側に突出している請求項1または2に記載の杭。
【請求項4】
前記ビット本体の内周面に沿って配置され、内部に流体が流通する複数のノズルを備え、
前記複数のノズルのうち第1のノズルの軸線方向の一方側に端部は、軸線方向に沿って配置され、
前記複数のノズルのうち第2のノズルの軸線方向の一方側の端部は、軸線方向の一方側に向かうにしたがって、次第に前記ビット本体の径方向の内側に向かうように傾斜している請求項1または2に記載の杭。
【請求項5】
請求項1に記載の杭を使用して、地盤に回転圧入する杭の施工方法であって、
前記杭を圧入する際に、回転した前記杭の前記ビット部の前記突起が障害物に当たると、前記障害物を切断して、前記杭の回転圧入が進行する杭の施工方法。
【請求項6】
前記杭は前記周方向に両側に回転可能である請求項5に記載の杭の施工方法。
発明の詳細な説明
【技術分野】
【0001】
本発明は、杭及び杭の施工方法に関するものである。
続きを表示(約 1,300 文字)
【背景技術】
【0002】
従来から、再開発事業等で隣接する建物等を施工した際、グラウンドアンカーが残置されている場合がある。グラウンドアンカーは、新設する建物で打設する支持杭の支障となる。このため、支持杭の打設に先立って、グランドアンカーを撤去する必要がある。例えば、深礎工法やBG工法、オールケーシング工法等によって掘削し、グラウンドアンカーを切断した後、砂や流動化処理土で埋め戻し、杭を打設する。杭の一例として、鋼管杭が知られている(特許文献1,2参照)。
【先行技術文献】
【特許文献】
【0003】
特許第4105076号公報
特許第4242251号公報
【発明の概要】
【発明が解決しようとする課題】
【0004】
しかしながら、上記のような施工方法では、手間と時間を要し、コストもかかるという問題点がある。また、オールケーシング工法で除去する場合、ハンマーグラブで土砂やグラウンドアンカーを除去するが、ハンマーグラブがグラウンドアンカーに引っかかって抜けなくなるといったトラブルが発生するという問題点がある。
【0005】
そこで、本発明は、上記事情に鑑みてなされたものであり、障害物を効率的に切断及び除去することができる杭及び杭の施工方法を提供する。
【課題を解決するための手段】
【0006】
上記目的を達成するために、本発明は以下の手段を採用している。
本発明に係る杭は、筒状に形成された杭本体と、前記杭本体の軸線方向の一方側の先端部に設けられたビット部と、を備え、前記ビット部は、筒状に形成されたビット本体と、前記ビット本体の軸線方向の一方側の先端面から軸線方向の一方側に突出し、周方向に間隔を有して配置された複数の突起を有し、前記突起は、前記突起それぞれの前記周方向の中央側に向かうにしたがって、次第に軸線方向の他方側に向かう傾斜面を有する。
【0007】
このように構成された杭では、杭を回転圧入する際に、ビット部に設けられた突起が障害物に当たると、突起自体及び突起の傾斜面が障害物に当たって、障害物を切断する。切断された障害物は地盤の中に入り込み杭の外側あるいは内側に除去される。よって、杭の設置とともに障害物を効率的に切断及び除去することができる。
【0008】
また、本発明に係る杭では、前記突起は、前記ビット本体の前記先端面の径方向の内側寄り及び外側寄りに交互に配置されていてもよい。
【0009】
このように構成された杭では、突起は、ビット本体の先端面の径方向の内側寄り及び外側寄りに交互に配置されている。よって、ビット本体の先端面の内側及び外側にある障害物を切断及び除去することが可能である。
【0010】
また、本発明に係る杭は、前記ビット本体の前記先端面の径方向の外側寄りに配置される前記突起は、前記先端面の外縁よりも前記径方向の外側に突出していてもよい。
(【0011】以降は省略されています)
この特許をJ-PlatPat(特許庁公式サイト)で参照する
関連特許
清水建設株式会社
配筋装置
1か月前
清水建設株式会社
建築構造
16日前
清水建設株式会社
化粧カバー
1か月前
清水建設株式会社
鉄筋把持装置
1か月前
清水建設株式会社
情報処理装置
1か月前
清水建設株式会社
枠体および壁体
今日
清水建設株式会社
水制御システム
21日前
清水建設株式会社
製炭炉、製炭方法
1か月前
清水建設株式会社
配筋高さ調整機構
1か月前
清水建設株式会社
遮水層の構築方法
20日前
清水建設株式会社
配筋の千鳥調整機構
1か月前
清水建設株式会社
免震装置の基礎構造
21日前
清水建設株式会社
床吹き出し空調装置
20日前
清水建設株式会社
ボルトによる接合構造
27日前
清水建設株式会社
コンクリートの施工方法
1か月前
清水建設株式会社
遮水層構築の降雨対策方法
今日
清水建設株式会社
建築部材および空調システム
1か月前
清水建設株式会社
防火積層体及びその製造方法
6日前
清水建設株式会社
変位計測装置および変位計測方法
16日前
清水建設株式会社
接合構造及び接合構造の改修方法
7日前
清水建設株式会社
制振装置およびこれを備えた建物
今日
清水建設株式会社
中間階免震建物の免震層の構築方法
21日前
清水建設株式会社
低透水層の施工方法および低透水層構造
1か月前
清水建設株式会社
ケーソンの施工方法および施工補助装置
29日前
清水建設株式会社
木質耐火被覆鉄骨部材およびその施工方法
1か月前
清水建設株式会社
施工時CO2排出量の推定方法および推定システム
27日前
清水建設株式会社
鉄筋の放射線漏洩線量減少率評価方法及び解析装置
27日前
清水建設株式会社
金属造形物の造形装置および金属造形物の造形方法
22日前
公益財団法人鉄道総合技術研究所
樹脂吹付け方法
1か月前
清水建設株式会社
桁と床版との接合構造、及び桁と床版との接合方法
今日
清水建設株式会社
地形計測装置、地形計測システム、及び地形計測方法
1か月前
清水建設株式会社
作業架台の支持構造及びコンクリート構造物の施工方法
今日
清水建設株式会社
土壌資材、土壌資材の設計方法および土壌資材の製造方法
1か月前
岡部株式会社
スタッド溶接用治具及びスタッド溶接方法
今日
清水建設株式会社
鉄筋の突合わせ接合構造及び鉄筋接続用スリーブの圧縮装置
27日前
清水建設株式会社
陰イオン吸着体、陰イオン吸着体の製造方法、陰イオン吸着方法
27日前
続きを見る
他の特許を見る