TOP
|
特許
|
意匠
|
商標
特許ウォッチ
Twitter
他の特許を見る
10個以上の画像は省略されています。
公開番号
2025041292
公報種別
公開特許公報(A)
公開日
2025-03-26
出願番号
2023148485
出願日
2023-09-13
発明の名称
ズームレンズおよび撮像装置
出願人
キヤノン株式会社
代理人
個人
,
個人
,
個人
主分類
G02B
15/20 20060101AFI20250318BHJP(光学)
要約
【課題】広画角、高変倍比および高い光学性能を有する小型のズームレンズを提供する。
【解決手段】ズームレンズL0は、最も物体側に配置された負の屈折力の第1レンズ群L1と、該第1レンズ群より像側に配置された3つ以上のレンズ群を含む後群LRとを有する。広角端から望遠端へのズーミングにおいて第1レンズ群が像側へ移動し、ズーミングにおいて移動するレンズ群の像側への移動量を正の移動量とするときの広角端から望遠端へのズーミングにおける第1レンズ群の移動量をML1、ズームレンズの望遠端での光学全長をTLt、第1レンズ群の焦点距離をfL1、ズームレンズの望遠端での焦点距離をftとするとき、0.30≦ML1/TLt≦0.90および-0.80≦fL1/ft≦-0.40なる条件を満足する。
【選択図】図1
特許請求の範囲
【請求項1】
最も物体側に配置された負の屈折力の第1レンズ群と、該第1レンズ群より像側に配置された3つ以上のレンズ群を含む後群とを有し、ズーミングに際して隣り合うレンズ群の間隔が変化するズームレンズであって、
広角端から望遠端へのズーミングにおいて前記第1レンズ群が像側へ移動し、
ズーミングにおいて移動するレンズ群の像側への移動量を正の移動量とするときの広角端から望遠端へのズーミングにおける前記第1レンズ群の移動量をML1、前記ズームレンズの望遠端での光学全長をTLt、前記第1レンズ群の焦点距離をfL1、前記ズームレンズの望遠端での焦点距離をftとするとき、
0.30≦ML1/TLt≦0.90
-0.80≦fL1/ft≦-0.40
なる条件を満足することを特徴とするズームレンズ。
続きを表示(約 990 文字)
【請求項2】
前記第1レンズ群L1よりも像側に、開口絞りと補助絞りとを有することを特徴とする請求項1に記載のズームレンズ。
【請求項3】
-3.00≦ML1/fL1≦-1.00
なる条件を満足することを特徴とする請求項1に記載のズームレンズ。
【請求項4】
前記ズームレンズの広角端でのバックフォーカスをSkwとするとき、
0.10≦Skw/ML1≦0.60
なる条件を満足することを特徴とする請求項1に記載のズームレンズ。
【請求項5】
前記ズームレンズの望遠端でのバックフォーカスをSktとするとき、
0.10≦Skt/ML1≦0.70
なる条件を満足することを特徴とする請求項1に記載のズームレンズ。
【請求項6】
前記第1レンズ群の最も物体側のレンズ面から最も像側のレンズ面までの光軸上の距離をTDL1とするとき、
0.20≦TDL1/ML1≦0.65
なる条件を満足することを特徴とする請求項1に記載のズームレンズ。
【請求項7】
広角端から望遠端へのズーミングにおける前記後群のうち最も物体側のレンズ群の物体側への移動量をMLR1とするとき、
-0.70≦MLR1/ML1≦-0.02
なる条件を満足することを特徴とする請求項1に記載のズームレンズ。
【請求項8】
広角端から望遠端へのズーミングにおける前記後群のうち最も物体側のレンズ群の物体側への移動量をMLR1とするとき、
-0.70≦MLR1/ft≦-0.02
なる条件を満足することを特徴とする請求項1に記載のズームレンズ。
【請求項9】
前記ズームレンズにおける最も物体側のレンズのd線における屈折率をndG1とするとき、
1.50≦ndG1≦2.00
なる条件を満足することを特徴とする請求項1に記載のズームレンズ。
【請求項10】
前記ズームレンズにおける最も物体側のレンズの焦点距離をfG1とするとき、
0.60≦fG1/fL1≦2.00
なる条件を満足することを特徴とする請求項1に記載のズームレンズ。
(【請求項11】以降は省略されています)
発明の詳細な説明
【技術分野】
【0001】
本発明は、デジタルカメラ等の撮像装置に好適なズームレンズに関する。
続きを表示(約 1,500 文字)
【背景技術】
【0002】
広画角のズームレンズとして、最も物体側に負の屈折力のレンズ群を配置した、所謂ネガティブリード型のズームレンズが知られている。特許文献1には、物体側より像側へ順に配置された、負の屈折力の第1レンズ群、正の屈折力の第2レンズ群、負の屈折力の第3レンズ群および正の屈折力の第4レンズ群により構成されたズームレンズが開示されている。
【先行技術文献】
【特許文献】
【0003】
特開2019-61270号公報
【発明の概要】
【発明が解決しようとする課題】
【0004】
ネガティブリード型のズームレンズは、開口絞りに対してレンズ構成が非対称となる傾向があり、諸収差の補正が難しい。しかも、ズーミングの際の収差変動の抑制が困難であり、高い光学性能と高変倍比を得ることが難しい。特許文献1にて開示されたズームレンズでは、ズーミングの際の収差変動を抑制しているが、変倍比は不十分である。
【0005】
本発明は、広画角かつ高変倍比を有し、高い光学性能を有する小型のズームレンズを提供する。
【課題を解決するための手段】
【0006】
本発明の一側面としてのズームレンズは、最も物体側に配置された負の屈折力の第1レンズ群と、該第1レンズ群より像側に配置された3つ以上のレンズ群を含む後群とを有し、ズーミングに際して隣り合うレンズ群の間隔が変化する。広角端から望遠端へのズーミングにおいて第1レンズ群が像側へ移動し、ズーミングにおいて移動するレンズ群の像側への移動量を正の移動量とするときの広角端から望遠端へのズーミングにおける第1レンズ群の移動量をML1、ズームレンズの望遠端での光学全長をTLt、第1レンズ群の焦点距離をfL1、ズームレンズの望遠端での焦点距離をftとするとき、
0.30≦ML1/TLt≦0.90
-0.80≦fL1/ft≦-0.40
なる条件を満足することを特徴とする。なお、上記ズームレンズを備えた撮像装置や撮像システムも、本発明の他の一側面を構成する。
【発明の効果】
【0007】
本発明によれば、広画角かつ高変倍比を有し、高い光学性能を有する小型のズームレンズを提供することができる。
【図面の簡単な説明】
【0008】
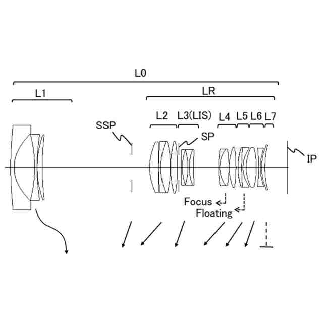
実施例1のズームレンズの断面図。
実施例1のズームレンズの収差図。
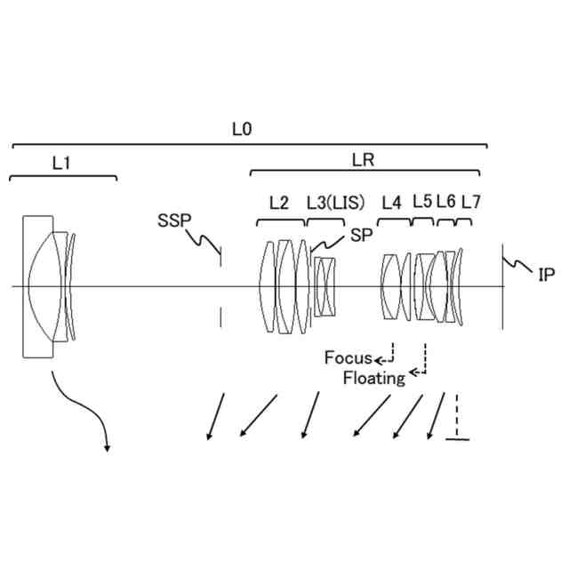
実施例2のズームレンズの断面図。
実施例2のズームレンズの収差図。
実施例3のズームレンズの断面図。
実施例3のズームレンズの収差図。
実施例4のズームレンズの断面図。
実施例4のズームレンズの収差図。
実施例5のズームレンズの断面図。
実施例5のズームレンズの収差図。
実施例6のズームレンズの断面図。
実施例6のズームレンズの収差図。
各実施例のズームレンズを備えた撮像装置の概略図。
【発明を実施するための形態】
【0009】
以下、本発明の実施例について図面を参照しながら説明する。
【0010】
図1、図3、図5、図7、図9および図11はそれぞれ、実施例1~6のズームレンズL0の広角端かつ無限遠物体に合焦した状態(以下、無限遠合焦状態という)での構成を示している。各実施例のズームレンズL0は、デジタルビデオカメラ、デジタルスチルカメラ、放送用カメラ、銀塩フィルム用カメラおよび監視用カメラ等の撮像装置に設けられたり、撮像装置に着脱可能な交換レンズとして用いられたりする。
(【0011】以降は省略されています)
この特許をJ-PlatPat(特許庁公式サイト)で参照する
関連特許
キヤノン株式会社
容器
4日前
キヤノン株式会社
トナー
20日前
キヤノン株式会社
トナー
7日前
キヤノン株式会社
トナー
20日前
キヤノン株式会社
トナー
20日前
キヤノン株式会社
トナー
25日前
キヤノン株式会社
定着装置
19日前
キヤノン株式会社
現像装置
18日前
キヤノン株式会社
記録装置
25日前
キヤノン株式会社
撮像装置
4日前
キヤノン株式会社
現像装置
11日前
キヤノン株式会社
撮像装置
4日前
キヤノン株式会社
撮像装置
4日前
キヤノン株式会社
測距装置
13日前
キヤノン株式会社
現像容器
18日前
キヤノン株式会社
記録装置
4日前
キヤノン株式会社
現像容器
18日前
キヤノン株式会社
現像装置
18日前
キヤノン株式会社
撮影装置
18日前
キヤノン株式会社
記録装置
18日前
キヤノン株式会社
撮像装置
21日前
キヤノン株式会社
撮像装置
25日前
キヤノン株式会社
モジュール
20日前
キヤノン株式会社
光学センサ
20日前
キヤノン株式会社
現像剤容器
26日前
キヤノン株式会社
画像表示装置
25日前
キヤノン株式会社
画像形成装置
5日前
キヤノン株式会社
カートリッジ
18日前
キヤノン株式会社
画像形成装置
19日前
キヤノン株式会社
画像形成装置
14日前
キヤノン株式会社
電子写真装置
5日前
キヤノン株式会社
画像形成装置
4日前
キヤノン株式会社
画像形成装置
19日前
キヤノン株式会社
画像形成装置
7日前
キヤノン株式会社
画像形成装置
14日前
キヤノン株式会社
画像形成装置
11日前
続きを見る
他の特許を見る