TOP
|
特許
|
意匠
|
商標
特許ウォッチ
Twitter
他の特許を見る
10個以上の画像は省略されています。
公開番号
2025035823
公報種別
公開特許公報(A)
公開日
2025-03-14
出願番号
2023143116
出願日
2023-09-04
発明の名称
情報処理装置、情報処理方法、およびプログラム
出願人
株式会社リコー
,
VIE株式会社
代理人
弁理士法人酒井国際特許事務所
主分類
G06Q
10/06 20230101AFI20250307BHJP(計算;計数)
要約
【課題】自身の状態を認識し改善することができる、情報処理装置、情報処理方法、およびプログラムを提供する。
【解決手段】本発明は、スタックポイントに対するリフレーミング前のユーザの第1脳波情報を取得する第1脳波取得部と、前記リフレーミング後のユーザの第2脳波情報を取得する第2脳波取得部と、前記第1脳波情報および前記第2脳波情報に基づいて、ユーザの脳波情報がネガティブ状態かポジティブ状態かを予測するモデルを作成するモデル作成部と、前記モデルを用いて、前記第2脳波情報を起こさせるニューロフィードバックを行うニューロフィードバック部と、を備える。
【選択図】図1
特許請求の範囲
【請求項1】
スタックポイントに対するリフレーミング前のユーザの第1脳波情報を取得する第1脳波取得部と、
前記リフレーミング後のユーザの第2脳波情報を取得する第2脳波取得部と、
前記第1脳波情報および前記第2脳波情報に基づいて、ユーザの脳波情報がネガティブ状態かポジティブ状態かを予測するモデルを作成するモデル作成部と、
前記モデルを用いて、前記第2脳波情報を起こさせるニューロフィードバックを行うニューロフィードバック部と、
を備える情報処理装置。
続きを表示(約 990 文字)
【請求項2】
ジョブクラフティングスキル毎に当該ジョブクラフティングスキルに対応するアクションを設定し、前記リフレーミングした上で、前記ジョブクラフティングスキルとスタックポイントとを紐付け、前記スタックポイントと紐付けられる前記ジョブクラフティングスキルに対応する前記アクションを、ゲーミフィケーションを通じて実施するゲーミフィケーション部、を備える請求項1に記載の情報処理装置。
【請求項3】
前記ニューロフィードバックは、ユーザの脳波情報に基づいて前記モデルにより予測される感情に応じた音および映像の少なくとも一方の出力を行うことを含む、請求項1または2に記載の情報処理装置。
【請求項4】
前記モデル作成部は、1回目の前記リフレーミングの場合のみ前記モデルを作成する、請求項1に記載の情報処理装置。
【請求項5】
前記ニューロフィードバック部は、前記スタックポイントの苦痛度が閾値以上である場合に、前記ニューロフィードバックを行う、請求項4に記載の情報処理装置。
【請求項6】
情報処理装置で実行される情報処理方法であって、
スタックポイントに対するリフレーミング前のユーザの第1脳波情報を取得する工程と、
前記リフレーミング後のユーザの第2脳波情報を取得する工程と、
前記第1脳波情報および前記第2脳波情報に基づいて、ユーザの脳波情報がネガティブ状態かポジティブ状態かを予測するモデルを作成する工程と、
前記モデルを用いて、前記第2脳波情報を起こさせるニューロフィードバックを行う工程と、
を備える情報処理方法。
【請求項7】
コンピュータを、
スタックポイントに対するリフレーミング前のユーザの第1脳波情報を取得する第1脳波取得部と、
前記リフレーミング後のユーザの第2脳波情報を取得する第2脳波取得部と、
前記第1脳波情報および前記第2脳波情報に基づいて、ユーザの脳波情報がネガティブ状態かポジティブ状態かを予測するモデルを作成するモデル作成部と、
前記モデルを用いて、前記第2脳波情報を起こさせるニューロフィードバックを行うニューロフィードバック部と、
して機能させるためのプログラム。
発明の詳細な説明
【技術分野】
【0001】
本発明は、情報処理装置、情報処理方法、およびプログラムに関する。
続きを表示(約 3,100 文字)
【背景技術】
【0002】
2017年に米国の大手世論調査会社Gallup社が行った国際比較調査では、日本において「熱意のある」社員の割合はわずか6%に過ぎず、71%が「熱意のない」社員に該当し、23%は「全く熱意がない」社員であって、日本人社員の仕事への意欲は世界最低水準であることが報告されている(回答者数は約46万人)。
【0003】
「仕事は苦行」、日本人にはこんな観念が根強い印象がある。「『楽しく』なければ、仕事じゃない」ではなく、「『楽しくなく』なければ、仕事じゃない」そんなメンタリティーが日本人には根深いと考えている。国際調査で「世界一不安で、不満で、不幸な日本人労働者」の実態が浮かび上がっている。例えば、2019年12月に発表された、ワークライフバランス等に関するランスタッド社の国際調査によると、日本人の「仕事満足度」は世界最低である。2016年に発表された、社員のwellbeing(幸福度)を図る国際調査「エデンレッドイプソスバロメータ」でも、日本人会社員の「不幸度」が際立っている。日本人会社員の「不幸度」は、14位のイタリアの63%をはるかに下回る、44%と最下位を確保している。それにもかかわらず仕事を楽しく変えていく意欲も低いということが指摘されている。また、日本の一人当たりの労働生産性は、OECD主要先進7カ国の中で2008年以降は概略下位2位、2017年以降は最下位の状況に陥っている。労働生産性は複合的な要因によるものであって、必ずしも仕事への意欲の低さだけによるものではないが、少なくとも、その一要因として考えることはできる。人口減少社会に転じた日本において、今後も持続的な経済成長を実現し活力ある社会を維持していくためにも、社員個々人が生きがいを感じられる社会生活を送るためにも、自分の仕事への捉え方を変えて、仕事への意欲を高めることができることは重要と考えられる。
【0004】
経営科学の世界では、仕事の捉え方を自分で変えたり、楽しいものと捉えなおしたりするスキルをジョブクラフティングと呼んでおり、このジョブクラフティング、すなわち、『自分で仕事を楽しいものに変えるスキル』を伸ばしたいと考えている。
【0005】
特許文献1には、管理者に代わって動機付けキャンペーン及びゲーム化されたタスクリストの少なくとも一方を作成及び構成することを目的として、コンピュータが、履歴情報、期限、およびユーザ関連情報に関連する入力か、又は過去のタスク、現在のタスク、及びユーザメタデータに関連する情報に関連する入力を取得し、出力を生成するために入力に対して計算を実行し、出力に基づいて、キャンペーンのタイミング及びチーム構成か、又はタスクリスト及びポイント値を生成することが開示されている。
【発明の概要】
【発明が解決しようとする課題】
【0006】
しかしながら、特許文献1記載の技術は、生産的な目標に集中させる仕掛けとしては、効果的であると考えるが、動機付けキャンペーンが結果的に外発的であり、効果の継続性が弱い。また、特許文献1記載の技術は、自発的というよりは、仕事への強制感があり、本背景で挙げた項目に対しては効果が薄いと考えられる。
【0007】
本発明は、上記に鑑みてなされたものであって、自身の状態を認識し改善することができる、情報処理装置、情報処理方法、およびプログラムを提供することを目的とする。
【課題を解決するための手段】
【0008】
上述した課題を解決し、目的を達成するために、本発明は、スタックポイントに対するリフレーミング前のユーザの第1脳波情報を取得する第1脳波取得部と、前記リフレーミング後のユーザの第2脳波情報を取得する第2脳波取得部と、前記第1脳波情報および前記第2脳波情報に基づいて、ユーザの脳波情報がネガティブ状態かポジティブ状態かを予測するモデルを作成するモデル作成部と、前記モデルを用いて、前記第2脳波情報を起こさせるニューロフィードバックを行うニューロフィードバック部と、を備える。
【発明の効果】
【0009】
本発明によれば、自身の状態を認識し改善することができる、という効果を奏する。
【図面の簡単な説明】
【0010】
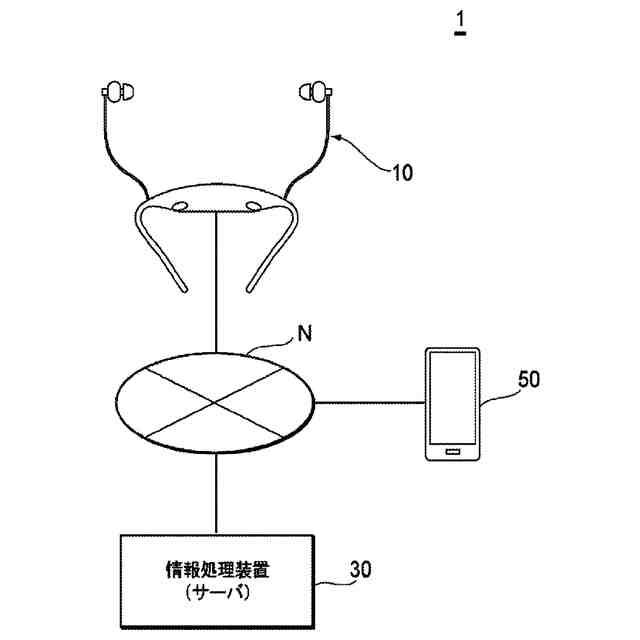
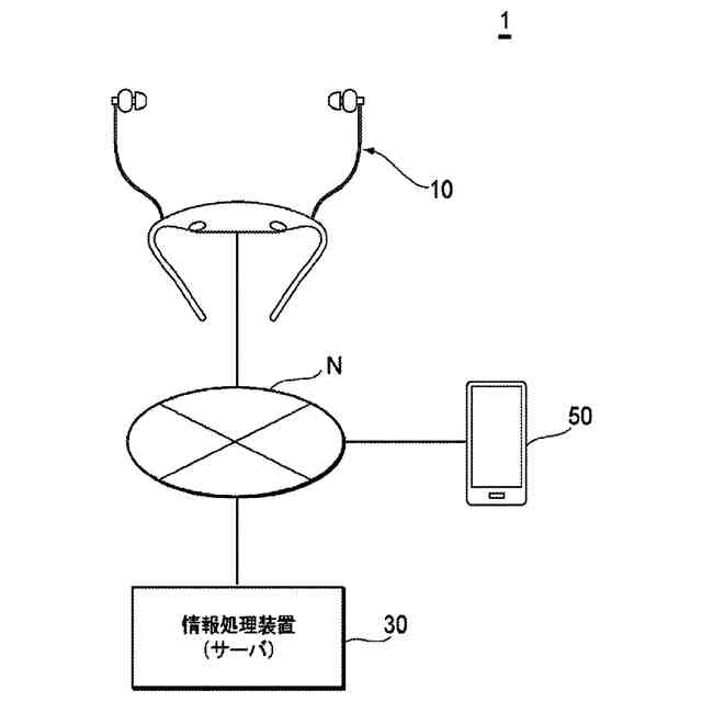
図1は、本実施の形態にかかる情報処理システムの構成の一例を示す図である。
図2は、本実施の形態にかかるイヤホンセットの概略の一例を説明するための図である。
図3は、本実施の形態にかかるイヤホンセットの概略の一例を説明するための図である。
図4は、本実施の形態にかかる情報処理システムが有する情報処理装置のハードウェア構成の一例を示す図である。
図5は、本実施の形態にかかる情報処理システムにおけるスタックポイントの設定処理の一例を説明するための図である。
図6は、本実施の形態にかかる情報処理システムにおける脳波情報の取得処理の一例を説明するための図である。
図7は、本実施の形態にかかる情報処理システムにおけるリフレーミングシートの作成処理の一例を説明するための図である。
図8は、本実施の形態にかかる情報処理システムにおけるリフレーミングシートの作成処理の一例を説明するための図である。
図9は、本実施の形態にかかる情報処理システムにおけるリフレーミングシートの作成処理の一例を説明するための図である。
図10Aは、本実施の形態にかかる情報処理システムにおけるニューロフィードバックの一例を説明するための図である。
図10Bは、本実施の形態にかかる情報処理システムにおけるニューロフィードバックの一例を説明するための図である。
図11は、ニューロフィードバック前後の仕事の主観的評価の一例を示す図である。
図12は、ニューロフィードバック前後の潜在指標の変化の一例を示す図である。
図13は、ニューロフィードバックによる仕事上のスタックポイントに対する態度変化の一例を示す図である。
図14は、ニューロフィードバックのセッション毎の脳波情報の一例を示す図である。
図15は、本実施の形態にかかる情報処理システムにおけるリフレーミングの流れの一例を示すフローチャートである。
図16は、本実施の形態にかかる情報処理システムにおけるリフレーミングによる仕事の苦痛度およびモチベーションの変化の一例を説明するための図である。
図17は、本実施の形態にかかる情報処理システムにおけるスタックポイント設定画面の一例を示す図である。
図18は、本実施の形態にかかる情報処理システムにおけるJCスキル毎のアクションのアクション設定画面の一例を示す図である。
図19は、本実施の形態にかかる情報処理システムにおける仕事に対する苦痛度の評価を行う評価画面の一例を示す図である。
図20は、本実施の形態にかかる情報処理システムにおけるゲーミフィケーションの結果表示画面の一例を示す図である。
図21は、本実施の形態にかかる情報処理システムにおけるゲーミフィケーションの結果表示画面の一例を示す図である。
【発明を実施するための形態】
(【0011】以降は省略されています)
この特許をJ-PlatPat(特許庁公式サイト)で参照する
関連特許
株式会社リコー
移動体
9日前
株式会社リコー
画像形成システム
14日前
株式会社リコー
印刷装置および印刷システム
14日前
株式会社リコー
液体吐出装置及び液体吐出方法
14日前
株式会社リコー
表示装置、切替方法、プログラム
今日
株式会社リコー
媒体処理装置及び画像形成システム
14日前
株式会社リコー
シート給紙装置、および画像形成装置
14日前
株式会社リコー
光源装置、画像投影装置および調整方法
今日
株式会社リコー
ノード、データ共有方法、及びプログラム
7日前
株式会社リコー
画像形成装置、及び、プロセスカートリッジ
今日
株式会社リコー
画像形成装置、情報処理方法およびプログラム
14日前
株式会社リコー
表示装置、表示方法、プログラム、表示システム
8日前
株式会社リコー
画像処理装置、画像処理方法、およびプログラム
14日前
株式会社リコー
画像形成装置、画像形成方法、およびプログラム
14日前
株式会社リコー
対話装置、対話システム、対話方法及びプログラム
7日前
株式会社リコー
情報処理装置、情報処理システムおよび情報処理方法
7日前
株式会社リコー
電気機器、画像形成装置、制御方法、及びプログラム
3日前
株式会社リコー
情報処理システム、情報処理装置および情報処理方法
7日前
株式会社リコー
液体吐出ヘッド、ヘッドモジュール及び液体吐出装置
14日前
株式会社リコー
情報処理システム、情報処理方法、および情報処理装置
14日前
株式会社リコー
液体吐出ヘッド、液体吐出ユニット及び液体を吐出する装置
14日前
株式会社リコー
液体吐出ヘッド、液体吐出ユニット及び液体を吐出する装置
14日前
株式会社リコー
情報処理装置、情報処理システム、情報処理方法、プログラム
14日前
株式会社リコー
障害物検出システム、移動体、プログラムおよび障害物検出方法
14日前
株式会社リコー
液体吐出装置、画像形成装置、液体吐出方法、およびプログラム
14日前
株式会社リコー
検索システム、プログラム、検索方法、および顧客選定システム
14日前
株式会社リコー
情報処理装置、情報処理システム、情報処理方法及びプログラム
9日前
株式会社リコー
情報処理装置、情報処理システム、情報処理方法及びプログラム
7日前
株式会社リコー
情報処理装置、画面作成方法、プログラム、及び情報処理システム
3日前
株式会社リコー
液体吐出ヘッド、液体吐出装置、および液体吐出ヘッドの製造方法
14日前
株式会社リコー
情報処理装置、レポート作成システム、プログラム、情報処理方法
14日前
株式会社リコー
手書き入力装置、手書き入力システム、手書き入力方法、プログラム
7日前
株式会社リコー
情報処理装置、情報処理方法、プログラム、および情報処理システム
7日前
株式会社リコー
液体吐出ヘッド、液体吐出ユニット、液体を吐出する装置およびアクチュエータ
14日前
株式会社リコー
アクチュエータ、液滴吐出ヘッド、ユニット、液滴吐出装置及び超音波診断装置
14日前
株式会社リコー
操作拡張ユニットと画像形成装置
14日前
続きを見る
他の特許を見る