TOP
|
特許
|
意匠
|
商標
特許ウォッチ
Twitter
他の特許を見る
10個以上の画像は省略されています。
公開番号
2025031173
公報種別
公開特許公報(A)
公開日
2025-03-07
出願番号
2023137215
出願日
2023-08-25
発明の名称
作業機械
出願人
日立建機株式会社
代理人
弁理士法人平木国際特許事務所
主分類
E02F
3/43 20060101AFI20250228BHJP(水工;基礎;土砂の移送)
要約
【課題】液状物質を攪拌しながらソナーで液状物質中の堆積状況を検知する場合、作業機械の動作によっては堆積している場所を隠してしまってソナーでの測定ができない可能性があるため、液状物質中に存在する堆積物の有無および箇所をより高精度に推定することができる作業機械を提供する。
【解決手段】コントローラ(40)は、液状物質を攪拌する自動動作中に、作業装置に作用する負荷から作業装置の速度の影響を除いた係数である性状パラメータを算出し、性状パラメータと作業装置の位置から性状マップを作成して性状変化位置を推定する。
【選択図】図7
特許請求の範囲
【請求項1】
下部構造体と、
前記下部構造体に対して旋回可能に取り付けられた上部旋回体と、
前記上部旋回体に対して回動可能に取り付けられた多関節型の作業装置と、
前記作業装置を駆動するアクチュエータと、
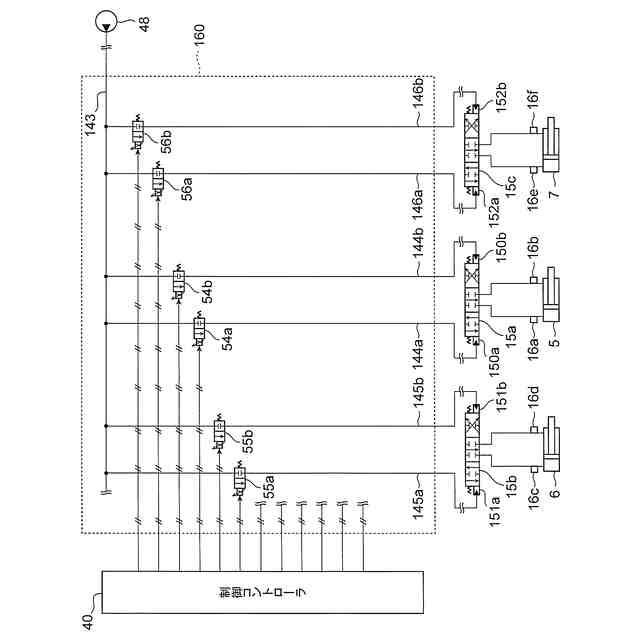
前記作業装置の各関節および前記上部旋回体の回動角度情報である姿勢情報を検出する姿勢検出装置と、
前記作業装置に作用する負荷を検出する負荷検出装置と、
前記作業装置の目標姿勢を算出して前記アクチュエータの動作を自動で制御するコントローラと、を備え、
前記コントローラは、
前記作業装置の少なくとも一部を液状物質中で動作している際に、
前記姿勢情報から前記作業装置の特定の少なくとも一点の位置である作業装置位置を算出し、
前記姿勢情報あるいは前記作業装置位置から前記作業装置の動作速度である作業装置速度を求め、前記負荷と前記作業装置速度から、前記負荷から前記作業装置速度の影響を除いた前記液状物質の粘性、硬度または密度を表す係数である性状パラメータを算出し、
前記性状パラメータと前記作業装置位置から、前記作業装置位置に対応する位置に前記性状パラメータの情報を関連付けた性状マップを作成することを特徴とする作業機械。
続きを表示(約 1,200 文字)
【請求項2】
請求項1に記載の作業機械において、
前記コントローラは、
前記姿勢情報から前記作業装置に設けられたバケットの位置であるバケット位置を算出し、
前記姿勢情報あるいは前記バケット位置から前記バケットの動作速度であるバケット速度を算出し、
前記作業装置速度として前記バケット速度を用いて前記性状パラメータを算出することを特徴とする作業機械。
【請求項3】
請求項2に記載の作業機械において、
前記液状物質の表面高さを検出する液面距離検出センサを更に備え、
前記コントローラは、
前記液面距離検出センサから受信した表面高さの情報から前記液状物質の液面高さを算出し、
前記液面高さと前記バケット位置の高さの差である潜行高さを更に演算し、
前記性状マップを作成する際に、前記バケット位置の高さの情報を前記潜行高さに置き換えることを特徴とする作業機械。
【請求項4】
請求項1に記載の作業機械において、
前記コントローラは、事前にボクセルマップを前記性状マップとして有しており、前記作業装置位置に対応する位置のセルに前記性状パラメータの情報を関連付けることを特徴とする作業機械。
【請求項5】
請求項1に記載の作業機械において、
前記コントローラは、前記作業装置位置に対応する位置に関連付けられた前記性状パラメータの値があらかじめ設定された値よりも大きい位置を性状変化位置として記録することを特徴とする作業機械。
【請求項6】
請求項1に記載の作業機械において、
前記コントローラは、同じ高さに対応する位置に関連付けられた前記性状パラメータのみを比較することで、性状変化位置を探索して記録することを特徴とする作業機械。
【請求項7】
請求項6に記載の作業機械において、
前記コントローラは、前記作業装置位置に対応する位置に関連付けられた前記性状パラメータの値が、隣接するいずれかの位置の前記性状パラメータより一定値以上大きい位置を性状変化位置として記録することを特徴とする作業機械。
【請求項8】
請求項1に記載の作業機械において、
前記性状マップの情報を受信して表示する表示装置を更に備えることを特徴とする作業機械。
【請求項9】
請求項1に記載の作業機械において、
前記負荷検出装置は、前記アクチュエータに供給されている圧油の圧力を検出する圧力センサであり、
前記コントローラは、
前記作業装置の少なくとも一部を液状物質中で動作している際に、
前記圧力センサから受信した前記アクチュエータに作用している圧油の圧力情報から、前記アクチュエータの駆動力を算出し、
前記駆動力と前記作業装置速度から、前記作業装置に作用する前記負荷を算出することを特徴とする作業機械。
発明の詳細な説明
【技術分野】
【0001】
本発明は、作業機械に係り、特に泥などの液状物質の攪拌作業を実行する機会のある作業機械に関する。
続きを表示(約 1,400 文字)
【背景技術】
【0002】
作業機械は土木工事のみならず様々な作業で使用されているが、近年では半自動や自動で作業を行う自動稼働作業機械の開発が進んでいる。こういった自動稼働作業機械は、オペレータが実施しなければならない操作の量を低減することができるのでオペレータの負担が減り、労働環境の改善につながると期待されている。
【0003】
ところで、土と水を攪拌して一様な泥水にするような、液状物質の攪拌作業に作業機械が使用されることもある。この作業を自動化する場合、液面下で堆積している土がどこにあるかを把握できないと、効率よく一様にすることができない。しかし、泥で水が濁っている状況がほとんどであり、赤外線センサでもカメラによる画像処理でも、液面下で土が堆積している箇所を検知できない。そこで、こういった状況でも土が堆積している箇所を特定する技術が必要となる。
【0004】
公知の技術として、ソナーを使用して液状物質中の地形を把握する技術が存在する(例えば、特許文献1)。
【先行技術文献】
【特許文献】
【0005】
特開2019-196624号公報
【発明の概要】
【発明が解決しようとする課題】
【0006】
特許文献1に記載の技術の場合、ソナーを使用するので、作業機械の動作によっては堆積している場所を隠してしまってソナーでの測定ができない可能性がある。
【0007】
本発明は、上記の事柄に基づいてなされたものであり、液状物質中に存在する堆積物の有無および箇所をより高精度に推定することができる作業機械を提供することを目的とする。
【課題を解決するための手段】
【0008】
上記の目的を達成するために、本発明の作業機械は、下部構造体と、前記下部構造体に対して旋回可能に取り付けられた上部旋回体と、前記上部旋回体に対して回動可能に取り付けられた多関節型の作業装置と、前記作業装置を駆動するアクチュエータと、前記作業装置の各関節および前記上部旋回体の回動角度情報である姿勢情報を検出する姿勢検出装置と、前記作業装置に作用する負荷を検出する負荷検出装置と、前記作業装置の目標姿勢を算出して前記アクチュエータの動作を自動で制御するコントローラと、を備え、前記コントローラは、前記作業装置の少なくとも一部を液状物質中で動作している際に、前記姿勢情報から前記作業装置の特定の少なくとも一点の位置である作業装置位置を算出し、前記姿勢情報あるいは前記作業装置位置から前記作業装置の動作速度である作業装置速度を求め、前記負荷と前記作業装置速度から、前記負荷から前記作業装置速度の影響を除いた前記液状物質の粘性、硬度または密度を表す係数である性状パラメータを算出し、前記性状パラメータと前記作業装置位置から、前記作業装置位置に対応する位置に前記性状パラメータの情報を関連付けた性状マップを作成する。
【発明の効果】
【0009】
本発明によると、作業速度の変化による影響を受けずに液状物質中に存在する堆積物の有無および箇所をより高精度に判別することが可能となる。
【0010】
上記した以外の課題、構成および効果は、以下の実施形態の説明により明らかにされる。
【図面の簡単な説明】
(【0011】以降は省略されています)
この特許をJ-PlatPat(特許庁公式サイト)で参照する
関連特許
他の特許を見る