TOP
|
特許
|
意匠
|
商標
特許ウォッチ
Twitter
他の特許を見る
10個以上の画像は省略されています。
公開番号
2024180040
公報種別
公開特許公報(A)
公開日
2024-12-26
出願番号
2023099462
出願日
2023-06-16
発明の名称
電力変換装置
出願人
マツダ株式会社
代理人
個人
,
個人
主分類
H02M
7/48 20070101AFI20241219BHJP(電力の発電,変換,配電)
要約
【課題】コネクタとバスバーとの接続に係る作業性を確保しながら、外観サイズの小型化を図ることができる電力変換装置を提供する。
【解決手段】電力変換装置は、ACバスバーモジュール151とコネクタ156とを含むACコネクタ部を備える。ACバスバーモジュール151は、3本のバスバー152~154を有する。各バスバー152~154は、連結部152c,153c,154cを有する。コネクタ156の接続箇所156b,156cは、接続箇所156aよりも車両前方側にオフセット配置されている。接続箇所156b,156cでコネクタ156に接続されるバスバー153,154の連結部153c,154cは、車両左方側からの側面視で、コネクタ156における接続箇所156a~156cが配された領域の外側を迂回するように配策されている。
【選択図】図7
特許請求の範囲
【請求項1】
n個(n:2以上の整数)のパワーモジュールを有するパワーモジュール部と、
前記n個のパワーモジュールのそれぞれに接続されたn本のバスバーと、前記n本のバスバーに接続され、外部機器との接続に供されるコネクタと、を有するコネクタ部と、
を備える電力変換装置であって、
前記n本のバスバーのそれぞれは、前記コネクタに対して接続される接続部と、前記n個のパワーモジュールのそれぞれに接続されるモジュール側接続部と、前記接続部と前記モジュール側接続部との間を連続的に連結する連結部と、を有し、
前記n個のパワーモジュールは、所定の方向である第1方向に沿って配された第1パワーモジュールと第2パワーモジュールとを含み、
前記コネクタは、前記n本のバスバーにおける前記接続部のそれぞれと接続されたn箇所の接続箇所であって、前記第1方向に交差する面内に配された前記n箇所の接続箇所を有し、
前記第1パワーモジュールに接続された前記バスバーを第1バスバーとし、当該第1バスバーの前記接続部を第1接続部とし、当該第1バスバーの前記連結部を第1連結部とし、前記第2パワーモジュールに接続された前記バスバーを第2バスバーとし、当該第2バスバーの前記接続部を第2接続部とし、当該第2バスバーの前記連結部を第2連結部とし、前記n箇所の接続箇所の内の、前記第1接続部が接続される箇所を第1接続箇所とし、前記第2接続部が接続される箇所を第2接続部とする場合に、
前記第1接続箇所と前記第2接続箇所とは、前記第1方向に交差する第2方向にオフセット配置されるとともに、前記第1接続箇所が前記第2方向で前記第2接続箇所よりも前記パワーモジュール部に近い部分に配置されており、
前記第2連結部は、前記第1連結部よりも長さが長く形成されているとともに、前記第1方向から見る場合に、前記コネクタにおける前記n箇所の接続箇所が配された領域の外側を迂回するように配策されている、
電力変換装置。
続きを表示(約 1,700 文字)
【請求項2】
前記コネクタ部は、前記外部機器との間で3相交流電力の入出力が可能なACコネクタ部であり、
前記nは3であり、
前記パワーモジュール部は、前記第1パワーモジュールおよび前記第2パワーモジュールに加えて、前記第1方向に沿って配された第3パワーモジュールを含み、
前記第3パワーモジュールに接続された前記バスバーを第3バスバーとし、当該第3バスバーの前記接続部を第3接続部とし、当該第3バスバーの前記連結部を第3連結部とし、前記n箇所の接続箇所の内の、前記第3接続部が接続される箇所を第3接続箇所とする場合に、
前記第1接続箇所、前記第2接続箇所、および前記第3接続箇所は、前記第1方向からの平面視で環状に配置されており、
前記第3連結部は、前記第1連結部よりも長さが長く形成されているとともに、前記第1方向からの平面視で、前記コネクタにおける前記n箇所の接続箇所が配された領域の外側を迂回するように配策されている、
請求項1に記載の電力変換装置。
【請求項3】
前記第1連結部、前記第2連結部、および前記第3連結部は、
前記第1連結部と前記第3連結部とが第1の所定箇所で互いに対向するとともに、当該第1の所定箇所では、前記第2連結部が、前記第1連結部および前記第2連結部と対向せず、
前記第2連結部と前記第3連結部とが第2の所定箇所で互いに対向するとともに、当該第2の所定箇所では、前記第1連結部が、前記第2連結部および前記第3連結部と対向しない、
ように配策されている、
請求項2に記載の電力変換装置。
【請求項4】
前記第1方向および前記第2方向の双方に交差する第3方向の一方側に開口部を有し、前記パワーモジュール部および前記コネクタ部を収容する筐体本体と、前記ケース本体の前記開口部を塞ぐ蓋とを有する筐体をさらに備え、
前記第2連結部および前記第3連結部は、前記コネクタにおける前記n箇所の接続箇所に対して、前記第3方向における前記開口部が設けられた前記一方側とは反対側に迂回するように配策されている、
請求項2に記載の電力変換装置。
【請求項5】
前記電力変換装置および前記外部機器は、車両に搭載されており、
前記第3方向における前記一方側は、前記車両の上側である、
請求項4に記載の電力変換装置。
【請求項6】
前記第2接続箇所は、前記第1接続箇所および前記第3接続箇所よりも、前記車両において想定される衝突荷重の入力方向側となる位置に配されており、
前記第2連結部は、前記第2接続部の近傍部分であって、前記第1連結部および前記第3連結部と離間した部分に前記車両の上下方向に延びるように設けられた部位を有する、
請求項5に記載の電力変換装置。
【請求項7】
前記外部機器は、前記車両の走行用のモータであるとともに、外殻としてのモータハウジングを有し、
前記車両には、前記外部機器に隣接して配置されるとともに、外殻としてのアクスルハウジングを有する変速機も搭載されており、
前記電力変換装置の前記筐体は、前記モータハウジングおよび前記アクスルハウジングの少なくとも一方のハウジング上で、前記コネクタ部が収容された部分が、前記パワーモジュール部が収容された部分よりも、前記車両において想定される衝突荷重の入力方向側となるように配設されており、且つ、当該筐体における前記衝突荷重の入力方向側の端部が、前記モータハウジングまたは前記アクスルハウジングと面一あるいはそれよりも前記入力方向とは反対側に後退した箇所に位置するように配設されている、
請求項5に記載の電力変換装置。
【請求項8】
前記n本のバスバーは、前記連結部が絶縁材料により一体にモールドされている、
請求項1から請求項6の何れかに記載の電力変換装置。
【請求項9】
前記コネクタ部は、更に前記モータの中性点へ接続される中性線バスバーが接続されている、
請求項1から請求項7の何れかに記載の電力変換装置。
発明の詳細な説明
【技術分野】
【0001】
本発明は、電力変換装置に関する。
続きを表示(約 1,400 文字)
【背景技術】
【0002】
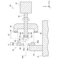
近年では、モータを走行用の駆動源として備える車両が増加している。このような車両では、モータに電力供給するための高電圧バッテリを搭載している。また、車両には、バッテリから供給された直流電力を交流電力に変換するための電力変換装置も搭載されている。
【0003】
電力変換装置とモータやバッテリとは、電力変換装置のコネクタに対してモータやバッテリから延びる配線に接続されたコネクタを接続することにより、互いの間の電力供給路が形成される。特許文献1には、モータとの電気接続のためのコネクタを有する電力変換装置が開示されている。
【0004】
特許文献1の電力変換装置では、ケースの一側壁に固定されたコネクタを備える。コネクタは、ケースの外方に向けて突出するように設けられた3つのプラグを有する。コネクタを当該コネクタが固定された上記一側壁の法線方向外側から見る場合に、プラグの中心が環状に配置されている。
【0005】
一方、コネクタとパワーモジュールとを電気接続する3本のバスバー(U相バスバー、V相バスバー、W相バスバー)は、それぞれがケース内方からコネクタに向けて延伸するように配策されている。3本のバスバーは、ケースの深さ方向における同じ高さ位置において、互いに上記一側壁の幅方向に離間し、且つ、並行するように配策されている。
【先行技術文献】
【特許文献】
【0006】
特許第5455887号公報
【発明の概要】
【発明が解決しようとする課題】
【0007】
ところで、車載用の電力変換装置に限らず、種々の用途で採用される電力変換装置に対しては、外観サイズの小型化を求められる。このように電力変換装置の外観サイズを小型化することで、全体的な装置の占有スペースを狭くすることができ、空間の有効利用が可能となる。
【0008】
しかしながら、従来技術に係る電力変換装置では、コネクタに接続される3本のバスバーをコンパクトに配設することが困難である。即ち、従来技術に係る電力変換装置では、コネクタへのバスバーの接続作業を考慮して、バスバー同士の隙間を大きくとる必要がある。仮に、従来技術のバスバーの配策形態を採用しつつ、バスバー同士の隙間を狭くしようとする場合には、各バスバーを長手方向に分割した上で、コネクタに各バスバーの要素を接続した後に、それぞれの要素に残りの要素を接続する作業が必要となることが考えられる。よって、このような形態を採用しようとする場合には、作業が煩雑になるとともに、部材数が増加してしまうこととなり、実際に採用するのは困難である。
【0009】
なお、上記では、電力変換装置における交流電力の入出力に係るコネクタを一例として問題点を提起したが、直流電力の入出力に係るコネクタでも同じ問題が生じ得る。
【0010】
本発明は、上記のような問題の解決を図ろうとなされたものであって、コネクタとバスバーとの接続に係る作業性を確保しながら、外観サイズの小型化を図ることができる電力変換装置を提供することを目的とする。
【課題を解決するための手段】
(【0011】以降は省略されています)
この特許をJ-PlatPat(特許庁公式サイト)で参照する
関連特許
個人
電気を重力で発電装置
1日前
トヨタ自動車株式会社
ステータの製造装置
1日前
個人
電線盗難防止方法及び電線盗難防止装置
8日前
トヨタ自動車株式会社
可変界磁ロータ
3日前
大阪瓦斯株式会社
充放電中継装置
1日前
大阪瓦斯株式会社
充放電中継装置
1日前
個人
電動自動車用同期電動機の変速方法と駆動制御装置
2日前
株式会社日立産機システム
電力変換装置
2日前
株式会社日立産機システム
キュービクル
3日前
株式会社豊田自動織機
双方向充電器
2日前
中国電力株式会社
落下物受止ネット
3日前
トヨタ自動車株式会社
車両制御装置
1日前
三菱重工業株式会社
インバータ装置及びその保護方法
8日前
トヨタ自動車株式会社
電力システム
8日前
三菱重工業株式会社
インバータ基板及びインバータ装置
8日前
トヨタ自動車株式会社
電力システム
2日前
矢崎総業株式会社
ジャンクションボックス
3日前
富士電機株式会社
制御回路および電源装置
3日前
ローム株式会社
三相ブラシレスモータのドライバ回路および駆動方法
2日前
個人
フライホイールエネルギー変換設備のフライホイール装置
8日前
トヨタ自動車株式会社
モータケースの製造方法
2日前
ミツミ電機株式会社
DC-DCコンバータおよび電源用半導体集積回路
8日前
富士電機株式会社
スイッチング制御回路、電源回路
1日前
国立大学法人信州大学
モータ用コイル基板
3日前
キヤノン株式会社
送電装置、送電装置が行う方法、およびプログラム
1日前
個人
複数の固定子が回転子を共用する回転電気機械およびその稼働方式
8日前
株式会社日立産機システム
情報収集装置、遠隔監視システム、キュービクル
3日前
株式会社プロテリアル
リニアモータ用電機子の製造方法及びリニアモータ用電機子
2日前
株式会社シーテック
ケーブル移動抑制方法およびたわみ抑制装置
1日前
安全索道株式会社
三相交流整流子電動機における速度制御システムの改修方法
8日前
株式会社デンソー
分割コアユニットの環状化組付装置、ステータコアの製造方法
2日前
三菱電機株式会社
充放電計画装置、充放電計画方法、及び充放電計画プログラム
2日前
ダイキン工業株式会社
電力管理装置、電力管理システム、電力管理方法及びプログラム
8日前
松尾建設株式会社
高効率再エネ発電グローバル制御システム、及び制御方法
3日前
住友電装株式会社
配線部材の配索構造
8日前
西芝電機株式会社
エンジン駆動式発電装置およびエンジン駆動式発電システム
2日前
続きを見る
他の特許を見る