TOP
|
特許
|
意匠
|
商標
特許ウォッチ
Twitter
他の特許を見る
公開番号
2025177743
公報種別
公開特許公報(A)
公開日
2025-12-05
出願番号
2024084815
出願日
2024-05-24
発明の名称
ポータブル型のガス検知警報器の保守点検支援システム
出願人
理研計器株式会社
代理人
個人
,
個人
主分類
G06Q
50/06 20240101AFI20251128BHJP(計算;計数)
要約
【課題】保守点検の依頼が容易でユーザーの負担を軽減することができると共に、コスト削減を図りつつ保守点検業務の運用管理を効率よく行うことのできるポータブル型のガス検知警報器の保守点検支援システムを提供すること。
【解決手段】製品登録がなされたガス検知警報器である登録機器について、保守点検業務支援装置40が第2のネットワーク15を介して提供するユーザー向けページでユーザー自身が行った保守点検依頼を受け、保守点検業務支援装置40が、依頼のあった登録機器である依頼機器のユーザー個人情報を参照して依頼機器の回収通知を作成し、第2のネットワーク15を介して配送業者側端末17に回収通知を送信することで依頼機器の回収の手配を行う。
【選択図】図1
特許請求の範囲
【請求項1】
ポータブル型のガス検知警報器の保守点検支援システムであって、
保守点検業務管理装置と、前記保守点検業務管理装置と第1のネットワークを介して接続されると共にガス検知器警報器のユーザーが操作するユーザー側端末と第2のネットワークを介して接続された保守点検業務支援装置を備え、
前記保守点検業務管理装置は、製品登録がなされたガス検知警報器である登録機器の製品情報、前記登録機器の保守点検情報および前記登録機器のユーザー個人情報を紐付した保守点検管理用データを記憶する保守点検管理用データ記憶手段を含み、
前記保守点検業務支援装置は、前記第2のネットワークを介してユーザー向けページを提供するWebページ提供手段と、前記登録機器のユーザーが前記ユーザー向けページ上で保守点検依頼用フォームに依頼情報を入力することによる保守点検依頼を受け付ける受付手段と、前記第1のネットワークを介して前記保守点検管理用データを前記保守点検業務管理装置から受信する通信手段と、保守点検依頼を受けて保守点検依頼のあった登録機器である依頼機器のユーザー個人情報を参照して前記依頼機器の回収通知を作成し、前記第2のネットワークを介して前記回収通知をあらかじめ指定された配送業者側端末に送信することで前記依頼機器の回収の手配を行う配送管理手段を含むことを特徴とするポータブル型のガス検知警報器の保守点検支援システム。
続きを表示(約 1,000 文字)
【請求項2】
前記受付手段は、保守点検依頼を受けて前記第1のネットワークを介して前記保守点検業務管理装置に記憶されている保守点検管理用データを参照して依頼機器を特定し、前記依頼機器に付与された機器管理用識別IDとは異なる配送管理用識別IDを作成することを特徴とする請求項1に記載のポータブル型のガス検知警報器の保守点検支援システム。
【請求項3】
前記保守点検業務支援装置は、保守点検依頼を受けて前記依頼機器の前記保守点検管理用データを参照して保守点検作業計画を作成する作業計画データ作成手段を含み、前記通信手段は、前記第1のネットワークを介して前記保守点検作業計画を前記保守点検業務管理装置に送信し、
前記保守点検業務管理装置は、前記依頼機器の実際の保守点検作業の進捗状況と前記保守点検作業計画とを比較することで前記依頼機器の作業状況を管理する作業状況管理手段を含むことを特徴とする請求項1に記載のポータブル型のガス検知警報器の保守点検支援システム。
【請求項4】
前記保守点検業務管理装置は、前記第1のネットワークを介して保守点検作業従事者が操作する作業者側端末から前記依頼機器の保守点検に係る実績データを受信し、前記依頼機器の保守点検管理用データを前記保守点検管理用データ記憶手段に更新記録する保守点検管理用データ更新記録手段を含み、
前記保守点検業務支援装置は、更新された保守点検管理用データを前記保守点検業務管理装置から前記第1のネットワークを介して受信して成績表データを作成し、前記成績表データを前記ユーザー向けページにアップデートする情報更新手段をさらに含むことを特徴とする請求項1に記載のポータブル型のガス検知警報器の保守点検支援システム。
【請求項5】
前記保守点検業務支援装置は、前記保守点検管理用データ記憶手段に記録されている保守点検管理用データを検索して定期的な保守点検が複数回行われている前記登録機器の保守点検の必要性の有無を前記保守点検管理用データに基づいて検出する監視手段をさらに含み、
前記保守点検業務支援装置は、前記第1のネットワークを介して前記保守点検業務管理装置から保守点検を必要とする前記登録機器の保守点検管理用データを受信し、前記第2のネットワークを介して保守点検案内通知を前記登録機器に係るユーザー側端末に送信することを特徴とする請求項1に記載のポータブル型のガス検知警報器の保守点検支援システム。
発明の詳細な説明
【技術分野】
【0001】
本発明は、ポータブル型のガス検知警報器の保守点検支援システムに関する。
続きを表示(約 2,400 文字)
【背景技術】
【0002】
一般に、ガス検知警報器においては、ガスセンサの検知性能が使用に伴って経時的にあるいは他の理由によって劣化して一定以下に低下すると、その用途の性質上、きわめて危険な状態となることから、正常動作を保証するために定期的な保守点検を行うことが必要とされる。
【0003】
例えば、定置型のガス検知警報器においては、ネットワーク技術を用いてガス検知警報器の保守点検時期の管理と通知を行う管理システムが知られている(例えば特許文献1参照)。この管理システムにおいては、ネットワークに接続されるガス検知警報器自体が保守点検時期を管理する機能を有しており、例えば保守点検時期が到来したときにガス検知警報器から保守点検サービス提供側端末に電子メールにより通知されるようになっている。
【先行技術文献】
【特許文献】
【0004】
特開2009-216557号公報
【発明の概要】
【発明が解決しようとする課題】
【0005】
而して、ポータブル型のガス検知警報器にあっては、ユーザー自身が保守点検時期を確認し、必要に応じて、ユーザー自身がガス検知警報器をサービス拠点等に持ち込むなどして保守点検の依頼を行っているのが実情である。
また、ガス検知警報器の保守点検を行うにあたって、ガス検知警報器を一旦預けて、状況を確認した後、保守点検作業を実施するため、時間的な余裕をもって保守点検を行う必要があった。
このように、ポータブル型のガス検知警報器の定期的な保守点検には、保守点検の依頼に手間がかかり、ユーザーの負担が大きいため、ガス検知警報器の定期的な保守点検自体が行われないことも少なくなく、ポータブル型のガス検知警報器の保守点検業務の運用、管理を効率よく行うことが困難であるのが実情であった。
【0006】
本発明は、このような事情に鑑みて完成されたものであって、保守点検の依頼が容易でユーザーの負担を軽減することができると共に、コスト削減を図りつつ保守点検業務の運用管理を効率よく行うことのできるポータブル型のガス検知警報器の保守点検支援システムを提供することを目的とする。
【課題を解決するための手段】
【0007】
本発明に係るポータブル型のガス検知警報器の保守点検支援システムは、保守点検業務管理装置と、前記保守点検業務管理装置と第1のネットワークを介して接続されると共にガス検知器警報器のユーザーが操作するユーザー側端末と第2のネットワークを介して接続された保守点検業務支援装置を備え、前記保守点検業務管理装置は、製品登録がなされたガス検知警報器である登録機器の製品情報、前記登録機器の保守点検情報および前記登録機器のユーザー個人情報を紐付した保守点検管理用データを記憶する保守点検管理用データ記憶手段を含み、前記保守点検業務支援装置は、前記第2のネットワークを介してユーザー向けページを提供するWebページ提供手段と、前記登録機器のユーザーが前記ユーザー向けページ上で保守点検依頼用フォームに依頼情報を入力することによる保守点検依頼を受け付ける受付手段と、前記第1のネットワークを介して前記保守点検管理用データを前記保守点検業務管理装置から受信する通信手段と、保守点検依頼を受けて保守点検依頼のあった登録機器である依頼機器のユーザー個人情報を参照して前記依頼機器の回収通知を作成し、前記第2のネットワークを介して前記回収通知をあらかじめ指定された配送業者側端末に送信することで前記依頼機器の回収の手配を行う配送管理手段を含む構成とすることにより、上記課題を解決するものである。
【発明の効果】
【0008】
本請求項1に係る発明によれば、ユーザーはネットワークを利用してガス検知警報器の保守点検依頼を行うことができると共に配送業者がガス検知警報器の回収を行うので、保守点検に係るユーザーの負担を大幅に軽減することが可能であり、保守点検が必要とされるガス検知警報器の回収率の向上を期待できる。しかも、ユーザーからの保守点検依頼を受けて、保守点検業務に係る一連の処理を行うことができるため、コスト削減を図りつつ、ガス検知警報器の定期的な保守点検業務の運用、管理を容易にかつ効率よく実施することが可能となる。
【0009】
本請求項2に係る発明によれば、保守点検業務の管理に用いられる機器管理用識別IDとは異なる配送管理用IDを用いることで、配送業者と保守点検業務の管理に係る情報を共有することなく、依頼機器の配送管理を行うことが可能であり、遅滞なく依頼機器の搬送を行うことが可能となる。
本請求項3に係る発明によれば、保守点検作業計画に基づいて実際の作業状況に応じた保守点検業務を行うことができるため、保守点検業務の運用、管理を容易にかつ効率よく実施することが可能となる。
本請求項4に係る発明によれば、ユーザーが保守点検作業後のガス検知警報器の成績表をユーザー向けページ上で確認することができるので、保守点検業務の運用、管理を容易にかつ効率よく実施することが可能であると共に、コスト低減を図ることが可能である。
本請求項5に係る発明によれば、定期的な保守点検を複数回行っている登録機器を対象として、定期的な保守点検時期が到来したときにユーザーに対して保守点検案内通知が自動的に送信されることで、保守点検業務の運用、管理を容易にかつ効率よく実施することが可能となる。
【図面の簡単な説明】
【0010】
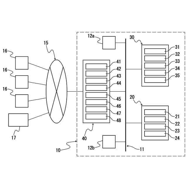
本発明の一実施形態に係るポータブル型のガス検知警報器の保守点検支援システムの一例における全体構成を概略的に示す図である。
【発明を実施するための形態】
(【0011】以降は省略されています)
この特許をJ-PlatPat(特許庁公式サイト)で参照する
関連特許
理研計器株式会社
ガス検知装置
21日前
理研計器株式会社
電気化学式ガスセンサ、電気化学式ガス測定方法
3か月前
理研計器株式会社
ポータブル型のガス検知警報器の保守点検支援システム
6日前
個人
立体グラフの利用方法
6日前
個人
生体情報の登録システム
今日
NISSHA株式会社
入力装置
7日前
個人
データ復元システム
1日前
個人
学習用データ生成装置
8日前
個人
ナショナルブランド共同ストア
今日
日本信号株式会社
情報読取装置
今日
キラル株式会社
顧客体験提供システム
9日前
キヤノン電子株式会社
情報処理システム
6日前
個人
請求金額算出システム
13日前
アクア株式会社
冷蔵庫
今日
株式会社萬富
情報処理システム
今日
株式会社デンソー
電子制御装置
1日前
株式会社結設計
建築物再利用システム
6日前
コクヨ株式会社
レイアウト計画システム
1日前
株式会社ホリケン
施工協力会データ集計システム
6日前
株式会社セガ
プログラム及び情報処理装置
2日前
株式会社セガ
プログラム及び情報処理装置
2日前
長瀬印刷株式会社
撮影場所特定装置
6日前
株式会社野村総合研究所
電子契約システム
13日前
株式会社ネオマルス
ポイント付与システム
6日前
個人
インスタグラム自動アカウント運用システム
2日前
安藤株式会社
コミュニケーションシステム
今日
個人
電子文書データ、電子文書の閲覧用電子機器
13日前
三菱電機株式会社
移動体管理システム
今日
アルプスアルパイン株式会社
入力装置
13日前
コモタ株式会社
カード挿入機構
今日
愛知製鋼株式会社
検査システム及び検査方法
8日前
株式会社デンソー
電子制御装置
6日前
日立建機株式会社
電力管理システム
6日前
トヨタ自動車株式会社
方法
6日前
個人
コンテンツ潜在記憶解析方法
今日
Arithmer株式会社
支援装置、および支援方法
6日前
続きを見る
他の特許を見る