TOP
|
特許
|
意匠
|
商標
特許ウォッチ
Twitter
他の特許を見る
10個以上の画像は省略されています。
公開番号
2025177039
公報種別
公開特許公報(A)
公開日
2025-12-05
出願番号
2024083526
出願日
2024-05-22
発明の名称
建物構造および柱側せっこうボード下地
出願人
大和ハウス工業株式会社
代理人
個人
主分類
E04B
2/56 20060101AFI20251128BHJP(建築物)
要約
【課題】建物の梁と梁の間でこれら梁を支持する四角柱の屋内側にせっこうボードを効率的に取り付けることができる建物構造を提供する。
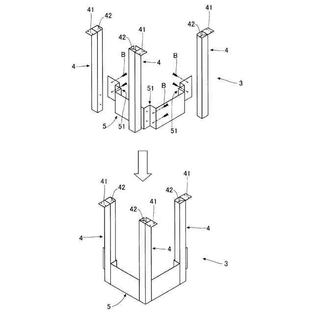
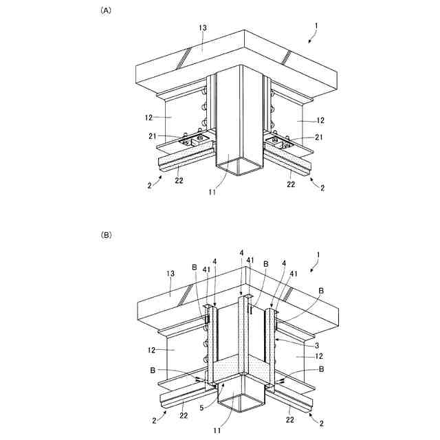
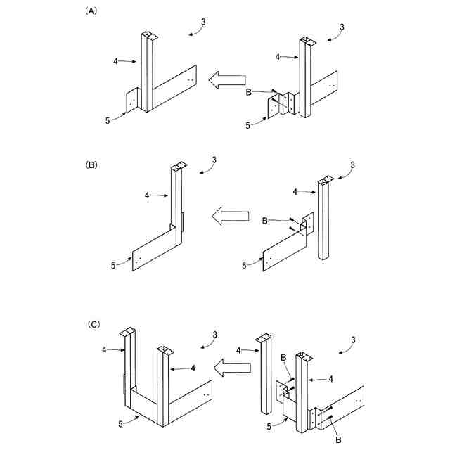
【解決手段】建物構造は、建物の四角柱11の屋根近傍位置に接続される梁12の下面側に取り付けられる固定用部材2と、四角柱11における1つまたは複数の柱コーナー部に角部を向けて配置され、上部側が建物の屋根構成材13に固定される1つまたは複数の四角筒部材4と、柱コーナー部に角箇所の凸角側を突き付けて配置されるとともに、上記凸角側の裏面の凹角側に各四角筒部材4の下部が固定され、且つ、左右の端部が固定用部材2に固定される曲げ板部材5と、四角筒部材4に固定されて四角柱11の屋根近傍位置の屋内側および梁12の屋内側を覆うせっこうボード6と、を備える
【選択図】図1
特許請求の範囲
【請求項1】
建物の四角柱の屋根近傍位置に接続される梁の下面側に取り付けられる固定用部材と、
上記四角柱における1つまたは複数の柱コーナー部に角部を向けて配置され、上部側が建物の屋根構成材に固定される1つまたは複数の四角筒部材と、
上記柱コーナー部に角箇所の凸角側を突き付けて配置されるとともに、上記凸角側の裏面の凹角側に上記の各四角筒部材の下部が固定され、且つ、左右の端部が上記固定用部材に固定される曲げ板部材と、
上記四角筒部材に固定されて上記四角柱の屋根近傍位置の屋内側を覆うせっこうボードと、
を備えることを特徴とする建物構造。
続きを表示(約 880 文字)
【請求項2】
請求項1に記載の建物構造において、上記曲げ板部材と上記四角筒部材は別個の部材であり、上記曲げ板部材と上記四角筒部材とが締結部材によって立体的に組み立て可能であることを特徴とする建物構造。
【請求項3】
請求項2に記載の建物構造において、上記締結部材としての螺子が上記曲げ板部材の側から上記四角筒部材の側面にねじ込まれることを特徴とする建物構造。
【請求項4】
請求項1に記載の建物構造において、上記四角筒部材は、当該四角筒部材の上端に一体的に形成された上端曲げ片部が締結部材によって、上記屋根構成材に固定されることを特徴とする建物構造。
【請求項5】
請求項1に記載の建物構造において、上記曲げ板部材の下部側に、当該下部側が折り曲げられて断面略コ字状をなす曲げ部を有することを特徴とする建物構造。
【請求項6】
請求項5に記載の建物構造において、上記曲げ部の端面が上記角箇所となる面部に当たることを特徴とする建物構造。
【請求項7】
請求項1に記載の建物構造において、上記固定用部材は、上記梁の下面側に取り付けられた天井内壁固定金物の屋内側に留め付けられるランナーからなることを特徴とする建物構造。
【請求項8】
建物の四角柱の屋根近傍位置に配置されるせっこうボードを留め付けるための柱側せっこうボード下地であって、上記四角柱における1つまたは複数の柱コーナー部に角部を向けて配置される四角筒部材と、上記柱コーナー部に角箇所の凸角側を突き付けて配置されるとともに、上記凸角側の裏面の凹角側に上記の各四角筒部材の下部が固定される曲げ板部材と、を備えることを特徴とする柱側せっこうボード下地。
【請求項9】
請求項8に記載の柱側せっこうボード下地において、上記曲げ板部材と上記四角筒部材は別個の部材であり、上記曲げ板部材と上記四角筒部材とが締結部材によって立体的に組み立て可能であることを特徴とする柱側せっこうボード下地。
発明の詳細な説明
【技術分野】
【0001】
この発明は、建物の梁と梁の間でこれら梁を支持する四角柱の屋内側にせっこうボードが取り付けられる建物構造および上記せっこうボードの取り付け下地となる柱側せっこうボード下地に関する。
続きを表示(約 1,500 文字)
【背景技術】
【0002】
特許文献1には、せっこうボード取付金物が開示されている。このせっこうボード取付金物は、本体部と、上側挟持部と、下側挟持部とを備えており、建物躯体であるH型鋼梁の上フランジ部と下フランジ部の間に設けられる。上記せっこうボード取付金物のボード取付面には、せっこうボードが上下階に渡るように設けられる。上記上側挟持部は、受け板部および押圧バネ片部を備えており、上記せっこうボード取付面と反対の面の側で上記上フランジ部を挟み込む。
【先行技術文献】
【特許文献】
【0003】
特開2015-183497号公報
【発明の概要】
【発明が解決しようとする課題】
【0004】
しかしながら、上記のせっこうボード取付金物は、建物の梁と梁の間でこれら梁を支持する四角柱の屋内側にせっこうボードを取り付ける下地とするには好適なものではなかった。
【0005】
この発明は、上記の事情に鑑み、建物の梁と梁の間でこれら梁を支持する四角柱の屋内側にせっこうボードを効率的に取り付けることができる建物構造および上記せっこうボードの取り付け下地となる柱側せっこうボード下地を提供することを課題とする。
【課題を解決するための手段】
【0006】
この発明の建物構造は、上記の課題を解決するために、建物の四角柱の屋根近傍位置に接続される梁の下面側に取り付けられる固定用部材と、
上記四角柱における1つまたは複数の柱コーナー部に角部を向けて配置され、上部側が建物の屋根構成材に固定される1つまたは複数の四角筒部材と、
上記柱コーナー部に角箇所の凸角側を突き付けて配置されるとともに、上記凸角側の裏面の凹角側に上記の各四角筒部材の下部が固定され、且つ、左右の端部が上記固定用部材に固定される曲げ板部材と、
上記四角筒部材に固定されて上記四角柱の屋根近傍位置の屋内側を覆うせっこうボードと、
を備えることを特徴とする。
【0007】
上記の構成であれば、上記四角柱の屋内側に、上記四角筒部材の側面によって、上記四角柱の側面から離間して当該側面に平行に位置するボード取付下地面が形成される。そして、上記ボード取付下地面によって、当該四角柱の側面の側に、当該側面に平行に上記せっこうボードを容易に取り付けることができ、上記四角柱の屋根近傍位置の屋内側が上記せっこうボードによって覆われる建物構造を効率的に構築することができる。
【0008】
上記曲げ板部材と上記四角筒部材は別個の部材であり、上記曲げ板部材と上記四角筒部材とが締結部材によって立体的に組み立て可能であってもよい。これによれば、現場への資材搬送に際しては、上記曲げ板部材と上記四角筒部材を分離状態にして積荷空間を効率的に利用し、現場で上記曲げ板部材と上記四角筒部材とを締結部材によって立体的に組み立てることができる。
【0009】
上記締結部材としての螺子が上記曲げ板部材の側から上記四角筒部材の側面にねじ込まれてもよい。これによれば、締結部材としての螺子の頭部が上記四角筒部材の側面上に存在しない構造とすることができる。
【0010】
上記四角筒部材は、当該四角筒部材の上端に一体的に形成された上端曲げ片部が締結部材によって、上記屋根構成材に固定されてもよい。これによれば、上記四角筒部材の上記屋根構成材側への固定が堅固になる。
(【0011】以降は省略されています)
この特許をJ-PlatPat(特許庁公式サイト)で参照する
関連特許
個人
接合構造
2か月前
個人
屋台
2か月前
個人
タッチミー
2か月前
個人
野良猫ハウス
3か月前
個人
フェンス
3か月前
個人
安心補助てすり
1か月前
個人
転落防止用手摺
3か月前
個人
筋交自動設定装置
2か月前
個人
居住車両用駐車場
3か月前
積水樹脂株式会社
柵体
3か月前
個人
ベンリナアングル
2か月前
ニチハ株式会社
建築板
3か月前
個人
熱抵抗多層断熱建材
3か月前
個人
免震建築構造
4日前
個人
柵
4か月前
個人
補強部材
3か月前
個人
住宅の省エネ方法
今日
成友建設株式会社
建物
3か月前
個人
防災建築物
1か月前
鹿島建設株式会社
壁体
3か月前
株式会社フジタ
合成床
4日前
株式会社シンケン
住宅
1か月前
個人
身体用シェルター
2か月前
個人
身体用シェルター
2か月前
三協立山株式会社
構造体
2か月前
三協立山株式会社
構造体
2か月前
三協立山株式会社
構造体
2か月前
三協立山株式会社
構造体
2か月前
株式会社熊谷組
吊り治具
2か月前
三協立山株式会社
構造体
2か月前
個人
可搬型供養墓
2か月前
三協立山株式会社
構造体
27日前
株式会社熊谷組
床構成材
2か月前
三協立山株式会社
構造体
1か月前
インターマン株式会社
天井構造
3か月前
三協立山株式会社
構造体
1か月前
続きを見る
他の特許を見る