TOP
|
特許
|
意匠
|
商標
特許ウォッチ
Twitter
他の特許を見る
公開番号
2025176466
公報種別
公開特許公報(A)
公開日
2025-12-04
出願番号
2024082644
出願日
2024-05-21
発明の名称
スラグの還元方法
出願人
株式会社資源活用技術研究所
代理人
弁理士法人三枝国際特許事務所
主分類
C22B
7/04 20060101AFI20251127BHJP(冶金;鉄または非鉄合金;合金の処理または非鉄金属の処理)
要約
【課題】有価金属を効率よく回収することができるスラグの還元方法を提供する。
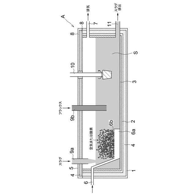
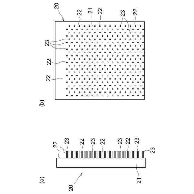
【解決手段】本発明は、スラグ処理容器A内にて、酸化鉄を含有するスラグを還元剤Aにより還元反応を行う工程1を備え、還元剤Aは、一酸化炭素ガスおよび水素ガスからなる群より選ばれる少なくとも1種であり、スラグ処理容器Aは、外殻1と、耐火物層2と、内層3とを少なくとも備え、内層3は前記スラグと接触する層であると共に耐火物層2を被覆するように形成されており、内層3はステンレス系鋼板または耐熱鋼板で形成され、スラグ処理容器A内には、金属回収盤20が配置されており、金属回収盤20は、表面から突出する釘状突起23が形成されており、金属回収盤20および釘状突起23には銅メッキ層22が形成されており、前記還元反応で生成する金属を前記銅メッキ層に吸収させて回収する。
【選択図】図1
特許請求の範囲
【請求項1】
スラグ処理容器内にて、酸化鉄を含有するスラグを還元剤Aにより還元反応を行う工程1を備え、
前記還元剤Aは、一酸化炭素ガスおよび水素ガスからなる群より選ばれる少なくとも1種であり、
前記スラグ処理容器は、
外殻と、耐火物層と、内層とを少なくとも備え、
前記内層は前記スラグと接触する層であると共に前記耐火物層を被覆するように形成されており、
前記内層はステンレス系鋼板または耐熱鋼板で形成され、
前記スラグ処理容器内には、金属回収盤が配置されており、
該金属回収盤は、表面から突出する釘状突起が形成されており、
前記金属回収盤および前記釘状突起には銅メッキ層が形成されており、
前記還元反応で生成する金属を前記銅メッキ層に吸収させて回収する、スラグの還元方法。
続きを表示(約 430 文字)
【請求項2】
前記金属回収盤の前記釘状突起側の面に対向するように堰が設けられ、
前記堰はステンレス系鋼板または耐熱鋼板で形成されており、
当該堰の前記釘状突起に対向している面にはガス噴出口が複数設けられている、請求項1に記載のスラグの還元方法。
【請求項3】
前記堰の前記ガス噴出口から前記還元剤Aを噴出させて前記釘状突起間へ流入させることで、前記還元反応で生成する金属を前記銅メッキ層に吸収させる、請求項2に記載のスラグの還元方法。
【請求項4】
前記工程1での還元剤Aによる還元反応に先立って、炭化水素ガスを還元剤として用いた前記スラグの還元反応を行う工程1´をさらに具備する、請求項1または2に記載のスラグの還元方法。
【請求項5】
前記外殻は普通鋼で形成されており、
前記外殻と前記耐火物層との間には断熱材層が設けられている、請求項1または2に記載のスラグの還元方法。
発明の詳細な説明
【技術分野】
【0001】
本発明は、スラグの還元方法に関する。
続きを表示(約 2,500 文字)
【背景技術】
【0002】
従来、銅製錬は、銅精鉱を自溶炉などで焙焼する方法によって行われている。この銅製錬によって銅等の必要な金属を回収することができ、残渣部分はいわゆる「スラグ」あるいは自溶炉スラグと称される副産物となる。銅製錬によって生じたスラグから、更に金属を回収する方法も広く検討されている。
【0003】
例えば、特許文献1には、スラグから有価金属を回収する方法が開示されている。特に特許文献1に開示される技術では、スラグ(銅製錬スラグ)を、フラックスの存在下で酸素含有ガスを用いて酸化する工程1と、工程1で得られる酸化後の反応物と、Cu-Fe合金浴とを接触させる工程2と、工程3で得られる接触後のCu-Fe合金浴を製錬工程に供し、有価金属を回収する工程を具備するものである。より具体的には、特許文献1に開示される技術は、スラグから有価金属を回収する技術として二段階を示しており、第一段階の有価金属を回収する技術を「ソフト還元」、第二段階の有価金属を回収する技術を「ハード還元」と命名している。「ソフト還元」技術は、FeOより還元され易い金属酸化物だけを還元して溶融Cu中へ回収し、スラグ中にFeOを残留させる。他方、「ハード還元」は、スラグ中に残留させたFeOを、炭素飽和溶鉄中のCを還元剤として還元し、同時に生成するFeを炭素飽和溶鉄として吸収するものである。
【0004】
特許文献1に開示される技術では、ソフト還元に先立ってスラグの酸化処理を行っている。特許文献1に開示される酸化処理とは、再溶解させた水砕スラグに酸素を吹き込んで、該スラグ中の硫化物を全て酸化物に変化させる処理である。特許文献1に開示の技術で酸化処理を必要とする理由は、スラグ中のCuは大部分が実際には硫化物のマット粒であり、Cu
2
Sが銅ロスの主体を占め得るからである。すなわち、Cu
2
Sから出発する場合、還元処理によってCuを還元し回収することができないため、特許文献1に開示の技術では、スラグに酸素を吹き付けてCu
2
SをCu
2
Oにし、その後、Cu-Fe合金のFeで還元を行うのである。
【0005】
具体的には、特許文献1に開示される技術では、スラグ中の有価金属(Cu、Sn、Pb、Sb、Mo等)の酸化物を、液相のCu-Fe合金中のFeを還元剤として使用し、Cu-Fe合金液滴の表面で還元反応をさせると同時に、還元により発生する有価金属(例えば、Cu、Sn、Pb、Sb、Mo等)をCu-Fe合金液滴中へ吸収する方法である。
【先行技術文献】
【特許文献】
【0006】
特許第6516264号公報
【発明の概要】
【発明が解決しようとする課題】
【0007】
近年、さらに効率よく銅製錬スラグから有価金属を回収する技術の構築が求められている。本発明は、上記に鑑みてなされたものであり、有価金属を効率よく回収することができるスラグの還元方法を提供することを目的とする。
【課題を解決するための手段】
【0008】
本発明者は、上記目的を達成すべく鋭意研究を重ねた結果、所定の還元方法を利用することにより、上記目的を達成できることを見出し、本発明を完成するに至った。
【0009】
すなわち、本発明は、例えば、以下の項に記載の主題を包含する。
項1
スラグ処理容器内にて、酸化鉄を含有するスラグを還元剤Aにより還元反応を行う工程1を備え、
前記還元剤Aは、一酸化炭素ガスおよび水素ガスからなる群より選ばれる少なくとも1種であり、
前記スラグ処理容器は、
外殻と、耐火物層と、内層とを少なくとも備え、
前記内層は前記スラグと接触する層であると共に前記耐火物層を被覆するように形成されており、
前記内層はステンレス系鋼板または耐熱鋼板で形成され、
前記スラグ処理容器内には、金属回収盤が配置されており、
該金属回収盤は、表面から突出する釘状突起が形成されており、
前記金属回収盤および前記釘状突起には銅メッキ層が形成されており、
前記還元反応で生成する金属を前記銅メッキ層に吸収させて回収する、スラグの還元方法。
項2
前記金属回収盤の前記釘状突起側の面に対向するように堰が設けられ、
前記堰はステンレス系鋼板または耐熱鋼板で形成されており、
当該堰の前記釘状突起に対向している面にはガス噴出口が複数設けられている、項1に記載のスラグの還元方法。
項3
前記堰の前記ガス噴出口から前記還元剤Aを噴出させて前記釘状突起間へ流入させることで、前記還元反応で生成する金属を前記銅メッキ層に吸収させる、項2に記載のスラグの還元方法。
項4
前記工程1での還元剤Aによる還元反応に先立って、炭化水素ガスを還元剤として用いた前記スラグの還元反応を行う工程1´をさらに具備する、項1~3のいずれか1項に記載のスラグの還元方法。
項5
前記外殻は普通鋼で形成されており、
前記外殻と前記耐火物層との間には断熱材層が設けられている、項1~4のいずれか1項に記載のスラグの還元方法。
項6
前記スラグ処理容器は、外部から溶融Cuを供給するための溶融Cu供給管を備え、該溶融Cu供給管は、管内の溶融Cuをスラグ処理容器内に流出させるための複数の穴が形成され、該溶融Cu供給管は、前記金属回収盤に近接する位置に、金属回収盤の幅方向の全域にわたるように配置されている、項1~5のいずれか1項に記載のスラグの還元方法。
【発明の効果】
【0010】
本発明のスラグの還元方法では、容器の浸食が起こりにくく、かつ、有価金属を効率よく回収することができる。
【図面の簡単な説明】
(【0011】以降は省略されています)
この特許をJ-PlatPat(特許庁公式サイト)で参照する
関連特許
個人
銅鉄合金の製造
4か月前
日本製鉄株式会社
鋳片
6日前
個人
高強度せん断補強筋用の鋼材
7か月前
宏幸株式会社
金属回収方法
7か月前
JX金属株式会社
鉛の回収方法
1か月前
株式会社神戸製鋼所
鋼材
7か月前
JX金属株式会社
鉛の回収方法
1か月前
古河電気工業株式会社
銅線
1か月前
三菱マテリアル株式会社
切削工具
1か月前
株式会社神戸製鋼所
銅合金
29日前
株式会社神戸製鋼所
銅合金板
3か月前
日本製鉄株式会社
鋼材
7か月前
日本製鉄株式会社
鋼材
3か月前
日本製鉄株式会社
鋼材
6か月前
日本製鉄株式会社
鋼材
7か月前
日本製鉄株式会社
線材
5か月前
日本製鉄株式会社
鋼線
5か月前
住友金属鉱山株式会社
金属の抽出方法
1か月前
日本製鉄株式会社
鋼材
4か月前
日本製鉄株式会社
鋼材
3か月前
日本製鉄株式会社
鋼材
3か月前
日本製鉄株式会社
鋼材
7か月前
日本製鉄株式会社
鋼材
3か月前
株式会社神戸製鋼所
ボルト用鋼
1か月前
大同特殊鋼株式会社
鋼材及び金型
4か月前
日本製鉄株式会社
ボルト
2か月前
大同メタル工業株式会社
摺動材料
4か月前
株式会社神戸製鋼所
浸炭窒化鋼材
1か月前
日本製鉄株式会社
鋼部品
1か月前
日本製鉄株式会社
ボルト
3か月前
日本製鉄株式会社
鋼部品
1か月前
日本製鉄株式会社
焼結鉱の製造方法
27日前
住友金属鉱山株式会社
銅の製造方法
4か月前
大同特殊鋼株式会社
放熱材料
1か月前
日本製鉄株式会社
鉄道車輪
6か月前
日本製鉄株式会社
鉄道車輪
6か月前
続きを見る
他の特許を見る